LEMON Manuals: Even more car manuals for everyone
Home >> Lexus >> 2013 >> IS 250C Base >> Repair and Diagnosis (Single Page) >> Accessories & Equipment >> Infotainment >> Navigation System (Diagnostic Codes & Circuit Tests) >> Navigation System >> Circuit Tests >> Steering Pad Switch Circuit >> Procedure

Steering Pad Switch Circuit: Procedure

  1. CHECK HARNESS AND CONNECTOR (STEERING PAD SWITCH SIGNAL) 
    1. Disconnect the J114 multimedia module receiver assembly connector.
    2. Measure the resistance according to the value(s) in the table below.

      Standard Resistance

      Tester Connection Condition Specified Condition
      J114-30 (SW1) - J114-32 (SWG) No switch pushed 95 to 105 kΩ
      Seek+ switch pushed Below 2.5 Ω
      Seek- switch pushed 312 to 345 Ω
      Volume+ switch pushed 950 to 1050 Ω
      Volume- switch pushed 2954 to 3265 Ω
      J114-31 (SW2) - J114-32 (SWG) No switch pushed 95 to 105 kΩ
      MODE switch pushed Below 2.5 Ω
      On hook switch pushed 312 to 345 Ω
      Off hook switch pushed 950 to 1050 Ω
      Voice switch pushed 2954 to 3265 Ω

    NG → See step   2 

    OK → See step   4 

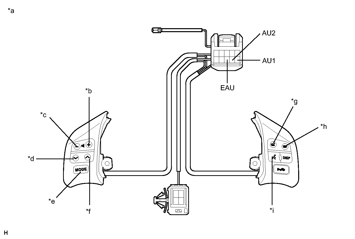
  2. INSPECT STEERING PAD SWITCH ASSEMBLY 
    1. Remove the steering pad switch assembly.
    2. Measure the resistance according to the values in the table below.
      GTY402598Courtesy of © TOYOTA, LICENSE AGREEMENT TMS1002

      Standard Resistance

      Tester Connection Condition Specified Condition
      10 (AU1) - 8 (EAU) No switch pushed 95 to 105 kΩ
      Seek+ switch pushed Below 2.5 Ω
      Seek- switch pushed 312 to 345 Ω
      Volume+ switch pushed 950 to 1050 Ω
      Volume- switch pushed 2954 to 3265 Ω
      9 (AU2) - 8 (EAU) No switch pushed 95 to 105 kΩ
      MODE switch pushed Below 2.5 Ω
      On hook switch pushed 312 to 345 Ω
      Off hook switch pushed 950 to 1050 Ω
      Voice switch pushed 2954 to 3265 Ω
      TEXT IN ILLUSTRATION

      *a Component without harness connected
      (Steering Pad Switch Assembly)
      *b Volume+
      *c Volume- *d Seek-
      *e MODE *f Seek+
      *g Off hook *h On hook
      *i Voice - -

    NG → See step   6 

    OK: Go to next step 

  3. INSPECT SPIRAL CABLE SUB-ASSEMBLY 
    1. Remove the spiral cable sub-assembly.
    2. Measure the resistance according to the value(s) in the table below.
      GTY414983Courtesy of © TOYOTA, LICENSE AGREEMENT TMS1002

      Standard Resistance

      Tester Connection Condition Specified Condition
      z2-8 (EAU) - J24-4 (EAU) Center Below 1 Ω
      2.5 rotations to the left
      2.5 rotations to the right
      z2-10 (AU1) - J24-6 (AU1) Center Below 1 Ω
      2.5 rotations to the left
      2.5 rotations to the right
      z2-9 (AU2) - J24-5 (AU2) Center Below 1 Ω
      2.5 rotations to the left
      2.5 rotations to the right
    3. After setting the spiral cable sub-assembly to the center position, rotate the spiral cable sub-assembly 2.5 times clockwise. Then while rotating the spiral cable sub-assembly 5 times counterclockwise, measure the resistance according to the value(s) in the table below.

      Standard Resistance

      Tester Connection Condition Specified Condition
      z2-8 (EAU) - J24-4 (EAU) Always Below 1 Ω
      z2-10 (AU1) - J24-6 (AU1) Always Below 1 Ω
      z2-9 (AU2) - J24-5 (AU2) Always Below 1 Ω
      NOTE:
      • The spiral cable sub-assembly is an important part of the SRS airbag system. Incorrect removal or installation of the spiral cable sub-assembly may prevent the airbag from deploying. Refer to the references shown in the brackets.
      • As the spiral cable sub-assembly may break, do not rotate the spiral cable sub-assembly more than the specified amount.
      TEXT IN ILLUSTRATION

      *a Component without harness connected
      (Spiral Cable Sub-assembly)
      *b Steering Pad Switch Assembly Side
      *c Vehicle Side

    NG → See step   5 

    OK → REPAIR OR REPLACE HARNESS OR CONNECTOR (SPIRAL CABLE SUB-ASSEMBLY - MULTIMEDIA MODULE RECEIVER ASSEMBLY) 

  4. PROCEED TO NEXT SUSPECTED AREA SHOWN IN PROBLEM SYMPTOMS TABLE. Refer to  PROBLEM SYMPTOMS TABLE [08/2012 - ] 
  5. REPLACE SPIRAL CABLE SUB-ASSEMBLY. Refer to  REMOVAL [08/2012 - ] 
  6. REPLACE STEERING PAD SWITCH ASSEMBLY. Refer to  REMOVAL [08/2012 - ]