LEMON Manuals: Even more car manuals for everyone
Home >> Lexus >> 2013 >> IS 250 Base, AWD >> Repair and Diagnosis (Single Page) >> Engine Performance >> System >> Engine Control System (Diagnostic Codes (P062F - U0101) & Circuit Tests)) >> SFI System >> DTC P2610: ECM / PCM Internal Engine Off Timer Performance >> Description

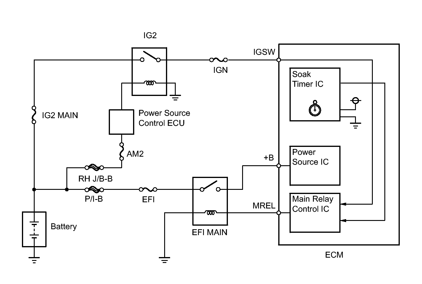
DTC P2610: ECM / PCM Internal Engine Off Timer Performance: Description

The soak timer operates after the engine switch is turned off. When a certain amount of time has elapsed after turning the engine switch off, the soak timer activates the ECM to perform malfunction checks witch can only be performed after the engine is stopped. The soak timer is built into the ECM.

Fig 1: Soak Timer Circuit Diagram
GTY142142Courtesy of © TOYOTA, LICENSE AGREEMENT TMS1002