LEMON Manuals: Even more car manuals for everyone
Home >> Lexus >> 2013 >> IS 250 Base, AWD >> Repair and Diagnosis (Single Page) >> Electrical >> Starter >> Smart Access System (Keyless Start) (Diagnostic Codes & Symptom Tests) >> Smart Access System With Push-Button Start >> Symptom Tests >> Power Source Mode does not Change to ON (IG) >> Procedure

Power Source Mode does not Change to ON (IG): Procedure

  1. INSPECT FUSE (AM2) 
    1. Remove the AM2 fuse from the cowl side J/B RH.
    2. Measure the resistance of the fuse.

      Standard resistance

      Below 1 Ω

    NG → REPLACE FUSE 

    OK: Go to next step 

  2. CHECK CONNECTORS 
    1. Check that the connectors are securely connected and the terminals are not deformed or loose.

      OK

      The connectors are securely connected and the terminals are not deformed or loose.

    NG → REPAIR OR REPLACE CONNECTORS 

    OK: Go to next step 

  3. CHECK WIRE HARNESS (POWER SOURCE CONTROL ECU - BATTERY AND BODY GROUND) 
    1. Disconnect the J55 ECU connector.
      GTY118688Courtesy of © TOYOTA, LICENSE AGREEMENT TMS1002
    2. Measure the voltage according to the value(s) in the table below.

      Standard voltage

      Tester Connection (Symbols) Condition Specified Condition
      J55-33 (AM1) - Body ground Always 10 to 14 V
      J55-12 (AM2) - Body ground Always 10 to 14 V
    3. Measure the resistance according to the value(s) in the table below.

      Standard resistance

      Tester Connection (Symbols) Condition Specified Condition
      J55-6 (GND2) - Body ground Always Below 1 Ω

    NG → REPAIR OR REPLACE HARNESS OR CONNECTOR 

    OK: Go to next step 

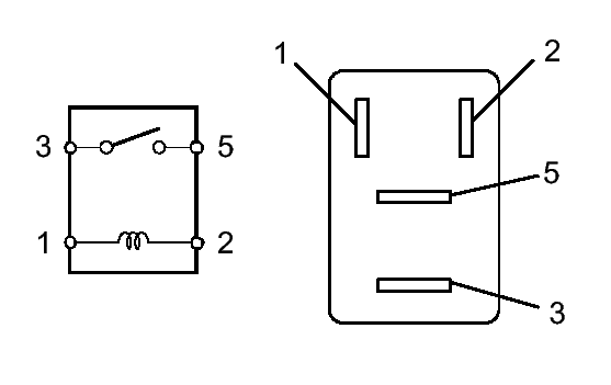
  4. INSPECT RELAY (IG2 RELAY) 
    1. Remove the IG2 relay from the engine room R/B No. 2.
      GTY135179Courtesy of © TOYOTA, LICENSE AGREEMENT TMS1002
    2. Measure the resistance according to the value(s) in the table below.

      Standard resistance

      Tester Connection Specified Condition
      3 - 5 10 kΩ or higher
      3 - 5 Below 1 Ω
      (When battery voltage is applied to terminals 1 and 2)

    NG → See step   8 

    OK: Go to next step 

  5. INSPECT JUNCTION BLOCK (RH-IG RELAY, LH-IG RELAY) 
    1. RH-IG relay:
      GTY118582Courtesy of © TOYOTA, LICENSE AGREEMENT TMS1002
      1. Disconnect the cowl side J/B RH connectors.
      2. Measure the resistance according to the value(s) in the table below.

        Standard resistance

        Tester Connection Condition Specified Condition
        RD-6 - RA-5 or RD-7 Always 136 to 250 Ω at 20°C (68°F)
        RD-6 - RD-12 Always Below 1 Ω
        RD-6 - Body ground Always 10 kΩ or higher
        RM-1 - RD-14 When battery voltage is applied to terminals RD-6 and RD-12 or RA-5 or RD-7) Below 1 Ω
    2. LH-IG relay:
      GTY128968Courtesy of © TOYOTA, LICENSE AGREEMENT TMS1002
      1. Disconnect the cowl side J/B LH connectors.
      2. Measure the resistance according to the value(s) in the table below.

        Standard resistance

        Tester Connection Condition Specified Condition
        LD-13 - LD-8 or LD-9 Always 68 to 250 Ω at 20°C (68°F)
        LD-13 - Body ground Always 10 kΩ or higher
        LM-1 - LK-6 When battery voltage is applied to terminals LD-13 and LD-8 or LD-9) Below 1 Ω
        LM-1 - LD-29 When battery voltage is applied to terminals LD-13 and LD-8 or LD-9) Below 1 Ω

    NG → See step   8 

    OK: Go to next step 

  6. CHECK WIRE HARNESS 
    1. Inspect the resistance and voltage (Power source control ECU or battery - IG2 relay).
      GTY139320Courtesy of © TOYOTA, LICENSE AGREEMENT TMS1002
      1. Measure the resistance according to the value(s) in the table below.

        Standard resistance

        Tester Connection (Symbols) Condition Specified Condition
        J55-35 (IG2D) - IG2 relay terminal 2 Always Below 1 Ω
        IG2 relay terminal 1 - Body ground Always Below 1 Ω
        J55-35 (IG2D) or IG2 relay terminal 2 - Body ground Always 10 kΩ or higher
      2. Measure the voltage according to the value(s) in the table below.

        Standard voltage

        Tester Connection Condition Specified Condition
        IG2 relay terminal 5 - Body ground Always 10 to 14 V
    2. Inspect the resistance and voltage (Power source control ECU or battery - Cowl side J/B RH).
      GTY128136Courtesy of © TOYOTA, LICENSE AGREEMENT TMS1002
      1. Measure the resistance according to the value(s) in the table below.

        Standard resistance

        Tester Connection (Symbols) Condition Specified Condition
        J55-34 (IG1D) - RD-6 Always Below 1 Ω
        RD-7 - Body ground Always Below 1 Ω
        RA-5 - Body ground Always Below 1 Ω
        J55-34 (IG1D) or RD-6 - Body ground Always 10 kΩ or higher
      2. Measure the voltage according to the value(s) in the table below.

        Standard voltage

        Tester Connection (Symbols) Condition Specified Condition
        RM-1 - Body ground Always 10 to 14 V
    3. Inspect the resistance (Cowl side J/B RH - Cowl side J/B LH).
      GTY145853Courtesy of © TOYOTA, LICENSE AGREEMENT TMS1002
      1. Measure the resistance according to the value(s) in the table below.

        Standard resistance

        Tester Connection (Symbols) Condition Specified Condition
        RD-12 - LD-13 Always Below 1 Ω
        RD-12 - Body ground Always 10 kΩ or higher
        LD-8 - Body ground Always Below 1 Ω
        LD-9 - Body ground Always Below 1 Ω
    4. Inspect the voltage (Battery - Cowl side J/B LH).
      GTY118583Courtesy of © TOYOTA, LICENSE AGREEMENT TMS1002

      Measure the voltage according to the value(s) in the table below.

      Standard voltage

      Tester Connection (Symbols) Condition Specified Condition
      LM-1 - Body ground Always 10 to 14V

    NG → See step   9 

    OK: Go to next step 

  7. INSPECT POWER SOURCE CONTROL ECU 
    1. Reconnect the connectors.
      GTY139710Courtesy of © TOYOTA, LICENSE AGREEMENT TMS1002
    2. Measure the voltage according to the value(s) in the table below.

      Standard voltage

      Tester Connection (Symbols) Condition Specified Condition
      J55-34 (IG1D) - Body ground Engine switch off Below 1 V
      Engine switch on (IG) 8 to 14 V
      J55-35 (IG2D) - Body ground Engine switch off Below 1 V
      Engine switch on (IG) 8 to 14 V

    NG → REPLACE POWER SOURCE CONTROL ECU 

    OK → REPAIR OR REPLACE HARNESS OR CONNECTOR (COWL SIDE J/B - EACH SYSTEM) 

  8. REPLACE FAULTY RELAY OR J/B AND CHECK POWER SOURCE CONTROL ECU 
    1. Replace a faulty relay or J/B and then connect the power source control ECU connector.
      GTY139710Courtesy of © TOYOTA, LICENSE AGREEMENT TMS1002
    2. Measure the voltage according to the value(s) in the table below.

      Standard voltage

      Tester Connection (Symbols) Condition Specified Condition
      J55-34 (IG1D) - Body ground Engine switch off Below 1 V
      Engine switch on (IG) 8 to 14 V
      J55-35 (IG2D) - Body ground Engine switch off Below 1 V
      Engine switch on (IG) 8 to 14 V

    NG → REPLACE POWER SOURCE CONTROL ECU 

    OK → END 

  9. REPLACE FAULTY WIRE HARNESS OR CONNECTOR AND CHECK POWER SOURCE CONTROL ECU 
    1. Repair or replace a faulty wire harness or connector and then connect the power source control ECU connector.
      GTY139710Courtesy of © TOYOTA, LICENSE AGREEMENT TMS1002
    2. Measure the voltage according to the value(s) in the table below.

      Standard voltage

      Tester Connection (Symbols) Condition Specified Condition
      J55-34 (IG1D) - Body ground Engine switch off Below 1 V
      Engine switch on (IG) 8 to 14 V
      J55-35 (IG2D) - Body ground Engine switch off Below 1 V

    NG → REPLACE POWER SOURCE CONTROL ECU 

    OK → END