LEMON Manuals: Even more car manuals for everyone
Home >> Lexus >> 2013 >> IS 250 Base, AWD >> Repair and Diagnosis (Single Page) >> Electrical >> Starter >> Smart Access System (Keyless Start) (Diagnostic Codes & Symptom Tests) >> Smart Access System With Push-Button Start >> Symptom Tests >> Power Source Mode does not Change to ON (IG and ACC) >> Procedure

Power Source Mode does not Change to ON (IG and ACC): Procedure

  1. INSPECT FUSE (AM2) 
    1. Remove the AM2 fuse from the cowl side J/B RH.
    2. Measure the resistance of the fuse.

      Standard resistance

      Below 1 Ω

    NG → REPLACE FUSE 

    OK: Go to next step 

  2. CHECK CONNECTORS 
    1. Check that the connectors are securely connected and the terminals are not deformed or loose.

      OK

      The connectors are securely connected and the terminals are not deformed or loose.

    NG → REPAIR OR REPLACE CONNECTORS 

    OK: Go to next step 

  3. CHECK WIRE HARNESS (POWER SOURCE CONTROL ECU - BATTERY AND BODY GROUND) 
    1. Disconnect the J55 ECU connector.
      GTY118688Courtesy of © TOYOTA, LICENSE AGREEMENT TMS1002
    2. Measure the voltage according to the value(s) in the table below.

      Standard voltage

      Tester Connection (Symbols) Condition Specified Condition
      J55-33 (AM1) - Body ground Always 10 to 14 V
      J55-12 (AM2) - Body ground Always 10 to 14 V
    3. Measure the resistance according to the value(s) in the table below.

      Standard resistance

      Tester Connection (Symbols) Condition Specified Condition
      J55-6 (GND2) - Body ground Always Below 1 Ω

    NG → REPAIR OR REPLACE HARNESS OR CONNECTOR 

    OK: Go to next step 

  4. CHECK FOR DTCS 
    1. Delete the DTCs. Refer to DTC CHECK / CLEAR [08/2012 - ] .

      HINT: 

      After all the DTCs are cleared, check if the trouble occurs again 5 seconds after the engine switch is turned on (IG).

    2. Check for DTCs again.

      OK

      No DTC is output.

    NG → GO TO DTC CHART 

    OK: Go to next step 

  5. READ VALUE USING TECHSTREAM 
    1. Connect Techstream to the DLC3.
    2. Turn the engine switch on (IG).
    3. Check the DATA LIST for proper functioning of the start switches 1 and 2.
      BODY:

      Tester Display Measurement Item/Range Normal Condition Diagnostic Note
      Start Switch1 Start Switch 1/ ON or OFF ON: Engine switch on (IG)
      OFF: Engine switch OFF
      -
      Start Switch2 Start Switch 2/ ON or OFF ON: Engine switch on (IG)
      OFF: Engine switch OFF
      -

      OK

      ON (engine switch on (IG)) and OFF (engine switch off) appear on the screen.

    NG → See step   10 

    OK: Go to next step 

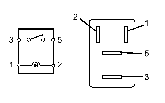
  6. INSPECT RELAY (IG2) 
    1. Remove the IG2 relay from the engine room R/B No. 2.
      GTY136162Courtesy of © TOYOTA, LICENSE AGREEMENT TMS1002
    2. Measure the resistance according to the value(s) in the table below.

      Standard resistance

      Tester Connection Specified Condition
      3 - 5 10 kΩ or higher
      3 - 5 Below 1 Ω
      (When battery voltage is applied to terminals 1 and 2)

    NG → REPLACE RELAY (IG2) 

    OK: Go to next step 

  7. INSPECT JUNCTION BLOCK (RH-IG RELAY, LH-IG RELAY, ACC RELAY, PWR POINT RELAY) 
    1. RH-IG relay:
      GTY118581Courtesy of © TOYOTA, LICENSE AGREEMENT TMS1002
      1. Disconnect the cowl side J/B RH connectors.
      2. Measure the resistance according to the value(s) in the table below.

        Standard resistance

        Tester Connection Condition Specified Condition
        RD-6 - RA-5 or RD-7 Always 136 to 250 Ω at 20°C (68°F)
        RD-6 - Body ground Always 10 kΩ or higher
        RD-2 - RA-5 or RD-7 Always 68 to 250 Ω at 20°C (68°F)
        RD-2 - Body ground Always 10 kΩ or higher
        RD-6 - RD-12 Always Below 1 Ω
        RM-1 - RD-14 When battery voltage is applied to terminals RD-6 and RA-5 or RD-7 Below 1 Ω
        RM-1 - RD-27 When battery voltage is applied to terminals RD-2 and RA-5 or RD-7 Below 1 Ω
        RM-1 - RJ-16 When battery voltage is applied to terminals RD-2 and RA-5 or RD-7 Below 1 Ω
    2. LH-IG relay:
      GTY128968Courtesy of © TOYOTA, LICENSE AGREEMENT TMS1002
      1. Disconnect the cowl side J/B LH connectors.
      2. Measure the resistance according to the value(s) in the table below.

        Standard resistance

        Tester Connection Condition Specified Condition
        LD-13 - LD-8 or LD-9 Always 68 to 250 Ω at 20°C (68°F)
        LD-13 - Body ground Always 10 kΩ or higher
        LM-1 - LK-6 When battery voltage is applied to terminals LD-13 and LD-8 or LD-9 Below 1 Ω
        LM-1 - LD-29 When battery voltage is applied to terminals LD-13 and LD-8 or LD-9 Below 1 Ω

    NG → REPLACE JUNCTION BLOCK 

    OK: Go to next step 

  8. CHECK WIRE HARNESS 
    1. Inspect the resistance and voltage (Power source control ECU or battery - IG2 relay).
      GTY139320Courtesy of © TOYOTA, LICENSE AGREEMENT TMS1002
      1. Measure the resistance according to the value(s) in the table below.

        Standard resistance

        Tester Connection (Symbols) Condition Specified Condition
        J55-35 (IG2D) - IG2 relay terminal 2 Always Below 1 Ω
        IG2 relay terminal 1 - Body ground Always Below 1 Ω
        J55-35 (IG2D) or IG2 relay terminal 2 - Body ground Always 10 kΩ or higher
      2. Measure the voltage according to the value(s) in the table below.

        Standard voltage

        Tester Connection Condition Specified Condition
        IG2 relay terminal 5 - Body ground Always 10 to 14 V
    2. Inspect the resistance and voltage (Power source control ECU or battery - Cowl side J/B RH).
      GTY128136Courtesy of © TOYOTA, LICENSE AGREEMENT TMS1002
      1. Measure the resistance according to the value(s) in the table below.

        Standard resistance

        Tester Connection (Symbols) Condition Specified Condition
        J55-34 (IG1D) - RD-6 Always Below 1 Ω
        J55-11 (ACCD) - RD-2 Always Below 1 Ω
        RD-7 - Body ground Always Below 1 Ω
        RA-5 - Body ground Always Below 1 Ω
        J55-34 (IG1D) or RD-6 - Body ground Always 10 kΩ or higher
        J55-11 (ACCD) or RD-2 - Body ground Always 10 kΩ or higher
      2. Measure the voltage according to the value(s) in the table below.

        Standard voltage

        Tester Connection Condition Specified Condition
        RM-1 - Body ground Always 10 to 14 V
    3. Inspect the resistance (Cowl side J/B RH - Cowl side J/B LH).
      GTY145853Courtesy of © TOYOTA, LICENSE AGREEMENT TMS1002
      1. Measure the resistance according to the value(s) in the table below.

        Standard resistance

        Tester Connection (Symbols) Condition Specified Condition
        RD-12 - LD-13 Always Below 1 Ω
        LD-8 - Body ground Always Below 1 Ω
        LD-9 - Body ground Always Below 1 Ω
    4. Inspect the voltage (Battery - Cowl side J/B LH).
      GTY127057Courtesy of © TOYOTA, LICENSE AGREEMENT TMS1002
      1. Measure the voltage according to the value(s) in the table below.

        Standard voltage

        Tester Connection Condition Specified Condition
        LM-1 - Body ground Always 10 to 14 V

    NG → REPAIR OR REPLACE HARNESS OR CONNECTOR 

    OK: Go to next step 

  9. INSPECT POWER SOURCE CONTROL ECU 
    1. Reconnect the J55 ECU connector.
      GTY119530Courtesy of © TOYOTA, LICENSE AGREEMENT TMS1002
    2. Measure the voltage according to the value(s) in the table below.

      Standard voltage

      Tester Connection (Symbols) Condition Specified Condition
      J55-34 (IG1D) - Body ground Engine switch off Below 1 V
      Engine switch on (IG) 8 to 14 V
      J55-35 (IG2D) - Body ground Engine switch off Below 1 V
      Engine switch on (IG) 8 to 14 V
      J55-11 (ACCD) - Body ground Engine switch off Below 1 V
      Engine switch on (ACC) 8 to 14 V

    NG → REPLACE POWER SOURCE CONTROL ECU 

    OK → REPAIR OR REPLACE HARNESS OR CONNECTOR (COWL SIDE J/B - EACH SYSTEM) 

  10. INSPECT ENGINE SWITCH 
    1. Remove the engine switch.
      GTY356064Courtesy of © TOYOTA, LICENSE AGREEMENT TMS1002
    2. Measure the resistance of the switch.

      Standard resistance

      Tester Connection Switch Condition Specified Condition
      7 (SS1) - 5 (GND) Pushed Below 1 Ω
      2 (SS2) - 5 (GND) Pushed Below 1 Ω
      7 (SS1) - 5 (GND) Not pushed 10 kΩ or higher
      2 (SS2) - 5 (GND) Not pushed 10 kΩ or higher

    NG → REPLACE ENGINE SWITCH 

    OK: Go to next step 

  11. CHECK WIRE HARNESS (POWER SOURCE CONTROL ECU AND BODY GROUND - ENGINE SWITCH) 
    1. Disconnect the J55 ECU connector.
      GTY145594Courtesy of © TOYOTA, LICENSE AGREEMENT TMS1002
    2. Measure the resistance according to the value(s) in the table below.

      Standard resistance

      Tester Connection (Symbols) Condition Specified Condition
      J31-7 (SS1) - J55-14 (SSW1) Always Below 1 Ω
      J31-2 (SS2) - J55-37 (SSW2) Always Below 1 Ω
      J31-5 (GND) - Body ground Always Below 1 Ω
      J31-7 (SS1) or J55-14 (SSW1) - Body ground Always 10 kΩ or higher
      J31-2 (SS2) or J55-37 (SSW2) - Body ground Always 10 kΩ or higher

    NG → REPAIR OR REPLACE HARNESS OR CONNECTOR 

    OK → REPLACE POWER SOURCE CONTROL ECU