LEMON Manuals: Even more car manuals for everyone
Home >> Lexus >> 2013 >> IS 250 Base, AWD >> Repair and Diagnosis (Single Page) >> Accessories & Equipment >> Infotainment >> Navigation System (Diagnostic Codes & Symptom Tests) >> Navigation System >> Circuit Tests >> Steering Pad Switch Circuit >> Procedure

Steering Pad Switch Circuit: Procedure

  1. CHECK HARNESS AND CONNECTOR (STEERING PAD SWITCH SIGNAL) 
    1. Disconnect the J125 multi-media module receiver assembly connector.
    2. Measure the resistance according to the value(s) in the table below.

      Standard Resistance

      Tester Connection Condition Specified Condition
      J125-30 (SW1) - J125-32 (SWG) No switch pushed 95 to 105 kΩ
      Seek+ switch pushed Below 2.5 Ω
      Seek- switch pushed 312 to 345 Ω
      Volume+ switch pushed 950 to 1050 Ω
      Volume- switch pushed 2954 to 3265 Ω
      J125-31 (SW2) - J125-32 (SWG) No switch pushed 95 to 105 kΩ
      MODE switch pushed Below 2.5 Ω
      Voice switch pushed 2954 to 3265 Ω
      On hook switch pushed 312 to 345 Ω
      Off hook switch pushed 950 to 1050 Ω

    NG → See step   2 

    OK → See step   4 

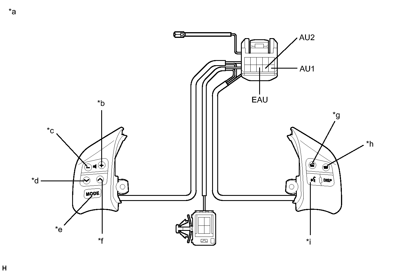
  2. INSPECT STEERING PAD SWITCH ASSEMBLY 
    1. Remove the steering pad switch assembly.
    2. Measure the resistance according to the values in the table below.
      GTY404016Courtesy of © TOYOTA, LICENSE AGREEMENT TMS1002

      Standard Resistance

      Tester Connection Condition Specified Condition
      10 (AU1) - 8 (EAU) No switch pushed 95 to 105 kΩ
      Seek+ switch pushed Below 2.5 Ω
      Seek- switch pushed 312 to 345 Ω
      Volume+ switch pushed 950 to 1050 Ω
      Volume- switch pushed 2954 to 3265 Ω
      9 (AU2) - 8 (EAU) No switch pushed 95 to 105 kΩ
      MODE switch pushed Below 2.5 Ω
      Voice switch pushed 2954 to 3265 Ω
      On hook switch pushed 312 to 345 Ω
      Off hook switch pushed 950 to 1050 Ω
      TEXT IN ILLUSTRATION

      *a Component without harness connected
      (Steering Pad Switch Assembly)
      *b Volume+
      *c Volume- *d Seek-
      *e MODE *f Seek+
      *g Off hook *h On hook
      *i Voice - -

    NG → See step   6 

    OK: Go to next step 

  3. INSPECT SPIRAL CABLE SUB-ASSEMBLY 
    1. Remove the spiral cable sub-assembly.
    2. Measure the resistance according to the value(s) in the table below.
      GTY394868Courtesy of © TOYOTA, LICENSE AGREEMENT TMS1002

      Standard Resistance

      Tester Connection Condition Specified Condition
      k1-8 (EAU) - J24-4 (EAU) Center Below 1 Ω
      2.5 rotations to the left
      2.5 rotations to the right
      k1-10 (AU1) - J24-6 (AU1) Center Below 1 Ω
      2.5 rotations to the left
      2.5 rotations to the right
      k1-9 (AU2) - J24-5 (AU2) Center Below 1 Ω
      2.5 rotations to the left
      2.5 rotations to the right
    3. After setting the spiral cable sub-assembly to the center position, rotate the spiral cable sub-assembly 2.5 times clockwise. Then while rotating the spiral cable sub-assembly 5 times counterclockwise, measure the resistance according to the value(s) in the table below.

      Standard Resistance

      Tester Connection Condition Specified Condition
      k1-8 (EAU) - J24-4 (EAU) Always Below 1 Ω
      k1-10 (AU1) - J24-6 (AU1) Always Below 1 Ω
      k1-9 (AU2) - J24-5 (AU2) Always Below 1 Ω
      NOTE:
      • The spiral cable sub-assembly is an important part of the SRS airbag system. Incorrect removal or installation of the spiral cable sub-assembly may prevent the airbag from deploying. Refer to the Service Information shown in the brackets.
      • As the spiral cable sub-assembly may break, do not rotate the spiral cable sub-assembly more than the specified amount.
      TEXT IN ILLUSTRATION

      *a Component without harness connected
      (Spiral Cable Sub-assembly)
      *b Steering Pad Switch Assembly Side
      *c Vehicle Side

    NG → See step   5 

    OK → REPAIR OR REPLACE HARNESS OR CONNECTOR (SPIRAL CABLE SUB-ASSEMBLY - MULTI-MEDIA MODULE RECEIVER ASSEMBLY) 

  4. PROCEED TO NEXT SUSPECTED AREA SHOWN IN PROBLEM SYMPTOMS TABLE. Refer to  PROBLEM SYMPTOMS TABLE [08/2012 - ] 
  5. REPLACE SPIRAL CABLE SUB-ASSEMBLY. Refer to  REMOVAL [08/2012 - ] 
  6. REPLACE STEERING PAD SWITCH ASSEMBLY. Refer to  REMOVAL [08/2012 - ]