LEMON Manuals: Even more car manuals for everyone
Home >> Lexus >> 2013 >> IS 250 Base, AWD >> Repair and Diagnosis (Single Page) >> Accessories & Equipment >> Anti-Theft Systems >> Smart Access System (Keyless Entry) (Diagnostic Codes & Circuit Tests) >> Smart Access System With Push-Button Start >> Circuit Tests >> Door Oscillator Circuit >> Wiring Diagram

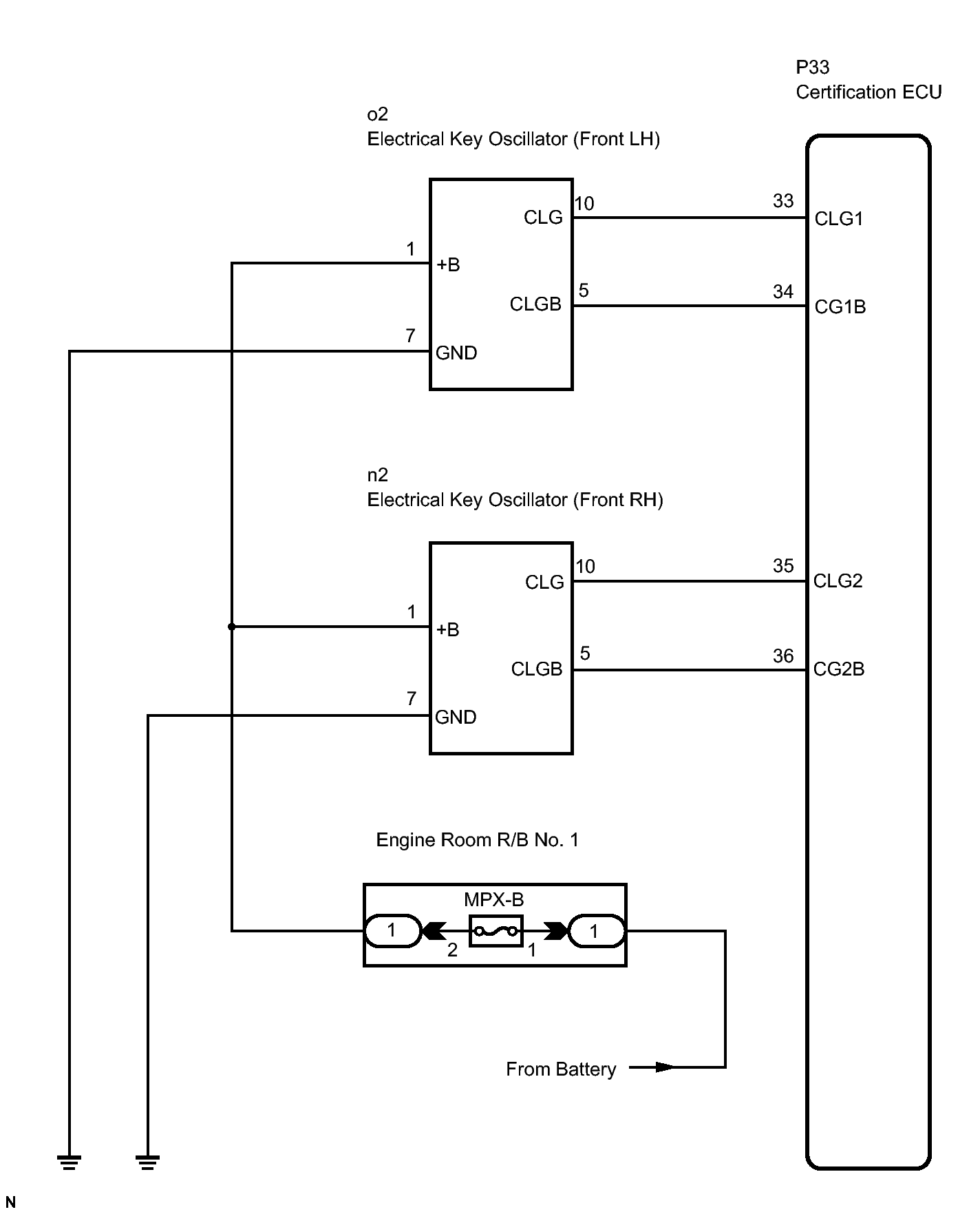
Door Oscillator Circuit: Wiring Diagram

Fig 1: Door Oscillator Circuit Diagram
GTY119508Courtesy of © TOYOTA, LICENSE AGREEMENT TMS1002