LEMON Manuals: Even more car manuals for everyone
Home >> Lexus >> 2013 >> GX 460 Base >> Repair and Diagnosis (Single Page) >> Restraints >> Air Bag, SRS >> Occupant Classification System (Diagnostic Codes & Symptom Tests) >> Occupant Classification System >> DTC B1790: Center Airbag Sensor Assembly Communication Circuit Malfunction >> Procedure

DTC B1790: Center Airbag Sensor Assembly Communication Circuit Malfunction: Procedure

  1. CHECK FOR DTC 
    1. Turn the engine switch on (IG), and wait for at least 60 seconds.
    2. Clear the DTCs. Refer to DTC CHECK / CLEAR [06/2012 - ] .

      HINT: 

      • First clear the DTCs stored in the occupant classification ECU, and then clear the DTCs stored in the center airbag sensor.
      • Use the Techstream to clear the DTCs of the occupant classification ECU, otherwise the DTCs cannot be cleared.
    3. Turn the engine switch off.
    4. Turn the engine switch on (IG), and wait for at least 60 seconds.
    5. Check for DTCs. Refer to DTC CHECK / CLEAR [06/2012 - ] .

      OK

      DTC B1790 is not output.

      HINT: 

      DTCs other than DTC B1790 may be output at this time, but they are not related to this check.

    NG → See step   2 

    OK → See step   11 

  2. CHECK CONNECTION OF CONNECTOR 
    1. Turn the engine switch off.
    2. Disconnect the cable from the negative (-) battery terminal, and wait for at least 90 seconds.
    3. Check that the connectors are properly connected to the occupant classification ECU and center airbag sensor.

      OK

      Connectors are properly connected.

    NG → CONNECT CONNECTOR 

    OK: Go to next step 

  3. CHECK CONNECTOR 
    1. Disconnect the connectors from the center airbag sensor and occupant classification ECU.
    2. Check that the connectors (on the center airbag sensor side and occupant classification ECU side) are not damaged. Refer to ELECTRONIC CIRCUIT INSPECTION PROCEDURE [06/2012 - ] .

      OK

      Connectors are not deformed or damaged.

    NG → REPLACE HARNESS OR CONNECTOR 

    OK: Go to next step 

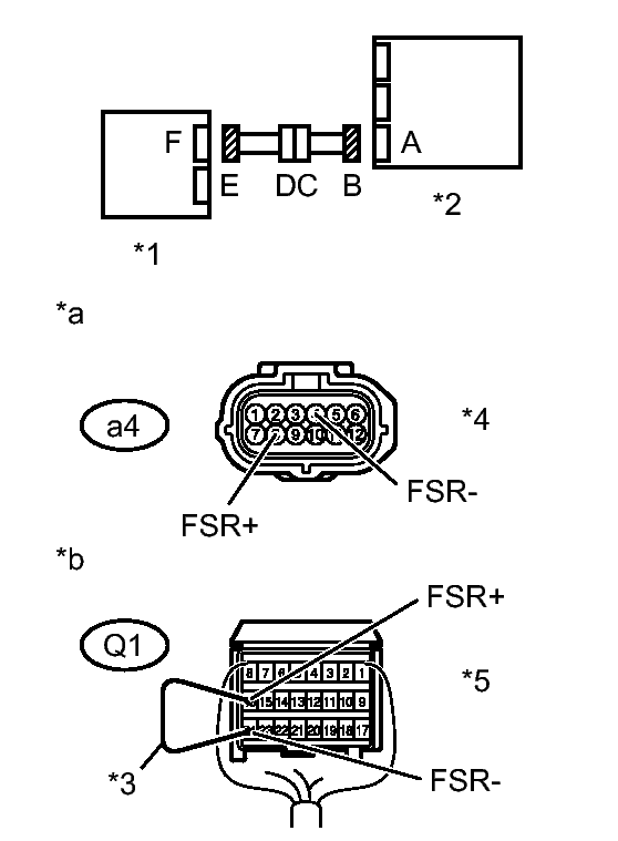
  4. CHECK OCCUPANT CLASSIFICATION SYSTEM CIRCUIT 
    1. Connect the cable to the negative (-) battery terminal, and wait for at least 2 seconds.
      GTY274133Courtesy of © TOYOTA, LICENSE AGREEMENT TMS1002
    2. Measure the voltage according to the value(s) in the table below.

      Standard Voltage

      Tester Connection Switch Condition Specified Condition
      a4-8 (FSR+) - Body ground Engine switch on (IG) Below 1 V
      a4-4 (FSR-) - Body ground
    3. Turn the engine switch off.
    4. Disconnect the cable from the negative (-) battery terminal, and wait for at least 90 seconds.
    5. Using a service wire, connect terminals 16 (FSR+) and 24 (FSR-) of connector B.
      NOTE:

      Do not forcibly insert the service wire into the terminals of the connector.

    6. Measure the resistance according to the value(s) in the table below.

      Standard Resistance

      Tester Connection Condition Specified Condition
      a4-8 (FSR+) - a4-4 (FSR-) Always Below 1 Ω
    7. Disconnect the service wire from connector B.
    8. Measure the resistance according to the value(s) in the table below.

      Standard Resistance

      Tester Connection Condition Specified Condition
      a4-8 (FSR+) - a4-4 (FSR-) Always 1 MΩ or higher
      a4-8 (FSR+) - Body ground
      a4-4 (FSR-) - Body ground
      TEXT IN ILLUSTRATION

      *1 Occupant Classification ECU
      *2 Center Airbag Sensor
      *3 Service Wire
      *4 Connector E
      *5 Connector B
      *a Front view of wire harness connector
      (to Occupant Classification ECU)
      *b Rear view of wire harness connector
      (to Center Airbag Sensor)

    NG → See step   10 

    OK: Go to next step 

  5. CHECK FOR DTC 
    1. Connect the connectors to the occupant classification ECU and center airbag sensor.
    2. Connect the cable to the negative (-) battery terminal, and wait for at least 2 seconds.
    3. Turn the engine switch on (IG), and wait for at least 60 seconds.
    4. Clear the DTCs. Refer to DTC CHECK / CLEAR [06/2012 - ] .

      HINT: 

      • First clear the DTCs stored in the occupant classification ECU, and then clear the DTCs stored in the center airbag sensor.
      • Use the Techstream to clear the DTCs of the occupant classification ECU, otherwise the DTCs cannot be cleared.
    5. Turn the engine switch off.
    6. Turn the engine switch on (IG), and wait for at least 60 seconds.
    7. Check for DTCs. Refer to DTC CHECK / CLEAR [06/2012 - ] .

      OK

      DTC B1790 is not output.

      HINT: 

      DTCs other than DTC B1790 may be output at this time, but they are not related to this check.

    NG → See step   6 

    OK → See step   13 

  6. REPLACE OCCUPANT CLASSIFICATION ECU 
    1. Turn the engine switch off.
    2. Disconnect the cable from the negative (-) battery terminal, and wait for at least 90 seconds.
    3. Replace the occupant classification ECU. Refer to REMOVAL [06/2012 - ] .

      HINT: 

      Perform the inspection using parts from a normal vehicle when possible.

    NEXT: Go to next step 

  7. PERFORM ZERO POINT CALIBRATION 
    1. Connect the cable to the negative (-) battery terminal, and wait for at least 2 seconds.
    2. Turn the engine switch on (IG).
    3. Perform the zero point calibration. Refer to INITIALIZATION [06/2012 - ] .

      OK

      "Zero Point Calibration is complete." is displayed.

    NEXT: Go to next step 

  8. PERFORM SENSITIVITY CHECK 
    1. Perform the sensitivity check. Refer to INITIALIZATION [06/2012 - ] .

      Standard

      27 to 33 kg (59.5 to 72.8 lb)

    NEXT: Go to next step 

  9. CHECK FOR DTC 
    1. Clear the DTCs. Refer to DTC CHECK / CLEAR [06/2012 - ] .

      HINT: 

      • First clear the DTCs stored in the occupant classification ECU, and then clear the DTCs stored in the center airbag sensor.
      • Use the Techstream to clear the DTCs of the occupant classification ECU, otherwise the DTCs cannot be cleared.
    2. Turn the engine switch off.
    3. Turn the engine switch on (IG), and wait for at least 60 seconds.
    4. Check for DTCs. Refer to DTC CHECK / CLEAR [06/2012 - ] .

      OK

      DTC B1790 is not output.

      HINT: 

      DTCs other than DTC B1790 may be output at this time, but they are not related to this check.

    NG → See step   12 

    OK → END (OCCUPANT CLASSIFICATION ECU IS DEFECTIVE) 

  10. CHECK FRONT SEAT WIRE RH (OCCUPANT CLASSIFICATION ECU - FLOOR WIRE) 
    1. Disconnect the front seat wire RH connector from the floor wire.
      GTY266905Courtesy of © TOYOTA, LICENSE AGREEMENT TMS1002
    2. Connect the cable to the negative (-) battery terminal, and wait for at least 2 seconds.
    3. Measure the voltage according to the value(s) in the table below.

      Standard Voltage

      Tester Connection Switch Condition Specified Condition
      Qa2-1 (FSR+) - Body ground Engine switch on (IG) Below 1 V
      Qa2-4 (FSR-) - Body ground
    4. Turn the engine switch off.
    5. Disconnect the connector from the occupant classification ECU.
    6. Using a service wire, connect terminals 8 (FSR+) and 4 (FSR-) of connector E.
      NOTE:

      Do not forcibly insert the service wire into the terminals of the connector.

    7. Measure the resistance according to the value(s) in the table below.

      Standard Resistance

      Tester Connection Condition Specified Condition
      Qa2-1 (FSR+) - Qa2-4 (FSR-) Always Below 1 Ω
    8. Disconnect the service wire from connector E.
    9. Measure the resistance according to the value(s) in the table below.

      Standard Resistance

      Tester Connection Condition Specified Condition
      Qa2-1 (FSR+) - Qa2-4 (FSR-) Always 1 MΩ or higher
      Qa2-1 (FSR+) - Body ground
      Qa2-4 (FSR-) - Body ground
      TEXT IN ILLUSTRATION

      *1 Front Seat Wire RH
      *2 Floor Wire
      *3 Occupant Classification ECU
      *4 Center Airbag Sensor
      *5 Service Wire
      *6 Connector E
      *7 Connector D
      *a Front view of wire harness connector
      (to Occupant Classification ECU)
      *b Front view of wire harness connector
      (to Front Seat Wire RH)

    NG → See step   14 

    OK → REPLACE FLOOR WIRE 

  11. USE SIMULATION METHOD TO CHECK. Refer to  DIAGNOSIS SYSTEM [06/2012 - ] 
  12. REPLACE CENTER AIRBAG SENSOR ASSEMBLY. Refer to  REMOVAL [06/2012 - ] 
  13. USE SIMULATION METHOD TO CHECK. Refer to  DIAGNOSIS SYSTEM [06/2012 - ] 
  14. REPLACE FRONT SEAT WIRE RH. Refer to  DISASSEMBLY [06/2012 - ]