LEMON Manuals: Even more car manuals for everyone
Home >> Lexus >> 2013 >> GX 460 Base >> Repair and Diagnosis (Single Page) >> Brakes >> Traction Control >> Vehicle Stability Control System (Diagnostic Codes & Symptom Tests) >> Vehicle Stability Control System >> DTC C1401: Front Speed Sensor RH Malfunction; DTC C1271: Low Output Signal of Front Speed Sensor RH (Test Mode DTC); DTC C1272: Low Output Signal of Front Speed Sensor LH (Test Mode DTC); DTC C1402: Front Speed Sensor LH Malfunction >> Procedure

DTC C1401: Front Speed Sensor RH Malfunction; DTC C1271: Low Output Signal of Front Speed Sensor RH (Test Mode DTC); DTC C1272: Low Output Signal of Front Speed Sensor LH (Test Mode DTC); DTC C1402: Front Speed Sensor LH Malfunction: Procedure

  1. CHECK FRONT SPEED SENSOR INSTALLATION 
    1. Turn the engine switch off.
    2. Check the speed sensor installation. Refer to INSTALLATION [06/2012 - ] .
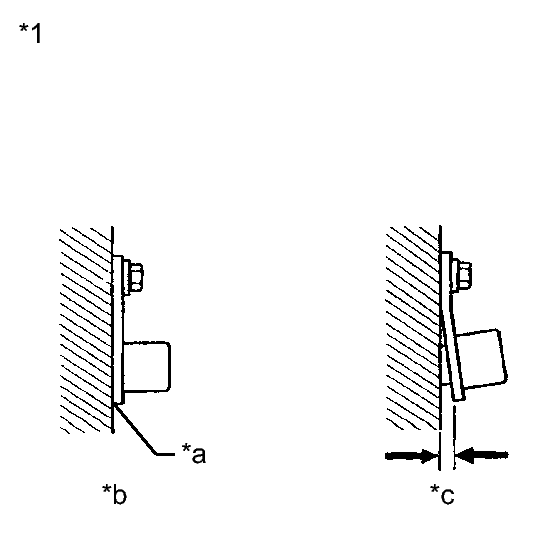
      GTY349997Courtesy of © TOYOTA, LICENSE AGREEMENT TMS1002

      OK

      There is no clearance between the sensor and the front steering knuckle.

      The installation bolt is tightened properly.

      TEXT IN ILLUSTRATION

      *1 Front Speed Sensor
      *a No clearance
      *b OK
      *c NG

    NG → INSTALL FRONT SPEED SENSOR CORRECTLY 

    OK: Go to next step 

  2. INSPECT FRONT SPEED SENSOR TIP 
    1. Remove the front speed sensor. Refer to REMOVAL [06/2012 - ] .
    2. Check the speed sensor tip.

      OK

      No scratches, oil, or foreign matter on the sensor tip.

      NOTE:

      If no damage to the speed sensor tip is found during this inspection, do not replace the speed sensor.

    NG → CLEAN OR REPLACE FRONT SPEED SENSOR 

    OK: Go to next step 

  3. INSPECT FRONT SPEED SENSOR ROTOR 
    1. Remove the front axle with ABS rotor bearing assembly. Refer to REMOVAL [06/2012 - ] .
    2. Check the speed sensor rotor.

      OK

      No scratches, oil, or foreign matter on the rotors.

      HINT: 

      The front speed sensor rotor is incorporated into the front axle with ABS rotor bearing assembly.

      If the front speed sensor rotor needs to be replaced, replace it together with the front axle with ABS rotor bearing assembly.

    NG → CLEAN OR REPLACE FRONT SPEED SENSOR ROTOR 

    OK: Go to next step 

  4. READ VALUE USING TECHSTREAM (FRONT SPEED SENSOR) 
    1. Turn the engine switch off.
    2. Connect the Techstream to the DLC3.
    3. Start the engine.
    4. Turn the Techstream on.
    5. Enter the following menus: Chassis / ABS/VSC/TRAC / Data List.
      ABS/VSC/TRAC

      Tester Display Measurement Item/Range Normal Condition Diagnostic Note
      FR Wheel Speed Front speed sensor RH reading/ Min.: 0 km/h (0 mph), Max.: 326 km/h (202 mph) Actual wheel speed No large fluctuations when driving at a constant speed.
      FL Wheel Speed Front speed sensor LH reading/ Min.: 0 km/h (0 mph), Max.: 326 km/h (202 mph) Actual wheel speed No large fluctuations when driving at a constant speed.
    6. Check that there is no difference between the speed value output from the speed sensor displayed on the Techstream and the speed value displayed on the speedometer when driving the vehicle.

      HINT: 

      Factors that affect the indicated vehicle speed include tire size, tire inflation and tire wear. The speed indicated on the speedometer has an allowable margin of error. This can be tested using a speedometer tester (calibrated chassis dynamometer). For details about testing and the margin of error, refer to the reference chart. Refer to OPERATION CHECK [06/2012 - ] .

      OK

      The speed value output from the speed sensor displayed on the Techstream is the same as the actual vehicle speed measured using a speedometer tester (calibrated chassis dynamometer).

    NG → See step   5 

    OK → See step   7 

  5. REPLACE FRONT SPEED SENSOR 
    1. Replace the front speed sensor. Refer to REMOVAL [06/2012 - ] .

    NEXT: Go to next step 

  6. RECONFIRM DTC 
    1. Clear the DTC. Refer to DTC CHECK / CLEAR [06/2012 - ] .
    2. Start the engine.
    3. Drive the vehicle at a speed of 40 km/h (25 mph) or more for at least 60 seconds.
    4. Check if the same DTC is output. Refer to DTC CHECK / CLEAR [06/2012 - ] .
      RESULT

      Result Proceed to
      DTC is not output A
      DTC is output B

    B → See step   8 

    A → END 

  7. USE SIMULATION METHOD TO CHECK. Refer to  HOW TO PROCEED WITH TROUBLESHOOTING [06/2012 - ] 
  8. REPLACE FRONT AXLE WITH ABS ROTOR BEARING ASSEMBLY. Refer to  DISASSEMBLY [06/2012 - ]