LEMON Manuals: Even more car manuals for everyone
Home >> Lexus >> 2013 >> ES 350 >> Repair and Diagnosis (Single Page) >> Accessories & Equipment >> Wiper/Washer Systems >> Wiper System / Washer System (Diagnostics & Circuit Tests) >> Wiper And Washer System >> Circuit Tests >> Speed Signal Circuit >> Procedure

Speed Signal Circuit: Procedure

  1. INSPECT COMBINATION METER ASSEMBLY (SPEED SENSOR SIGNAL) 
    1. Check the output waveform.
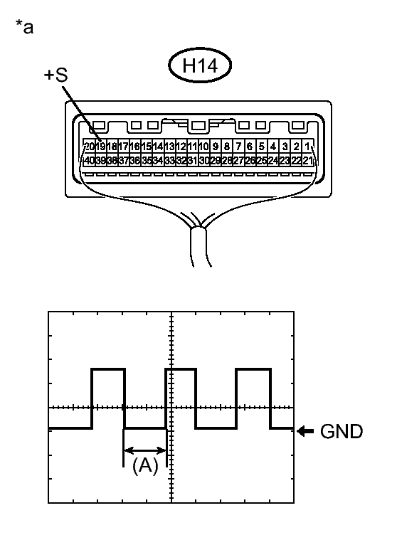
      Fig 1: Identifying Combination Meter Assembly (Speed Sensor Signal) Connector Terminals & Waveform
      GTY415943Courtesy of © TOYOTA, LICENSE AGREEMENT TMS1002
      1. Remove the combination meter assembly with the connector still connected.
      2. Connect an oscilloscope to terminal H14-19 (+S) and body ground.
      3. Turn the engine switch on (IG).
      4. Turn a wheel slowly.
      5. Check the signal waveform according to the condition(s) in the table below.
        Item Condition
        Tool setting 5 V/DIV., 20 ms./DIV.
        Vehicle condition Wheel being rotated

        OK

        The waveform is similar to that shown in the illustration.

        HINT: 

        When the system is functioning normally, one wheel revolution generates 4 pulses. As the vehicle speed increases, the width indicated by (A) in the illustration narrows.

        TEXT IN ILLUSTRATION

        *a Component with harness connected
        (Combination Meter Assembly)

    NG → See step   4 

    OK: Go to next step 

  2. CHECK HARNESS AND CONNECTOR (WINDSHIELD WIPER RELAY ASSEMBLY - COMBINATION METER ASSEMBLY) 
    1. Disconnect the H51 windshield wiper relay assembly connector and H14 combination meter assembly connector.
    2. Measure the resistance according to the value(s) in the table below.

      Standard Resistance

      Tester Connection Condition Specified Condition
      H51-24 (SPD) - H14-19 (+S) Always Below 1 Ω

    NG → REPAIR OR REPLACE HARNESS OR CONNECTOR 

    OK → See step   3 

  3. PROCEED TO NEXT SUSPECTED AREA SHOWN IN PROBLEM SYMPTOMS TABLE. Refer to  PROBLEM SYMPTOMS TABLE [06/2012 - ]  
  4. GO TO METER / GAUGE SYSTEM. Refer to  Speed Signal Circuit