LEMON Manuals: Even more car manuals for everyone
Home >> Lexus >> 2013 >> ES 350 >> Repair and Diagnosis (Single Page) >> Accessories & Equipment >> Anti-Theft Systems >> Smart Access System (Keyless Entry) (Diagnostic Codes & Symptom Tests) >> SMART ACCESS SYSTEM WITH PUSH-BUTTON START (for Entry Function) >> Symptom Tests >> Rear Door LH Entry Lock Function does not Operate >> Procedure

Rear Door LH Entry Lock Function does not Operate: Procedure

  1. CHECK POWER DOOR LOCK CONTROL SYSTEM 
    1. When the door control switch on the multiplex network master switch assembly is operated, check that the doors unlock and lock according to the switch operation. Refer to OPERATION CHECK [06/2012 - ] .

      OK

      Door locks operate normally.

    NG → See step   5 

    OK: Go to next step 

  2. READ VALUE USING TECHSTREAM 
    1. Connect the Techstream to the DLC3.
    2. Turn the engine switch on (IG).
    3. Turn the Techstream on.
    4. Enter the following menus: Body Electrical / Smart Access / Data List.
    5. Read the Data List according to the display on the Techstream.
      SMART ACCESS

      Tester Display Measurement Item/Range Normal Condition Diagnostic Note
      Dr-Door Trigger Switch Rear door LH touch sensor (lock sensor) / ON or OFF ON: Rear door LH touch sensor (lock sensor) touched
      OFF: Rear door LH touch sensor (lock sensor) not touched
      • Displays whether the lock sensor is on or off (even if the sensor is touched and contact is maintained, "ON" is displayed only momentarily).
      • Use this Data List item to help determine if there is a lock sensor malfunction when the entry lock function does not operate.

      OK

      The Techstream display changes correctly in response to the operation of the rear door outside handle assembly LH (for rear door LH).

    NG → See step   3 

    OK → See step   6 

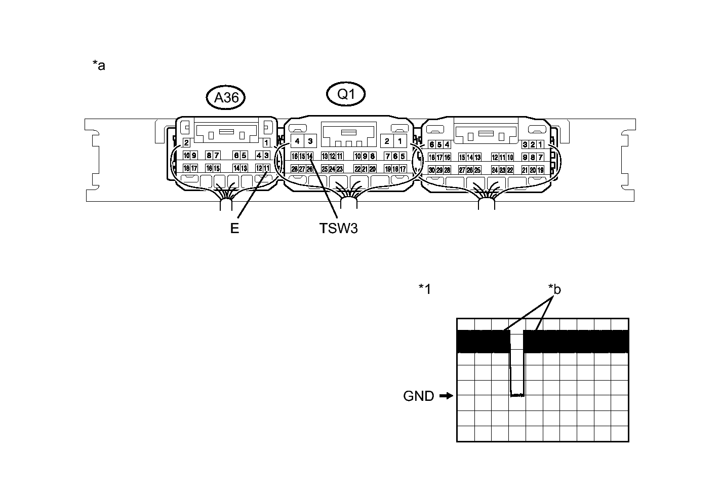
  3. CHECK HARNESS AND CONNECTOR (REAR DOOR OUTSIDE HANDLE ASSEMBLY LH - CERTIFICATION ECU) 
    1. Disconnect the O8 rear door outside handle assembly LH (for rear door LH) connector.
    2. Disconnect the A36 and Q1 certification ECU (smart key ECU assembly) connectors.
    3. Measure the resistance according to the value(s) in the table below.

      Standard Resistance

      Tester Connection Condition Specified Condition
      O8-1 (TRG+) - Q1-14 (TSW3) Always Below 1 Ω
      A36-11 (E) - Body ground Always Below 1 Ω
      O8-2 (GND) - Body ground Always Below 1 Ω
      O8-1 (TRG+) or Q1-14 (TSW3) - Body ground Always 10 kΩ or higher

    NG → REPAIR OR REPLACE HARNESS OR CONNECTOR 

    OK: Go to next step 

  4. CHECK REAR DOOR OUTSIDE HANDLE ASSEMBLY LH (FOR REAR DOOR LH) (REAR DOOR LH LOCK SENSOR SIGNAL INPUT) 
    1. Connect the O8 rear door outside handle assembly LH (for rear door LH) connector.
      GTY398495Courtesy of © TOYOTA, LICENSE AGREEMENT TMS1002
      TEXT IN ILLUSTRATION

      *1 Waveform - -
      *a Component with harness connected
      (Certification ECU (smart key ECU assembly))
      *b In actuality, sampling is being performed
    2. Connect the A36 and Q1 certification ECU (smart key ECU assembly) connectors.
    3. Using an oscilloscope, check the waveform.

      OK

      Tester Connection Condition Tool Setting Specified Condition
      Q1-14 (TSW3) - A36-11 (E) Procedure:
      1. Engine switch off
      2. Electrical key transmitter sub-assembly brought outside vehicle
      3. All doors closed
      4. Rear door LH lock sensor not touched → touched
      2 V/DIV., 500 ms/DIV. Pulse generation (See waveform)

    NG → See step   7 

    OK → See step   6 

  5. GO TO POWER DOOR LOCK CONTROL SYSTEM. Refer to  HOW TO PROCEED WITH TROUBLESHOOTING [06/2012 - ] 
  6. REPLACE CERTIFICATION ECU (SMART KEY ECU ASSEMBLY). Refer to  REMOVAL [06/2012 - ] 
  7. REPLACE REAR DOOR OUTSIDE HANDLE ASSEMBLY LH (REAR DOOR LH). Refer to  DISASSEMBLY [06/2012 - ]