LEMON Manuals: Even more car manuals for everyone
Home >> Lexus >> 2013 >> ES 300h >> Repair and Diagnosis (Single Page) >> Engine Performance >> System >> Engine Control System (Diagnostic Codes (P0300-P148F)) >> SFI System >> DTC P0403: Exhaust Gas Recirculation Control Circuit >> Procedure

DTC P0403: Exhaust Gas Recirculation Control Circuit: Procedure

  1. PERFORM ACTIVE TEST USING TECHSTREAM (CONTROL THE EGR STEP POSITION) 
    1. Connect the Techstream to the DLC3.
    2. Turn the power switch on (IG).
    3. Turn the Techstream on.
    4. Put the engine in inspection mode (maintenance mode). Refer to INSPECTION MODE PROCEDURE [06/2012 - ] .
    5. Start the engine and warm it up until the engine coolant temperature reaches 75°C (167°F) or higher.

      HINT: 

      The A/C switch and all accessory switches should be off.

    6. Enter the following menus: Powertrain / Engine and ECT / Active Test / Control the EGR Step Position / Data List / Primary / Throttle Idle Position and MAP.
    7. Confirm that the Throttle Idle Position is ON and check the engine idling condition and MAP values in the Data List while performing the Active Test.

      HINT: 

      • Do not leave the EGR valve open for 10 seconds or more during the Active Test.
      • Be sure to return the EGR valve to step 0 when the Active Test is completed.
      • Do not open the EGR valve 30 steps or more during the Active Test.

      OK

      MAP and idling condition change in response to EGR step position when Throttle Idle Position is ON in Data List.

      Standard

      - EGR Step Position (Active Test)
      0 Steps 0 to 30 Steps
      Idling condition Steady idling Idling changes from steady to rough idling or engine stalls
      MAP
      (Data List)
      MAP value is 20 to 40 kPa(abs) [150 to 300 mmHg(abs)]
      (EGR valve is fully closed)
      MAP value is at least +10 kPa (75 mmHg) higher than when EGR valve is fully closed

      HINT: 

      During Active Test, if the idling condition does not change in response to EGR step position, then there is probably a malfunction in the EGR valve.

    NG → See step   2 

    OK → See step   6 

  2. INSPECT EGR VALVE ASSEMBLY 
    1. Inspect the EGR valve assembly. Refer to INSPECTION [06/2012 - ] .

      HINT: 

      Perform "Inspection After Repair" after replacing the EGR valve assembly. Refer to INITIALIZATION [06/2012 - ] .

    NG → See step   7 

    OK: Go to next step 

  3. CHECK TERMINAL VOLTAGE (POWER SOURCE OF EGR VALVE ASSEMBLY) 
    1. Disconnect the EGR valve assembly connector.
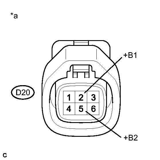
      Fig 1: EGR Valve Assembly Connector
      GTY399566Courtesy of © TOYOTA, LICENSE AGREEMENT TMS1002
    2. Turn the power switch on (IG).
    3. Measure the voltage according to the value(s) in the table below.

      Standard Voltage

      Tester Connection Condition Specified Condition
      D20-2 (+B1) - Body ground Power switch on (IG) 11 to 14 V
      D20-5 (+B2) - Body ground Power switch on (IG) 11 to 14 V
      TEXT IN ILLUSTRATION

      *a Front view of wire harness connector
      (to EGR Valve Assembly)

    NG → See step   5 

    OK: Go to next step 

  4. CHECK HARNESS AND CONNECTOR (EGR VALVE ASSEMBLY - ECM) 
    1. Disconnect the EGR valve assembly connector.
    2. Disconnect the ECM connector.
    3. Measure the resistance according to the value(s) in the table below.

      Standard Resistance

      Tester Connection Condition Specified Condition
      D20-4 (EGR1) - D24-28 (EGR1) Always Below 1 Ω
      D20-3 (EGR2) - D24-27 (EGR2) Always Below 1 Ω
      D20-6 (EGR3) - D24-26 (EGR3) Always Below 1 Ω
      D20-1 (EGR4) - D24-25 (EGR4) Always Below 1 Ω
      D20-4 (EGR1) or D24-28 (EGR1) - Body ground Always 10 kΩ or higher
      D20-3 (EGR2) or D24-27 (EGR2) - Body ground Always 10 kΩ or higher
      D20-6 (EGR3) or D24-26 (EGR3) - Body ground Always 10 kΩ or higher
      D20-1 (EGR4) or D24-25 (EGR4) - Body ground Always 10 kΩ or higher

    NG → REPAIR OR REPLACE HARNESS OR CONNECTOR 

    OK → See step   8 

  5. CHECK HARNESS AND CONNECTOR (EGR VALVE ASSEMBLY - NO. 1 INTEGRATION RELAY) 
    1. Disconnect the EGR valve assembly connector.
    2. Remove the No. 1 integration relay from the engine room relay block and junction block assembly.
    3. Measure the resistance according to the value(s) in the table below.

      Standard Resistance

      Tester Connection Condition Specified Condition
      D20-2 (+B1) - 1A-8 Always Below 1 Ω
      D20-5 (+B2) - 1A-8 Always Below 1 Ω
      D20-2 (+B1) or 1A-8 - Body ground Always 10 kΩ or higher
      D20-5 (+B2) or 1A-8 - Body ground Always 10 kΩ or higher

    NG → REPAIR OR REPLACE HARNESS OR CONNECTOR 

    OK → See step   9 

  6. CHECK FOR INTERMITTENT PROBLEMS. Refer to  CHECK FOR INTERMITTENT PROBLEMS [06/2012 - ] 
  7. REPLACE EGR VALVE ASSEMBLY. Refer to  REMOVAL [06/2012 - ] 
  8. REPLACE ECM. Refer to  REMOVAL [06/2012 - ] 
  9. REPLACE NO. 1 INTEGRATION RELAY. Refer to  REMOVAL [06/2012 - ]