LEMON Manuals: Even more car manuals for everyone
Home >> Lexus >> 2013 >> CT 200h Base >> Repair and Diagnosis (Single Page) >> Accessories & Equipment >> Communication Devices >> Lin Communication System (Diagnostic Codes) >> Lin Communication System >> DTC B1206: P/W Master Switch Communication Stop >> Procedure

DTC B1206: P/W Master Switch Communication Stop: Procedure

  1. INSPECT INSTRUMENT PANEL JUNCTION BLOCK ASSEMBLY 
    1. Remove the instrument panel junction block assembly. Refer to REMOVAL [08/2012 - ] .
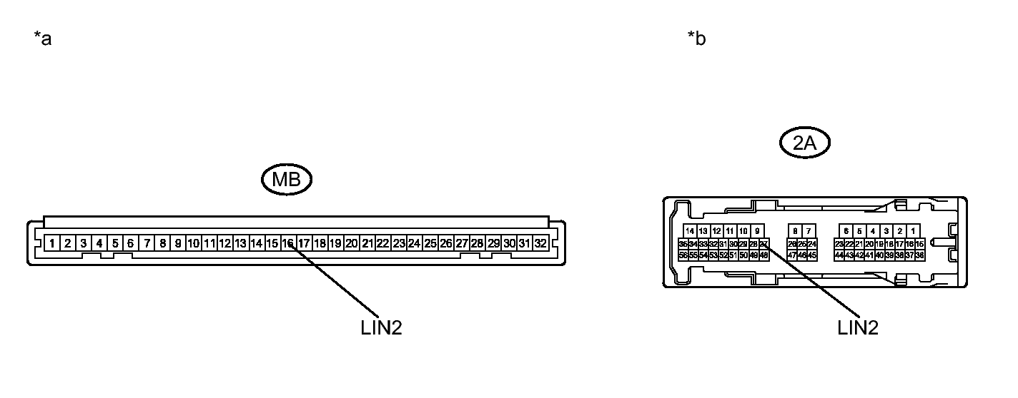
      Fig 1: Measuring Resistance At Instrument Panel Junction Block Assembly
      GTY333338Courtesy of © TOYOTA, LICENSE AGREEMENT TMS1002
    2. Remove the main body ECU (multiplex network body ECU) from the instrument panel junction block assembly.
    3. Measure the resistance according to the value(s) in the table below.

      HINT: 

      This inspection is to check the LIN line in the instrument panel junction block assembly that connects the wire harness to the built-in main body ECU (multiplex network body ECU).

      Standard Resistance

      Tester Connection Condition Specified Condition
      2A-27 (LIN2) - MB-16 (LIN2) Always Below 1 Ω
      2A-27 (LIN2) - Body ground Always 10 kΩ or higher
      TEXT IN ILLUSTRATION

      *a Component without harness connected
      (Instrument Panel Junction Block Assembly)
      *b Component without harness connected
      (Instrument Panel Junction Block Assembly)

    NG → See step   6 

    OK: Go to next step 

  2. CHECK HARNESS AND CONNECTOR (MAIN BODY ECU - MULTIPLEX NETWORK MASTER SWITCH) 
    1. Disconnect the K5 multiplex network master switch assembly connector.
    2. Measure the resistance according to the value(s) in the table below.

      Standard Resistance

      Tester Connection Condition Specified Condition
      2A-27 (LIN2) - K5-17 (LIN1) Always Below 1 Ω
      2A-27 (LIN2) - Body ground Always 10 kΩ or higher

    NG → REPAIR OR REPLACE HARNESS OR CONNECTOR 

    OK: Go to next step 

  3. CHECK HARNESS AND CONNECTOR (MULTIPLEX NETWORK MASTER SWITCH - BATTERY, BODY GROUND) 
    1. Measure the voltage according to the value(s) in the table below.

      Standard Voltage

      Tester Connection Condition Specified Condition
      K5-11 (B) - K5-12 (GND) Power switch off 11 to 14 V
    2. Measure the resistance according to the value(s) in the table below.

      Standard Resistance

      Tester Connection Condition Specified Condition
      K5-12 (GND) - Body ground Always Below 1 Ω

    NG → REPAIR OR REPLACE HARNESS OR CONNECTOR 

    OK: Go to next step 

  4. REPLACE MULTIPLEX NETWORK MASTER SWITCH ASSEMBLY 
    1. Replace the multiplex network master switch assembly. Refer to REMOVAL [08/2012 - ] .

    NEXT: Go to next step 

  5. CHECK DTC OUTPUT 
    1. Clear the DTC. Refer to DTC CHECK / CLEAR [08/2012 - ] .
    2. Recheck for DTCs.

      OK

      DTC B1206 is not output.

    NG → See step   7 

    OK → END (MULTIPLEX NETWORK MASTER SWITCH WAS DEFECTIVE) 

  6. REPLACE INSTRUMENT PANEL JUNCTION BLOCK ASSEMBLY. Refer to  REMOVAL [08/2012 - ] 
  7. REPLACE MAIN BODY ECU (MULTIPLEX NETWORK BODY ECU). Refer to  REMOVAL [08/2012 - ]