LEMON Manuals: Even more car manuals for everyone
Home >> Lexus >> 2013 >> CT 200h Base >> Repair and Diagnosis (Single Page) >> Accessories & Equipment >> Communication Devices >> Can Communication System (Diagnostic Codes & Circuit Tests) >> Can Communication System >> Symptom Tests >> Steering Angle Sensor Communication Stop Mode >> Procedure

Steering Angle Sensor Communication Stop Mode: Procedure

  1. CHECK CAN BUS LINE FOR DISCONNECTION (STEERING ANGLE SENSOR BRANCH WIRE) 
    1. Turn the power switch off.
    2. Disconnect the steering angle sensor connector.
      Fig 1: Identifying H29 Connector Terminals
      GTY355216Courtesy of © TOYOTA, LICENSE AGREEMENT TMS1002
    3. Measure the resistance according to the value(s) in the table below.

      Standard Resistance

      Tester Connection Switch Condition Specified Condition
      H29-4 (CANH) - H29-3 (CANL) Power switch off 54 to 69 Ω
      TEXT IN ILLUSTRATION

      *a Front view of wire harness connector
      (to Steering Angle Sensor)

    NG → REPAIR OR REPLACE CAN BRANCH LINE OR CONNECTOR (STEERING ANGLE SENSOR) 

    OK: Go to next step 

  2. CHECK HARNESS AND CONNECTOR (POWER SOURCE TERMINAL) 
    1. Measure the voltage according to the value(s) in the table below.
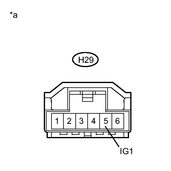
      Fig 2: Identifying H29 Connector Terminals
      GTY355217Courtesy of © TOYOTA, LICENSE AGREEMENT TMS1002

      Standard Voltage

      Tester Connection Switch Condition Specified Condition
      H29-5 (IG1) - Body ground Power switch on (IG) 11 to 14 V
      TEXT IN ILLUSTRATION

      *a Front view of wire harness connector
      (to Steering Angle Sensor)

    NG → REPAIR OR REPLACE HARNESS OR CONNECTOR (POWER SOURCE CIRCUIT) 

    OK: Go to next step 

  3. CHECK HARNESS AND CONNECTOR (GROUND TERMINAL) 
    1. Measure the resistance according to the value(s) in the table below.
      Fig 3: Identifying H29 Connector Terminals
      GTY355214Courtesy of © TOYOTA, LICENSE AGREEMENT TMS1002

      Standard Resistance

      Tester Connection Condition Specified Condition
      H29-2 (ESS) - Body ground Always Below 1 Ω
      TEXT IN ILLUSTRATION

      *a Front view of wire harness connector
      (to Steering Angle Sensor)

    NG → REPAIR OR REPLACE HARNESS OR CONNECTOR (GROUND CIRCUIT) 

    OK → See step   4 

  4. REPLACE SPIRAL CABLE WITH SENSOR SUB-ASSEMBLY. Refer to  REMOVAL [08/2012 - ]