LEMON Manuals: Even more car manuals for everyone
Home >> Lexus >> 2012 >> LS 600hL >> Repair and Diagnosis (Single Page) >> Hybrid/Electric Powertrain >> Testing and Diagnosis >> Hybrid Vehicle Control System (Diagnostic Codes (P0A1A-200 - P0A7A-325)) >> Hybrid Control System >> DTC P0A1A-200: Generator Control Module; DTC P0A1A-792: Generator Control Module; DTC P0A1A-793: Generator Control Module >> Wiring Diagram

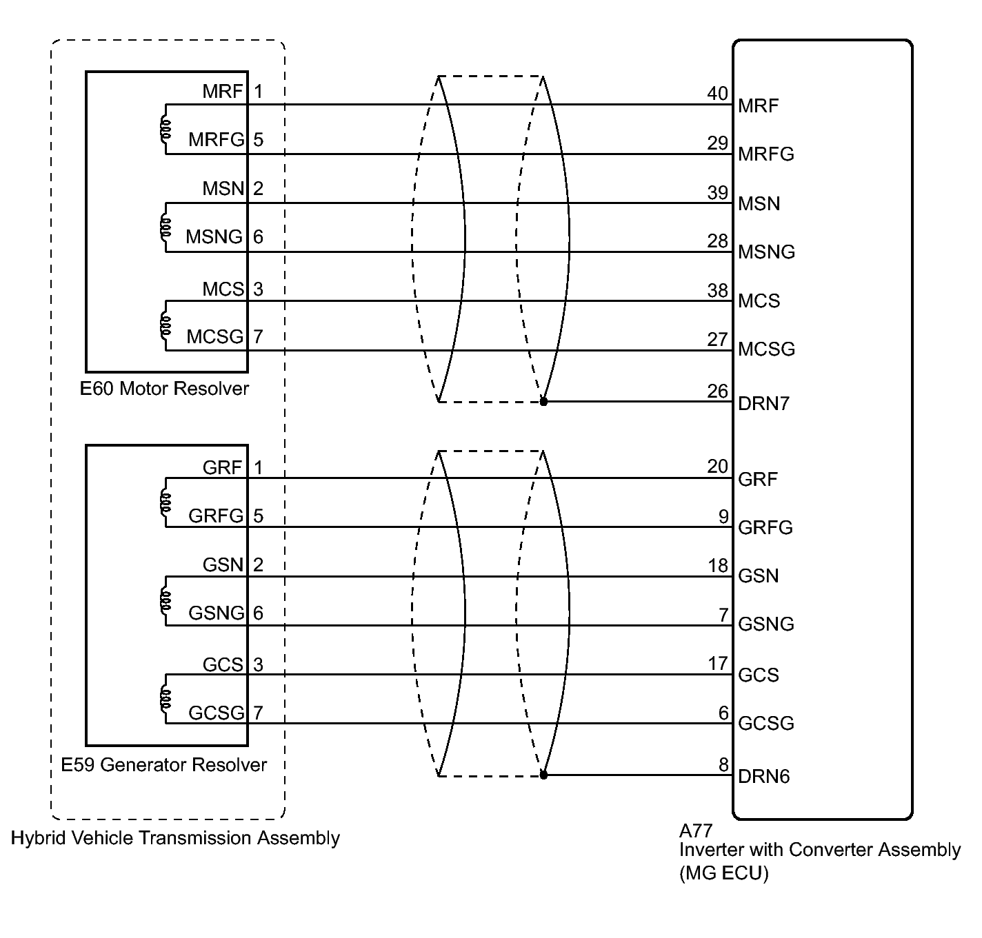
DTC P0A1A-200: Generator Control Module; DTC P0A1A-792: Generator Control Module; DTC P0A1A-793: Generator Control Module: Wiring Diagram

Fig 1: Inverter With Converter Assembly (MG ECU) Wiring Diagram
GTY122931Courtesy of © TOYOTA, LICENSE AGREEMENT TMS1002