LEMON Manuals: Even more car manuals for everyone
Home >> Lexus >> 2012 >> IS F >> Repair and Diagnosis (Single Page) >> Accessories & Equipment >> Infotainment >> LEXUS ENFORM System (Diagnostics & Circuit Tests) >> LEXUS ENFORM System >> System Diagram >> System Diagram

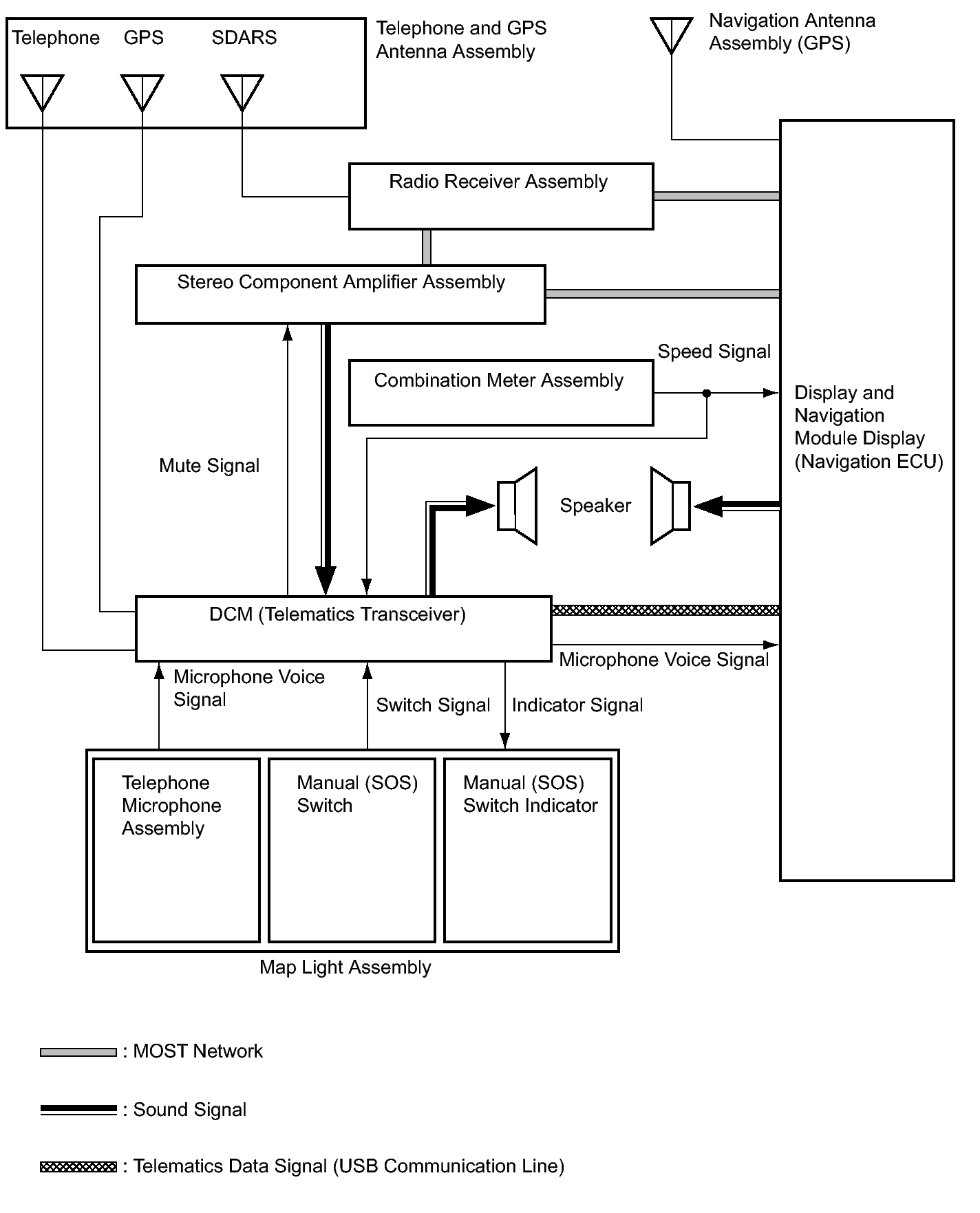
System Diagram

Fig 1: Lexus Enform System Diagram
GTY276533Courtesy of © TOYOTA, LICENSE AGREEMENT TMS1002