LEMON Manuals: Even more car manuals for everyone
Home >> Lexus >> 2012 >> IS F >> Repair and Diagnosis (Single Page) >> Accessories & Equipment >> Entertainment Systems >> Audio / Video System (W/O Navigation Display) (W/O Multi-Display) (Diagnostics & Symptom Tests) >> AUDIO AND VISUAL SYSTEM (w/o Navigation System without Multi-display) >> Circuit Tests >> Steering Pad Switch Circuit >> Procedure

Steering Pad Switch Circuit: Procedure

  1. INSPECT RADIO RECEIVER ASSEMBLY 
    1. Disconnect the radio receiver assembly connector.
      Fig 1: Identifying Radio Receiver Assembly Connector Terminals
      GTY275502Courtesy of © TOYOTA, LICENSE AGREEMENT TMS1002
    2. Measure the resistance according to the value(s) in the table below.

      Standard Resistance

      Tester Connection Condition Specified Condition
      J108-7 (SW1) - J108-6 (SWG) No switch pushed 95 to 105 kΩ
      J108-7 (SW1) - J108-6 (SWG) Seek+ switch pushed Below 2.5 Ω
      J108-7 (SW1) - J108-6 (SWG) Seek- switch pushed 312 to 345 Ω
      J108-7 (SW1) - J108-6 (SWG) Volume+ switch pushed 950 to 1050 Ω
      J108-7 (SW1) - J108-6 (SWG) Volume- switch pushed 2954 to 3265 Ω
      J108-8 (SW2) - J108-6 (SWG) No switch pushed 95 to 105 kΩ
      J108-8 (SW2) - J108-6 (SWG) MODE switch pushed Below 2.5 Ω
      J108-8 (SW2) - J108-6 (SWG) Voice switch pushed 2954 to 3265 Ω
      J108-8 (SW2) - J108-6 (SWG) On hook switch pushed 312 to 345 Ω
      J108-8 (SW2) - J108-6 (SWG) Off hook switch pushed 950 to 1050 Ω
      TEXT IN ILLUSTRATION

      *1 Front view of wire harness connector
      (to Radio Receiver Assembly)

    NG → See step   2 

    OK → See step   4 

  2. INSPECT STEERING PAD SWITCH ASSEMBLY 
    1. Disconnect the steering pad switch assembly connector.
    2. Measure the resistance according to the value(s) in the table below.
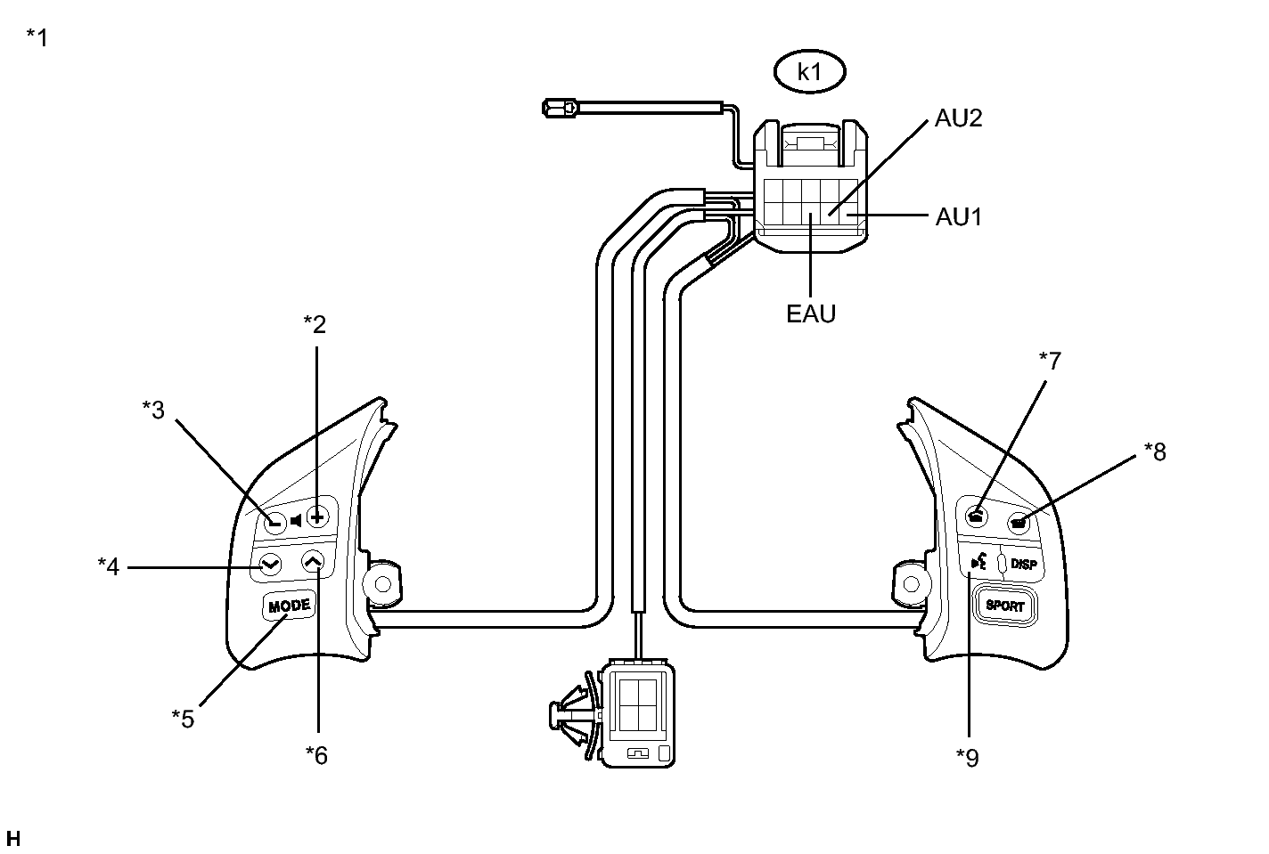
      Fig 2: Steering Pad Switch Connector End View
      GTY394061Courtesy of © TOYOTA, LICENSE AGREEMENT TMS1002

      Standard Resistance

      Tester Connection Condition Specified Condition
      k1-10 (AU1) - k1-8 (EAU) No switch pushed 95 to 105 kΩ
      k1-10 (AU1) - k1-8 (EAU) Seek+ switch pushed Below 2.5 Ω
      k1-10 (AU1) - k1-8 (EAU) Seek- switch pushed 312 to 345 Ω
      k1-10 (AU1) - k1-8 (EAU) Volume+ switch pushed 950 to 1050 Ω
      k1-10 (AU1) - k1-8 (EAU) Volume- switch pushed 2954 to 3265 Ω
      k1-9 (AU2) - k1-8 (EAU) No switch pushed 95 to 105 kΩ
      k1-9 (AU2) - k1-8 (EAU) MODE switch pushed Below 2.5 Ω
      k1-9 (AU2) - k1-8 (EAU) Voice switch pushed 2954 to 3265 Ω
      k1-9 (AU2) - k1-8 (EAU) On hook switch pushed 312 to 345 Ω
      k1-9 (AU2) - k1-8 (EAU) Off hook switch pushed 950 to 1050 Ω
      TEXT IN ILLUSTRATION

      *1 Component without harness connected
      (Steering Pad Switch Assembly)
      *2 Volume-
      *3 Volume+ *4 Seek-
      *5 Seek+ *6 MODE
      *7 Off hook *8 On hook
      *9 Voice - -

    NG → See step   6 

    OK: Go to next step 

  3. INSPECT SPIRAL CABLE SUB-ASSEMBLY 
    1. Disconnect the steering pad switch assembly and spiral cable sub-assembly connectors.
      Fig 3: Spiral Cable And Steering Pad Switch Terminal Connectors
      GTY277974Courtesy of © TOYOTA, LICENSE AGREEMENT TMS1002
    2. Measure the resistance according to the value(s) in the table below.

      Standard Resistance

      Tester Connection Condition Specified Condition
      k1-8 (EAU) - J24-4 (EAU) Center Below 1 Ω
      2.5 rotations to the left
      2.5 rotations to the right
      k1-10 (AU1) - J24-6 (AU1) Center Below 1 Ω
      2.5 rotations to the left
      2.5 rotations to the right
      k1-9 (AU2) - J24-5 (AU2) Center Below 1 Ω
      2.5 rotations to the left
      2.5 rotations to the right
      NOTE:

      The spiral cable sub-assembly is an important part of the SRS airbag system. Incorrect removal or installation of the spiral cable sub-assembly may prevent the airbag from deploying. Be sure to read the information shown in the brackets.

      HINT: 

      TEXT IN ILLUSTRATION

      *1 Steering Pad Switch Assembly Side
      *2 Vehicle Side

    NG → See step   5 

    OK → REPAIR OR REPLACE HARNESS OR CONNECTOR (SPIRAL CABLE - RADIO RECEIVER ASSEMBLY) 

  4. PROCEED TO NEXT SUSPECTED AREA SHOWN IN PROBLEM SYMPTOMS TABLE. Refer to  PROBLEM SYMPTOMS TABLE 
  5. REPLACE SPIRAL CABLE SUB-ASSEMBLY. Refer to  REMOVAL 
  6. REPLACE STEERING PAD SWITCH ASSEMBLY. Refer to  REMOVAL