LEMON Manuals: Even more car manuals for everyone
Home >> Lexus >> 2012 >> IS 350 Base, AWD >> Repair and Diagnosis (Single Page) >> Electrical >> Starter >> Smart Access System (Keyless Start) (Diagnostic Codes & Symptom Tests) >> Smart Access System With Push-Button Start >> Circuit Tests >> Engine Switch Indicator Circuit >> Wiring Diagram

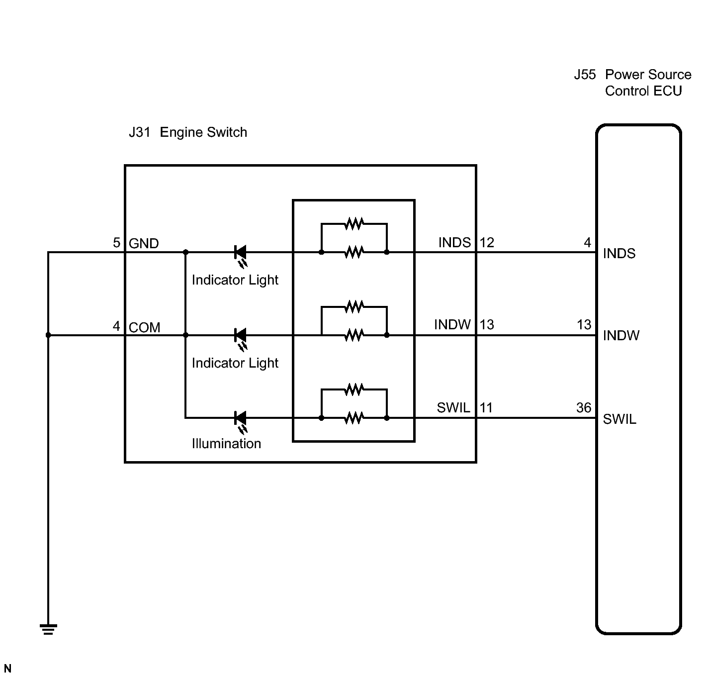
Engine Switch Indicator Circuit: Wiring Diagram

Fig 1: Identifying Engine Switch Indicator Circuit Wiring Diagram
GTY119503Courtesy of © TOYOTA, LICENSE AGREEMENT TMS1002