LEMON Manuals: Even more car manuals for everyone
Home >> Lexus >> 2012 >> IS 350 Base, AWD >> Repair and Diagnosis (Single Page) >> Accessories & Equipment >> Infotainment >> Audio Entertainment System (W/O Navigation & Multi-Display) (Diagnostic Codes & Symptom Tests) >> AUDIO AND VISUAL SYSTEM (w/o Navigation System without Multi-display) >> Circuit Tests >> Integration Control and Panel Assembly Power Source Circuit >> Procedure

Integration Control and Panel Assembly Power Source Circuit: Procedure

  1. INSPECT INTEGRATION CONTROL AND PANEL ASSEMBLY 
    1. Disconnect the integration control and panel assembly connector.
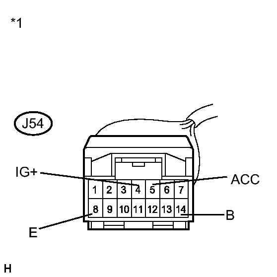
      Fig 1: Identifying J54 Integration Control & Panel Connector Terminals
      GTY351161Courtesy of © TOYOTA, LICENSE AGREEMENT TMS1002
    2. Measure the resistance according to the value(s) in the table below.

      Standard Resistance

      Tester Connection Condition Specified Condition
      J54-8 (E) - Body ground Always Below 1 Ω
    3. Measure the voltage according to the value(s) in the table below.

      Standard Voltage

      Tester Connection Condition Specified Condition
      J54-14 (B) - J54-8 (E) Always 11 to 14 V
      J54-5 (ACC) - J54-8 (E) Engine switch on (ACC) 11 to 14 V
      J54-4 (IG+) - J54-8 (E) Engine switch on (IG) 11 to 14 V
      TEXT IN ILLUSTRATION

      *1 Front view of wire harness connector
      (to Integration Control and Panel Assembly)

    NG → REPAIR OR REPLACE HARNESS OR CONNECTOR 

    OK → See step   2 

  2. PROCEED TO NEXT SUSPECTED AREA SHOWN IN PROBLEM SYMPTOMS TABLE. Refer to  PROBLEM SYMPTOMS TABLE