LEMON Manuals: Even more car manuals for everyone
Home >> Lexus >> 2012 >> IS 250C Automatic Trans >> Repair and Diagnosis >> Steering >> Steering Column >> Steering Column (Service Information) >> Steering Pad Switch >> Inspection >> Inspection

Steering Pad Switch: Inspection: Inspection

  1. INSPECT STEERING PAD SWITCH ASSEMBLY 
    1. Measure the resistance according to the value(s) in the table below.
      Fig 1: Measure The Resistance Steering Pad Switch Assembly
      GTY395288Courtesy of © TOYOTA, LICENSE AGREEMENT TMS1002

      Standard Resistance

      Tester Connection Switch Condition Specified Condition
      z2-1 (HO) - Terminal A Always Below 1 Ω
      z2-4 (DIST) - z2-6 (ECC) No switch pushed 10 k Ωor higher
      Distance control switch: ON Below 2.5 Ω
      z2-7 (DISP) - z2-8 (EAU) No switch pushed 99 to 101 Ω
      DISP switch: pushed Below 2.5 Ω
      z2-9 (AU2) - z2-8 (EAU) No switch pushed 95 to 105 kΩ
      MODE switch: pushed Below 2.5 Ω
      Voice switch: pushed 2954 to 3265 Ω
      On Hook switch: pushed 312 to 345 Ω
      Off Hook switch: pushed 950 to 1050 Ω
      z2-10 (AU1) - z2-8 (EAU) No switch pushed 95 to 105 kΩ
      Seek+ switch: pushed Below 2.5 Ω
      Seek- switch: pushed 312 to 345 Ω
      Volume+ switch: pushed 950 to 1050 Ω
      Volume- switch: pushed 2954 to 3265 Ω
      z2-2 (SFTU) - z3-2 (SFTU) Always Below 1 Ω
      z2-3 (SFTD) - z3-1 (SFTD) Always Below 1 Ω
      z2-6 (ECC) - z3-4 (ECC) Always Below 1 Ω

      HINT: 

      If the result is not as specified, replace the steering pad switch assembly.

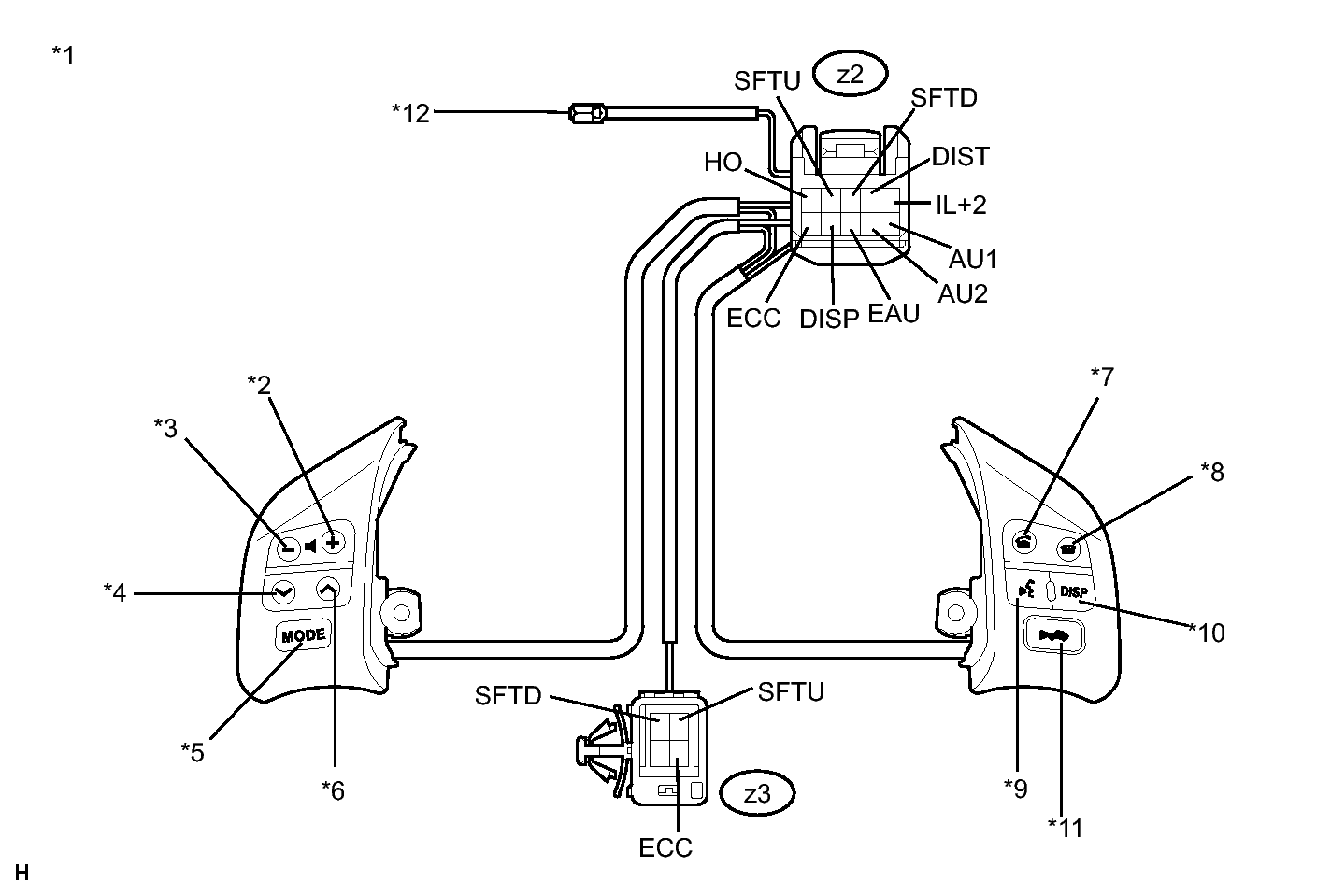
      TEXT IN ILLUSTRATION

      *1 Component without harness connected
      (Steering Pad Switch Assembly)
      *2 Volume+
      *3 Volume- *4 Seek-
      *5 MODE *6 Seek+
      *7 Off Hook *8 On Hook
      *9 Voice switch *10 DISP switch
      *11 Distance control switch *12 Terminal-A
    2. Check the illumination
      Fig 2: Identifying Steering Pad Switch Assembly Illumination
      GTY277289Courtesy of © TOYOTA, LICENSE AGREEMENT TMS1002
      1. Connect a positive (+) lead to terminal IL+2 and a negative (-) lead to terminal EAU of the steering pad switch assembly connector.
      2. Check that the switch illumination comes on.

        OK

        Steering pad switch illumination comes on.

        HINT: 

        If the result is not as specified, replace the steering pad switch assembly.

        TEXT IN ILLUSTRATION

        *1 Component without harness connected
        (Steering Pad Switch Assembly)