LEMON Manuals: Even more car manuals for everyone
Home >> Lexus >> 2012 >> IS 250C Automatic Trans >> Repair and Diagnosis >> Electrical >> Starter >> Smart Access System With Push-Button Start (For Entry Function) (Diagnostics & Symptom Tests) >> SMART ACCESS SYSTEM WITH PUSH-BUTTON START (for Entry Function) >> Symptom Tests >> Room Oscillator does not Recognize Key >> Procedure

Room Oscillator does not Recognize Key: Procedure

  1. CHECK SMART ACCESS SYSTEM WITH PUSH-BUTTON START (ENTRY FUNCTION) 
    1. Check that entry lock and unlock functions can be operated at each door. Refer to OPERATION CHECK .

      OK

      Entry lock and unlock functions operate normally.

    NG → See step   11 

    OK: Go to next step 

  2. CHECK SMART ACCESS SYSTEM WITH PUSH-BUTTON START (START FUNCTION) 
    1. Remove the battery of the key. Refer to REMOVAL .
      Fig 1: Operating Push Button Start Function When Key Battery Is Low
      GTY269473Courtesy of © TOYOTA, LICENSE AGREEMENT TMS1002
    2. With the brake pedal depressed, touch the engine switch while facing the logo side of the key to the engine switch.
    3. When operating the engine switch, check whether the power source mode changes.

      OK

      Power source mode changes.

      HINT: 

      • When the key cannot be verified even though it is within the specified range, the engine start check can be performed by removing the transmitter battery from the key and holding the transmitter close to the engine switch.
      • When performing the check, if the power source mode changes, there is a problem with key certification inside the cabin.

    NG → GO TO SMART ACCESS SYSTEM WITH PUSH-BUTTON START (for Start Function) (Proceed to Power Source Mode does not Change) 

    OK: Go to next step 

  3. CHECK WAVE ENVIRONMENT 
    1. Install the battery to the key. Refer to INSTALLATION .
    2. Bring the key near the indoor electrical key oscillator (for front floor), and perform an engine start check.
      NOTE:

      If the key is brought within 0.2 m (0.656 ft.) of the indoor electrical key oscillator (for front floor), communication is not possible.

    3. Bring the key near the indoor electrical key oscillator (for rear floor), and perform an engine start check*.
      NOTE:

      If the key is brought within 0.2 m (0.656 ft.) of the indoor electrical key oscillator (for rear floor), communication is not possible.

      HINT: 

      • *: If the customize setting for Ignition Available Area is not set All, the hybrid vehicle control system will not start. Before performing this inspection, check that All has been selected. Refer to CUSTOMIZE PARAMETERS .
      • When the key is brought near the indoor electrical key oscillator, the possibility of wave interference decreases, and it can be determined if wave interference is causing the problem symptom.
      • If the operation check is normal, the possibility of wave interference is high. Also, added vehicle components may cause wave interference. If installed, remove them and perform the operation check.

      OK

      The engine starts.

    NG → See step   4 

    OK → AFFECTED BY WAVE INTERFERENCE 

  4. PERFORM KEY DIAGNOSTIC MODE INSPECTION 
    1. Diagnostic mode inspection (indoor electrical key oscillator (for front floor))
      Fig 2: Checking The Entry Ignition Function
      GTY282343Courtesy of © TOYOTA, LICENSE AGREEMENT TMS1002
      1. Connect the Techstream to the DLC3.
      2. Turn the engine switch on (IG).
      3. Turn the Techstream on.
      4. Enter the following menus: Body Electrical / Smart Access / Utility / Communication Check (Key Diag Mode) / Overhead + Front Room.
      5. When the key is placed on the driver seat or front passenger seat cushion, check that the wireless door lock buzzer sounds.

        HINT: 

        Place the key on the driver or front passenger seat cushion.

    2. Diagnostic mode inspection (indoor electrical key oscillator (for rear floor))
      Fig 3: Identifying Inspecting Point
      GTY281983Courtesy of © TOYOTA, LICENSE AGREEMENT TMS1002
      1. Connect the Techstream to the DLC3.
      2. Turn the engine switch on (IG).
      3. Turn the Techstream on.
      4. Enter the following menus: Body Electrical / Smart Access / Utility / Communication Check (Key Diag Mode) / Overhead + Rear Room.
      5. When the key is placed on the rear seat cushion, check that the wireless door lock buzzer sounds.

        HINT: 

        • Place the key on the rear seat cushion.
        • If the buzzer sounds, it can be determined that the indoor electrical key oscillators are operating normally.
        RESULT

        Result Proceed to
        Wireless door lock buzzer does not sound only for indoor electrical key oscillator (for front floor). A
        Wireless door lock buzzer does not sound only for indoor electrical key oscillator (for rear floor). B
        Wireless door lock buzzer sounds for all indoor electrical key oscillators. C

    B → See step   7 

    C → See step   9 

    A: Go to next step 

  5. CHECK HARNESS AND CONNECTOR (CERTIFICATION ECU - INDOOR ELECTRICAL KEY OSCILLATOR) 
    1. Disconnect the certification ECU (smart key ECU assembly) connector.
    2. Disconnect the indoor electrical key oscillator (for front floor) connector.
      Fig 4: P33 & P15 Connector Terminal Identification
      GTY273690Courtesy of © TOYOTA, LICENSE AGREEMENT TMS1002
    3. Measure the resistance according to the value(s) in the table below.
      STANDARD RESISTANCE

      Tester Connection Condition Specified Condition
      P33-11 (CLG5) - P15-1 (CLG3) Always Below 1 Ω
      P33-12 (CG5B) - P15-3 (CLGB) Always Below 1 Ω
      P33-11 (CLG5) - Body ground Always 10 kΩ or higher
      P33-12 (CG5B) - Body ground Always 10 kΩ or higher
      TEXT IN ILLUSTRATION

      *1 Front view of wire harness connector
      (to Certification ECU (Smart Key ECU Assembly))
      *2 Front view of wire harness connector
      (to Indoor Electrical Key Oscillator (for Front Floor))

    NG → REPAIR OR REPLACE HARNESS OR CONNECTOR 

    OK: Go to next step 

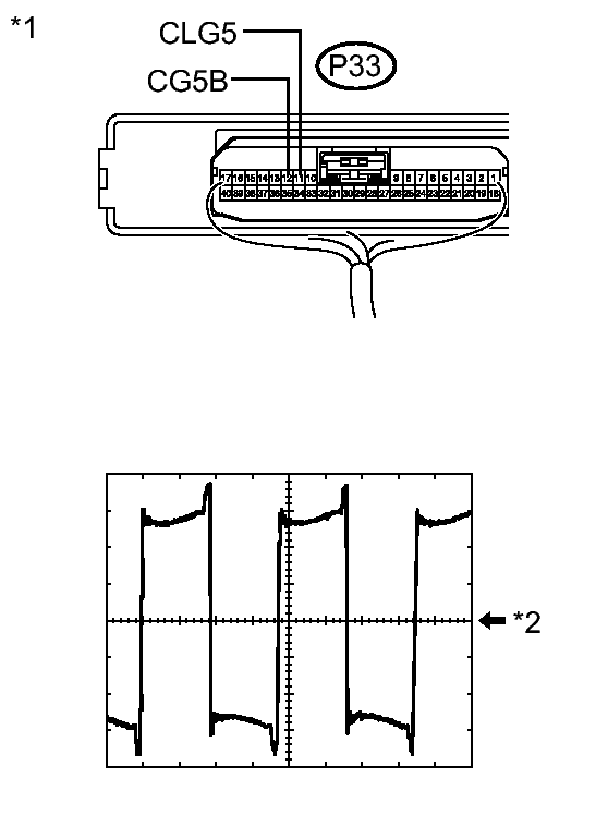
  6. INSPECT INDOOR ELECTRICAL KEY OSCILLATOR (for Front Floor) 
    1. Measure the voltage according to the value(s) in the table below.
      Fig 5: Inspecting Indoor Electrical Key Oscillator (For Front Floor) & Pulse generation
      GTY287695Courtesy of © TOYOTA, LICENSE AGREEMENT TMS1002
      STANDARD VOLTAGE

      Tester Connection Tool Setting Switch Condition Specified Condition
      P33-11 (CLG5) - P33-12 (CG5B) 2 V/DIV, 2 μs/DIV. (Reference) Engine switch on (IG) Pulse generation
      TEXT IN ILLUSTRATION

      *1 Component with harness connected
      (Certification ECU (Smart Key ECU Assembly))
      *2 GND

    NG → See step   10 

    OK → See step   12 

  7. CHECK HARNESS AND CONNECTOR (CERTIFICATION ECU - INDOOR ELECTRICAL KEY OSCILLATOR) 
    1. Disconnect the certification ECU (smart key ECU assembly) connector.
    2. Disconnect the indoor electrical key oscillator (for rear floor) connector.
      Fig 6: P33 & Q24 Connector Terminal Identification
      GTY273689Courtesy of © TOYOTA, LICENSE AGREEMENT TMS1002
    3. Measure the resistance according to the value(s) in the table below.
      STANDARD RESISTANCE

      Tester Connection Condition Specified Condition
      P33-13 (CLG6) - Q24-1 (CLG4) Always Below 1 Ω
      P33-14 (CG6B) - Q24-3 (CLGB) Always Below 1 Ω
      P33-13 (CLG6) - Body ground Always 10 kΩ or higher
      P33-14 (CG6B) - Body ground Always 10 kΩ or higher
      TEXT IN ILLUSTRATION

      *1 Front view of wire harness connector
      (to Certification ECU (Smart Key ECU Assembly))
      *2 Front view of wire harness connector
      (to Indoor Electrical Key Oscillator (for Rear Floor))

    NG → REPAIR OR REPLACE HARNESS OR CONNECTOR 

    OK: Go to next step 

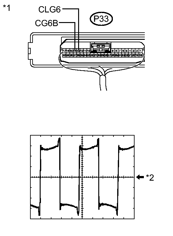
  8. INSPECT INDOOR ELECTRICAL KEY OSCILLATOR (for Rear Floor) 
    1. Measure the voltage according to the value(s) in the table below.
      Fig 7: Inspecting Indoor Electrical Key Oscillator (For Rear Floor) & Pulse Generation
      GTY280702Courtesy of © TOYOTA, LICENSE AGREEMENT TMS1002
      STANDARD VOLTAGE

      Tester Connection Tool Setting Switch Condition Specified Condition
      P33-13 (CLG6) - P33-14 (CG6B) 2 V/DIV, 2 μs/DIV. (Reference) Engine switch on (IG) Pulse generation
      TEXT IN ILLUSTRATION

      *1 Component with harness connected
      (Certification ECU (Smart Key ECU Assembly))
      *2 GND

    NG → See step   10 

    OK → See step   13 

  9. REPLACE CERTIFICATION ECU (SMART KEY ECU ASSEMBLY). Refer to  REMOVAL 
  10. REPLACE CERTIFICATION ECU (SMART KEY ECU ASSEMBLY). Refer to  REMOVAL 
  11. GO TO OTHER PROBLEM (Proceed to Problem Symptoms Table for Each Door). Refer to  PROBLEM SYMPTOMS TABLE  
  12. REPLACE INDOOR ELECTRICAL KEY OSCILLATOR (for Front Floor). Refer to  REMOVAL 
  13. REPLACE INDOOR ELECTRICAL KEY OSCILLATOR (for Rear Floor). Refer to  REMOVAL