LEMON Manuals: Even more car manuals for everyone
Home >> Lexus >> 2012 >> IS 250C Automatic Trans >> Repair and Diagnosis (Single Page) >> Steering >> Steering Column >> Power Tilt & Telescopic Steering Column System (Diagnostic Codes & Circuit Tests) >> Power Tilt And Power Telescopic Steering Column System >> Circuit Tests >> Actuator Power Source Circuit >> Procedure

Actuator Power Source Circuit: Procedure

  1. INSPECT FUSE (TI & TE) 
    1. Remove the TI & TE fuse from the main body ECU RH (cowl side junction block RH).
    2. Measure the resistance according to the value(s) in the table below.

      Standard Resistance

      Tester Connection Condition Specified Condition
      TI & TE fuse Always Below 1 Ω

    NG → REPLACE FUSE 

    OK: Go to next step 

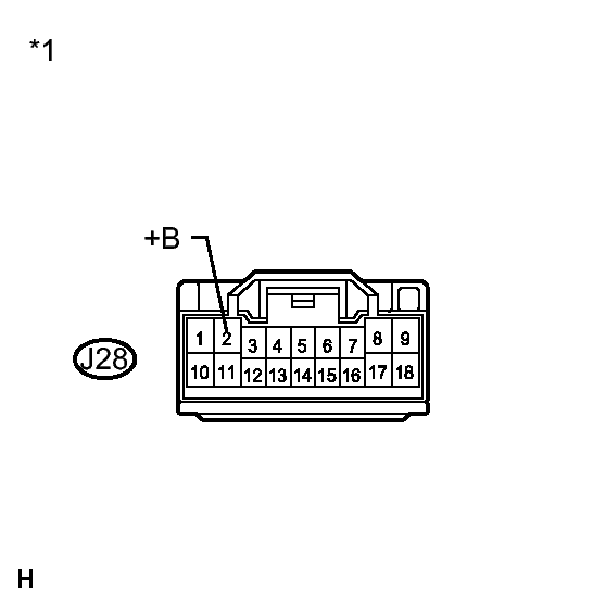
  2. CHECK HARNESS AND CONNECTOR (MULTIPLEX TILT AND TELESCOPIC ECU - BATTERY) 
    1. Disconnect the J28 connector from the multiplex tilt and telescopic ECU.
      Fig 1: Identifying J28 Connector Terminals
      GTY264356Courtesy of © TOYOTA, LICENSE AGREEMENT TMS1002
    2. Measure the voltage according to the value(s) in the table below.

      Standard Voltage

      Tester Connection Condition Specified Condition
      J28-2 (+B) - Body ground Always 11 to 14 V
      TEXT IN ILLUSTRATION

      *1 Front view of wire harness connector
      (to Multiplex Tilt and Telescopic ECU)

    NG → See step   4 

    OK: Go to next step 

  3. CHECK HARNESS AND CONNECTOR (MULTIPLEX TILT AND TELESCOPIC ECU - BODY GROUND) 
    1. Measure the resistance according to the value(s) in the table below.
      Fig 2: Identifying J28 Connector Terminals
      GTY285939Courtesy of © TOYOTA, LICENSE AGREEMENT TMS1002

      Standard Resistance

      Tester Connection Condition Specified Condition
      J28-11 (GND) - Body ground Always Below 1 Ω
      TEXT IN ILLUSTRATION

      *1 Front view of wire harness connector
      (to Multiplex Tilt and Telescopic ECU)

    NG → REPAIR OR REPLACE HARNESS OR CONNECTOR 

    OK → See step   5 

  4. CHECK HARNESS AND CONNECTOR (MULTIPLEX TILT AND TELESCOPIC ECU - MAIN BODY ECU RH) 
    1. Disconnect the RA connector from the main body ECU RH (cowl side junction block RH).
    2. Measure the resistance according to the value(s) in the table below.

      Standard Resistance

      Tester Condition Condition Specified Condition
      J28-2 (+B) - RA-15 Always Below 1 Ω
      J28-2 (+B) - Body ground Always 10 kΩ or higher

    NG → REPAIR OR REPLACE HARNESS OR CONNECTOR (MULTIPLEX TILT AND TELESCOPIC ECU - MAIN BODY ECU RH) 

    OK → REPAIR OR REPLACE HARNESS OR CONNECTOR (BATTERY - MAIN BODY ECU RH (COWL SIDE JUNCTION BLOCK RH)) 

  5. PROCEED TO NEXT SUSPECTED AREA SHOWN IN PROBLEM SYMPTOMS TABLE. Refer to  PROBLEM SYMPTOMS TABLE