LEMON Manuals: Even more car manuals for everyone
Home >> Lexus >> 2012 >> IS 250C Automatic Trans >> Repair and Diagnosis (Single Page) >> Accessories & Equipment >> Entertainment Systems >> Audio / Video System (W/O Navigation & Multi-Display) (Diagnostic Codes & Symptom Tests) >> AUDIO AND VISUAL SYSTEM (w/o Navigation System without Multi-display) >> Circuit Tests >> Vehicle Speed Signal Circuit between Radio Receiver and Combination Meter >> Procedure

Vehicle Speed Signal Circuit between Radio Receiver and Combination Meter: Procedure

  1. CHECK HARNESS AND CONNECTOR (RADIO RECEIVER ASSEMBLY - COMBINATION METER ASSEMBLY) 
    1. Disconnect the radio receiver assembly connector.
      Fig 1: J96 Connector Terminal Identification
      GTY275486Courtesy of © TOYOTA, LICENSE AGREEMENT TMS1002
    2. Disconnect the combination meter assembly connector.
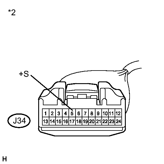
      Fig 2: J34 Connector Terminal Identification
      GTY271874Courtesy of © TOYOTA, LICENSE AGREEMENT TMS1002
    3. Measure the resistance according to the value(s) in the table below.
      STANDARD RESISTANCE

      Tester Connection Condition Specified Condition
      J96-3 (SPD) - J34-5 (+S) Always Below 1 Ω
      J96-3 (SPD) - Body ground Always 10 kΩ or higher
      TEXT IN ILLUSTRATION

      *1 Front view of wire harness connector
      (to Radio Receiver Assembly)
      *2 Front view of wire harness connector
      (to Combination Meter Assembly)

    NG → REPAIR OR REPLACE HARNESS OR CONNECTOR 

    OK: Go to next step 

  2. INSPECT COMBINATION METER ASSEMBLY (OUTPUT WAVEFORM) 
    1. Reconnect the combination meter assembly connector.
    2. Check the output waveform.
      Fig 3: J96 Connector Terminal Identification
      GTY275486Courtesy of © TOYOTA, LICENSE AGREEMENT TMS1002
      1. Connect an oscilloscope to terminal J96-3 (SPD) and body ground.
      2. Turn the engine switch on (IG).
      3. Turn a wheel slowly.
      4. Check the signal waveform according to the condition(s) in the table below.
        Fig 4: Identifying Waveform Graph
        GTY275411Courtesy of © TOYOTA, LICENSE AGREEMENT TMS1002
        Item Condition
        Measurement terminal J96-3 (SPD) - Body ground
        Tool setting 5 V/DIV., 20 ms./DIV.
        Vehicle condition Wheel being rotated

        OK

        The waveform is similar to that shown in the illustration.

        HINT: 

        When the system is functioning normally, one wheel revolution generates 4 pulses. As the vehicle speed increases, the width indicated by (A) in the illustration narrows.

        TEXT IN ILLUSTRATION

        *1 Front view of wire harness connector
        (to Radio Receiver Assembly)

    NG → See step   4 

    OK → See step   3 

  3. REPLACE RADIO RECEIVER ASSEMBLY. Refer to  REMOVAL 
  4. REPLACE COMBINATION METER ASSEMBLY. Refer to  REMOVAL