LEMON Manuals: Even more car manuals for everyone
Home >> Lexus >> 2012 >> IS 250 Base, AWD >> Repair and Diagnosis >> External Pages >> Different car >> Section 10 (Engine Control System (Diagnostics - Introduction)) >> SFI System >> Terminals Of ECM >> Terminals Of ECM

Terminals Of ECM

WARNING: This page is about a different car, the 2012 Lexus IS 350. However, it is still accessible from the selected car via links, so may be relevant.
Fig 1: Identifying ECM Connector Terminals Identification
GTY145277Courtesy of © TOYOTA, LICENSE AGREEMENT TMS1002

HINT: 

The standard normal voltage between each pair of the ECM terminals is shown in the table below. The appropriate conditions for checking each pair of the terminals are also indicated. The result of checks should be compared with the standard normal voltage for that pair of terminals, displayed in the Specified Condition column. The illustration above can be used as a reference to identify the ECM terminal locations.

Symbols (Terminal No.) Wiring Color Terminal Description Condition Specified Condition
BATT (A5-4) - E1 (E4-7) L - BR Battery (for measuring battery voltage and for ECM memory) Always 9 to 14 V
+BM (E3-5) - E1 (E4-7) P - BR Power source of throttle motor Always 9 to 14 V
IGSW (A5-17) - E1 (E4-7) B-W - BR Engine switch Engine switch on (IG) 9 to 14 V
+B (A5-6) - E1 (E4-7) B-R - BR Power source of ECM Engine switch on (IG) 9 to 14 V
+B1 (A5-5) - E1 (E4-7) B-R - BR Power source of ECM Engine switch on (IG) 9 to 14 V
OC1+ (E3-34) - OC1- (E3-33) W - Y-B Camshaft timing oil control valve (OCV) (Intake side (bank 1)) Idling Pulse generation
(see waveform 1)
OC2+ (E5-9) - OC2- (E5-8) LG - L-B Camshaft timing oil control valve (OCV) (Intake side (bank 2)) Idling Pulse generation
(see waveform 1)
OE1+ (E3-9) - OE1- (E3-8) LG - L-W Camshaft timing oil control valve (OCV) (Exhaust side (bank 1)) Idling Pulse generation
(see waveform 1)
OE2+ (E5-24) - OE2- (E5-23) R-B - G-B Camshaft timing oil control valve (OCV) (Exhaust side (bank 2)) Idling Pulse generation
(see waveform 1)
MREL (A5-13) - E1 (E4-7) Y - BR EFI MAIN relay Engine switch on (IG) 9 to 14 V
ACCR (A5-11) - E1 (E4-7) W-L - BR ACC relay cut signal Engine switch on (IG) → cranking 9 to 14 V → Below 1 V
IREL (A6-10) - E1 (E4-7) B - BR INJ relay Engine switch on (IG) 9 to 14 V
VCTA (E3-27) - ETA (E3-26) L - Y Power source for throttle position sensor (specific voltage) Engine switch on (IG) 4.5 to 5.0 V
VCV1 (E3-23) - E1 (E4-7) L-Y - BR Power source for VVT sensor (specific voltage) Engine switch on (IG) 4.5 to 5.0 V
VCE1 (E6-22) - E1 (E4-7) Y - BR Power source for VVT sensor specific voltage) Engine switch on (IG) 4.5 to 5.0 V
VCE2 (E6-19) - E1 (E4-7) L - BR Power source for VVT sensor (specific voltage) Engine switch on (IG) 4.5 to 5.0 V
VCV2 (E3-20) - E1 (E4-7) L - BR Power source for VVT sensor (specific voltage) Engine switch on (IG) 4.5 to 5.0 V
VCPR (E6-31) - EPR (E6-30) L - BR Power source for fuel pressure sensor (specific voltage) Engine switch on (IG) 4.5 to 5.0 V
VCPP (A5-22) - EPPM (A5-23) L - BR-R Power source for canister pressure sensor (specific voltage) Engine switch on (IG) 4.5 to 5.0 V
VG (E5-27) - E2G (E5-26) G-B - B-W Mass air flow meter Idling, Shift lever position P or N, A/C switch OFF 0.5 to 3.0 V
THA (E5-18) - ETHA (E5-19) G - BR Intake air temperature sensor Idling, Intake air temperature 20°C (68°F) 0.5 to 3.4 V
THW (E5-20) - ETHW (E5-21) R - BR Engine coolant temperature sensor Idling, Engine coolant temperature 80°C (176°F) 0.2 to 1.0 V
VTA1 (E3-25) - ETA (E3-26) R-B - Y Throttle position sensor (for engine control) Accelerator pedal fully released 0.5 to 1.1 V
VTA1 (E3-25) - ETA (E3-26) R-B - Y Throttle position sensor (for engine control) Accelerator pedal fully depressed 3.2 to 4.8 V
VTA2 (E3-24) - ETA (E3-26) L-B - Y Throttle position sensor (for sensor malfunction detection) Accelerator pedal fully released 2.1 to 3.1 V
VTA2 (E3-24) - ETA (E3-26) L-B - Y Throttle position sensor (for sensor malfunction detection) Accelerator pedal fully depressed 4.6 to 5.0 V
VPA (A6-33) - EPA (A6-34) G-W - L-Y Accelerator pedal position sensor (for engine control) Accelerator pedal fully released 0.5 to 1.1 V
VPA (A6-33) - EPA (A6-34) G-W - L-Y Accelerator pedal position sensor (for engine control) Accelerator pedal fully depressed 2.6 to 4.5 V
VPA2 (A6-32) - EPA2 (A6-26) P-L - G-B Accelerator pedal position sensor (for sensor malfunctioning detection) Accelerator pedal fully released 1.2 to 2.0 V
VPA2 (A6-32) - EPA2 (A6-26) P-L - G-B Accelerator pedal position sensor (for sensor malfunctioning detection) Accelerator pedal fully depressed 3.4 to 5.0 V
VCPA (A6-35) - EPA (A6-34) P - L-Y Power source of accelerator pedal position sensor (for VPA) Engine switch on (IG) 4.5 to 5.0 V
VCP2 (A6-27) - EPA2 (A6-26) G-R - G-B Power source of accelerator pedal position sensor (for VPA2) Engine switch on (IG) 4.5 to 5.0 V
HA1A (E6-6) - E04 (E6-5)
HA2A (E6-4) - E05 (E6-3)
V - W-B
B-L - W-B
A/F sensor heater Idling Pulse generation
(see waveform 2)
HA1A (E6-6) - E04 (E6-5)
HA2A (E6-4) - E05 (E6-3)
V - W-B
B-L - W-B
A/F sensor heater Engine switch on (IG) 9 to 14 V
A1A+ (E6-18) - E1 (E4-7) R - BR A/F sensor Engine switch on (IG) 3.3 V*
A2A+ (E6-28) - E1 (E4-7) B - BR A/F sensor Engine switch on (IG) 3.3 V*
A1A- (E6-17) - E1 (E4-7) G - BR A/F sensor Engine switch on (IG) 2.9 V*
A2A- (E6-27) - E1 (E4-7) W - BR A/F sensor Engine switch on (IG) 2.9 V*
HT1B (A6-2) - E03 (E3-6)
HT2B (A6-1) - E03 (E3-6)
L-R - W-B
L-W - W-B
Heated oxygen sensor heater Idling Below 3.0 V
HT1B (A6-2) - E03 (E3-6)
HT2B (A6-1) - E03 (E3-6)
L-R - W-B
L-W - W-B
Heated oxygen sensor heater Engine switch on (IG) 9 to 14 V
OX1B (A6-28) - O1B- (A6-29)
OX2B (A6-17) - O2B- (A6-18)
R - G
B - W
Heated oxygen sensor Engine speed maintained at 2500 rpm for 2 minutes after warning up engine Pulse generation
(see waveform 3)
#10 (E3-16) - E1 (E4-7)
#20 (E5-14) - E1 (E4-7)
#30 (E3-12) - E1 (E4-7)
#40 (E5-11) - E1 (E4-7)
#50 (E3-30) - E1 (E4-7)
#60 (E5-28) - E1 (E4-7)
G-W - BR
B-Y - BR
P-L - BR
LG-B - BR
V - BR
R-B - BR
Injector for direct injection Engine switch on (IG) 0 to 5 V
#10 (E3-16) - E1 (E4-7)
#20 (E5-14) - E1 (E4-7)
#30 (E3-12) - E1 (E4-7)
#40 (E5-11) - E1 (E4-7)
#50 (E3-30) - E1 (E4-7)
#60 (E5-28) - E1 (E4-7)
G-W - BR
B-Y - BR
P-L - BR
LG-B - BR
V - BR
R-B - BR
Injector for direct injection Idling with warm engine Pulse generation
(see waveform 4, 15)
#1P (E3-15) - E1 (E4-7)
#2P (E5-17) - E1 (E4-7)
#3P (E3-14) - E1 (E4-7)
#4P (E5-16) - E1 (E4-7)
#5P (E3-13) - E1 (E4-7)
#6P (E5-15) - E1 (E4-7)
Y-B - BR
B-Y - BR
L-W - BR
LG - BR
R-W - BR
R - BR
Injector for port injection Engine switch on (IG) 0 to 5 V
#1P (E3-15) - E1 (E4-7)
#2P (E5-17) - E1 (E4-7)
#3P (E3-14) - E1 (E4-7)
#4P (E5-16) - E1 (E4-7)
#5P (E3-13) - E1 (E4-7)
#6P (E5-15) - E1 (E4-7)
Y-B - BR
B-Y - BR
L-W - BR
LG - BR
R-W - BR
R - BR
Injector for port injection Idling Pulse generation
(see waveform 5)
KNK1 (E4-28) - EKNK (E4-30) B - W Knock sensor Engine speed maintained at 4000 rpm after warning up engine Pulse generation
(see waveform 6)
KNK2 (E4-29) - EKN2 (E4-31) R - G Knock sensor Engine speed maintained at 4000 rpm after warning up engine Pulse generation
(see waveform 6)
VV1+ (E3-21) - VV1- (E3-22) Y - L-Y Variable valve timing (VVT) sensor (Intake side (bank 1)) Idling Pulse generation
(see waveform 7)
VV2+ (E3-18) - VV2- (E3-19) R-L - W Variable valve timing (VVT) sensor (Intake side (bank 2)) Idling Pulse generation
(see waveform 7)
NE+ (E3-32) - NE- (E3-31) R - G Crankshaft position sensor Idling Pulse generation
(see waveform 7, 8)
EV1+ (E6-24) - EV1- (E6-23) B - B Variable valve timing (VVT) sensor (Exhaust side (bank 1)) Idling Pulse generation
(see waveform 8)
EV2+ (E6-21) - EV2- (E6-20) G - R Variable valve timing (VVT) sensor (Exhaust side (bank 2)) Idling Pulse generation
(see waveform 8)
IGT1 (E5-13) - E1 (E4-7)
IGT2 (E6-14) - E1 (E4-7)
IGT3 (E5-10) - E1 (E4-7)
IGT4 (E5-12) - E1 (E4-7)
IGT5 (E6-13) - E1 (E4-7)
IGT6 (E6-12) - E1 (E4-7)
L-R - BR
L-B - BR
V - BR
P-L - BR
W-L - BR
W-L - BR
Ignition coil (ignition signal) Idling Pulse generation
(see waveform 9)
IGF1 (E5-7) - E1 (E4-7)
IGF2 (E5-6) - E1 (E4-7)
G - BR
G-B - BR
Ignition coil (ignition confirmation signal) Engine switch on (IG) 4.5 to 5.0 V
IGF1 (E5-7) - E1 (E4-7)
IGF2 (E5-6) - E1 (E4-7)
G - BR
G-B - BR
Ignition coil (ignition confirmation signal) Idling Pulse generation
(see waveform 9)
PRG (E3-11) - E1 (E4-7) W - BR Purge VSV Engine switch on (IG) 9 to 14 V
PRG (E3-11) - E1 (E4-7) W - BR Purge VSV Idling Pulse generation
(see waveform 10)
SPD (A5-30) - E1 (E4-7) Y-G - BR Speed signal from combination meter Driving at 20 km/h (12 mph) Pulse generation
(see waveform 11)
STA (A5-12) - E1 (E4-7) R - BR Starter signal Cranking 9 to 14 V
STAR (E4-4) - E1 (E4-7) L-Y - BR Park/Neutral position switch signal Engine switch on (IG), Other shift position in P or N 9 to 14 V
STAR (E4-4) - E1 (E4-7) L-Y - BR Park/Neutral position switch signal Cranking 5.5 V or more
STSW (A5-19) - E1 (E4-7) Y-B - BR Engine switch signal Cranking 8 to 14 V
STP (A6-4) - E1 (E4-7) R-B - BR Normally open switch Brake pedal depressed 7.5 to 14 V
STP (A6-4) - E1 (E4-7) R-B - BR Normally open switch Brake pedal released Below 1.5 V
ST1- (A5-8) - E1 (E4-7) G-W - BR Normally closed switch Engine switch on (IG), Brake pedal depressed Below 1.5 V
ST1- (A5-8) - E1 (E4-7) G-W - BR Normally closed switch Engine switch on (IG), Brake pedal released 7.5 to 14 V
M+ (E3-2) - ME01 (E3-4) B - W-B Throttle actuator Idling with warm engine Pulse generation
(see waveform 12)
M- (E3-1) - ME01 (E3-4) W - W-B Throttle actuator Idling with warm engine Pulse generation
(see waveform 13)
FC (A5-14) - E1 (E4-7) R-G - BR Fuel pump control Engine switch on (IG) 9 to 14 V
FC (A5-14) - E1 (E4-7) R-G - BR Fuel pump control Idling 0 to 3 V
FPR (A5-15) - E1 (E4-7) B-Y - BR Fuel pump control Cranking 9 to 14 V
FPR (A5-15) - E1 (E4-7) B-Y - BR Fuel pump control Idling with warm engine 0 to 3 V
W (A6-8) - E1 (E4-7) R-L - BR MIL Engine switch on (IG)
(MIL goes on)
Below 3.0 V
W (A6-8) - E1 (E4-7) R-L - BR MIL Idling 0 to 3 V
TC (A6-3) - E1 (E4-7) V - BR Terminal TC of DLC 3 Engine switch on (IG) 9 to 14 V
TACH (A6-16) - E1 (E4-7) R-W - BR Engine speed Idling Pulse generation
(see waveform 14)
VPMP (A6-12) - E1 (E4-7) W-L - BR Vent valve (built into canister pump module) Engine switch on (IG) 9 to 14 V
MPMP (A6-5) - E1 (E4-7) P - BR Leak detection pump (built into canister pump module) Leak detection pump OFF Below 3.0 V
MPMP (A6-5) - E1 (E4-7) P - BR Leak detection pump (built into canister pump module) Leak detection pump ON 9 to 14 V
PPMP (A5-21) - E1 (E4-7) LG - BR Canister pressure sensor (built into canister pump module) Engine switch on (IG) 3 to 3.6 V
INJF (E6-26) - E1 (E4-7) GR - BR Injector for direct injection confirmation signal Idling with warm engine Pulse generation
(see waveform 15)
IJF2 (E6-25)- E1 (E4-7) B-R - BR Injector for direct injection confirmation signal Idling with warm engine Pulse generation
(see waveform 15)
IJF3 (E6-16) - E1 (E4-7) Y - BR Injector for direct injection confirmation signal Idling with warm engine Pulse generation
(see waveform 15)
FPF1 (E6-32) - E1 (E4-7) W-L - BR High pressure side fuel pump (Spill valve) Idling with warm engine Pulse generation
(see waveform 16)
FPD (E6-33) - E1 (E4-7) R-L - BR High pressure side fuel pump (Spill valve) Idling with warm engine Pulse generation
(see waveform 16)
PR (E6-29) - EPR (E6-30) L-B - BR Fuel pressure sensor Idling 1.8 to 2.3 V
CANH (A5-25) - E1 (E4-7) B - BR CAN communication line Engine switch on (IG) Pulse generation
(see waveform 17)
CANL (A5-24) - E1 (E4-7) W - BR CAN communication line Engine switch on (IG) Pulse generation
(see waveform 18)

HINT: 

*: The ECM terminal voltage is constant regardless of the output voltage from the sensor.

  1. WAVEFORM 1 
    Fig 2: Identifying Waveform 1
    GTY145143Courtesy of © TOYOTA, LICENSE AGREEMENT TMS1002
    CAMSHAFT TIMING OIL CONTROL VALVE (OCV):

    ECM Terminal Name Between OC1+ and OC1- or OC2+ and OC2-
    Between OE1+ and OE1- or OE2+ and OE2-
    Tester Range 5 V/DIV, 1 ms./DIV
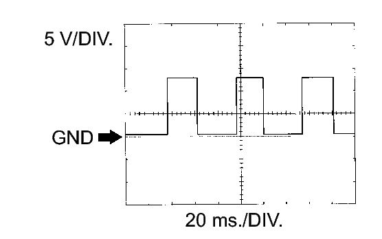
    Condition Idling
  2. WAVEFORM 2 
    Fig 3: Identifying Waveform 2
    GTY318954Courtesy of © TOYOTA, LICENSE AGREEMENT TMS1002
    AIR FUEL RATIO SENSOR HEATER:

    ECM Terminal Name Between HA1A and E04 or HA2A and E05
    Tester Range 5 V/DIV, 10 ms./DIV
    Condition Idling

    HINT: 

    The wavelength varies in accordance with the engine operating condition.

  3. WAVEFORM 3 
    Fig 4: Identifying Waveform 3
    GTY126830Courtesy of © TOYOTA, LICENSE AGREEMENT TMS1002
    HEATED OXYGEN SENSOR:

    ECM Terminal Name Between OX1B and O1B- or OX2B and O2B-
    Tester Range 0.2 V/DIV, 200 ms./DIV
    Condition Engine speed maintained at 2500 rpm for 2 minutes after warming up engine

    HINT: 

    In Data List, item O2S B1S2 and O2S B2S2 shows the ECM input values from the heated oxygen sensor.

  4. WAVEFORM 4 
    Fig 5: Identifying Waveform 4
    GTY287931Courtesy of © TOYOTA, LICENSE AGREEMENT TMS1002
    INJECTOR FOR DIRECT INJECTION NO. 1 (TO NO. 6) INJECTION SIGNAL:

    ECM Terminal Name Between #10 (to #60) and E1
    Tester Range 2 V/DIV, 20 ms./DIV
    Condition Idling with warm engine

    HINT: 

    • The wavelength becomes shorter as the engine speed increases.
    • When the direct injection injectors are operating, Direct is displayed for Injection Way of the Data List.
  5. WAVEFORM 5 
    Fig 6: Identifying Waveform 5
    GTY279064Courtesy of © TOYOTA, LICENSE AGREEMENT TMS1002
    INJECTOR FOR PORT INJECTION NO. 1 (TO NO. 6) INJECTION SIGNAL:

    ECM Terminal Name Between #1P (to #6P) and E1
    Tester Range 50 V/DIV, 400 μs./DIV
    Condition Idling

    HINT: 

    • The wavelength becomes shorter as the engine speed increases.
    • When the port injection injectors are operating, Port is displayed for Injection Way of the Data List.
  6. WAVEFORM 6 
    Fig 7: Identifying Waveform 6 Graph
    GTY123350Courtesy of © TOYOTA, LICENSE AGREEMENT TMS1002
    KNOCK SENSOR:

    ECM Terminal Name Between KNK1 and EKNK
    Between KNK2 and EKN2
    Tester Range 1 V/DIV, 1 ms./DIV
    Condition Engine speed maintained at 4000 rpm after warming up engine

    HINT: 

    • The wavelength becomes shorter as the engine speed increases.
    • The waveforms and amplitudes displayed differ slightly depending on the vehicle.
  7. WAVEFORM 7 
    Fig 8: Identifying Waveform 7 Graph
    GTY146104Courtesy of © TOYOTA, LICENSE AGREEMENT TMS1002
    CRANKSHAFT POSITION SENSOR AND VVT SENSOR FOR INTAKE CAMSHAFT:

    ECM Terminal Name Between NE+ and NE-
    Between VV1+ and VV1- or VV2+ and VV2-
    Tester Range 5 V/DIV, 20 ms./DIV
    Condition Idling

    HINT: 

    The wavelength becomes shorter as the engine speed increases.

  8. WAVEFORM 8 
    Fig 9: Identifying Waveform 8
    GTY192271Courtesy of © TOYOTA, LICENSE AGREEMENT TMS1002
    CRANKSHAFT POSITION SENSOR AND VVT SENSOR FOR EXHAUST CAMSHAFT:

    ECM Terminal Name Between NE+ and NE-
    Between EV1+ and EV1- or EV2+ and EV2-
    Tester Range 5 V/DIV, 20 ms./DIV
    Condition Idling

    HINT: 

    The wavelength becomes shorter as the engine speed increases.

  9. WAVEFORM 9 
    Fig 10: Identifying Waveform 9
    GTY395157Courtesy of © TOYOTA, LICENSE AGREEMENT TMS1002
    IGNITER IGT SIGNAL (FROM ECM TO IGNITER) AND IGNITER IGF SIGNAL (FROM IGNITER TO ECM):

    ECM Terminal Name CH1: Between IGT (1 to 6) and E1
    CH2: Between IGF1 and E1 or IGF2 and E1
    Tester Range 2 V/DIV, 20 ms./DIV
    Condition Idling

    HINT: 

    The wavelength becomes shorter as the engine speed increases.

  10. WAVEFORM 10 
    Fig 11: Identifying Waveform 10
    GTY143657Courtesy of © TOYOTA, LICENSE AGREEMENT TMS1002
    PURGE VSV:

    ECM Terminal Name Between PRG and E1
    Tester Range 5 V/DIV, 50 ms./DIV
    Condition Idling

    HINT: 

    If the waveform is not similar to the illustration, check the waveform again after idling for 10 minutes or more.

  11. WAVEFORM 11 
    Fig 12: Identifying Waveform 11
    GTY145138Courtesy of © TOYOTA, LICENSE AGREEMENT TMS1002
    VEHICLE SPEED SIGNAL:

    ECM Terminal Name Between SPD and E1
    Tester Range 2 V/DIV, 20 ms./DIV
    Condition Driving at 20 km/h (12 mph)

    HINT: 

    The wavelength becomes shorter as the vehicle speed increases.

  12. WAVEFORM 12 
    Fig 13: Identifying Waveform 12
    GTY316529Courtesy of © TOYOTA, LICENSE AGREEMENT TMS1002
    THROTTLE ACTUATOR POSITIVE TERMINAL:

    ECM Terminal Name Between M+ and ME01
    Tester Range 5 V/DIV, 1 ms./DIV
    Condition Idling with warm engine

    HINT: 

    The duty ratio varies depending on the throttle actuator operation.

  13. WAVEFORM 13 
    Fig 14: Identifying Waveform 13
    GTY321879Courtesy of © TOYOTA, LICENSE AGREEMENT TMS1002
    THROTTLE ACTUATOR NEGATIVE TERMINAL:

    ECM Terminal Name Between M- and ME01
    Tester Range 5 V/DIV, 1 ms./DIV
    Condition Idling with warm engine

    HINT: 

    The duty ratio varies depending on the throttle actuator operation.

  14. WAVEFORM 14 
    Fig 15: Identifying Waveform 14
    GTY127531Courtesy of © TOYOTA, LICENSE AGREEMENT TMS1002
    ENGINE SPEED SIGNAL:

    ECM Terminal Name Between TACH and E1
    Tester Range 5 V/DIV, 10 ms./DIV
    Condition Idling

    HINT: 

    The wavelength becomes shorter as the engine speed increases.

  15. WAVEFORM 15 
    Fig 16: Waveform 15
    GTY394573Courtesy of © TOYOTA, LICENSE AGREEMENT TMS1002
    INJECTOR FOR DIRECT INJECTION NO. 1 (TO NO. 6) INJECTION SIGNAL AND INJECTION CONFIRMATION SIGNAL:

    ECM Terminal Name CH1: Between #10 or #40 and E1, CH2: Between INJF and E1
    CH1: Between #20 or #50 and E1, CH2: Between IJF2 and E1
    CH1: Between #30 or #60 and E1, CH2: Between IJF3 and E1
    Tester Range 2 V/DIV, 20 ms./DIV
    Condition Idling with warm engine

    HINT: 

    • The wavelength becomes shorter as the engine speed increases.
    • When the direct injection injectors are operating, Direct is displayed for Injection Way of the Data List.
  16. WAVEFORM 16 
    Fig 17: Identifying Waveform 16
    GTY287930Courtesy of © TOYOTA, LICENSE AGREEMENT TMS1002
    FUEL PUMP FOR HIGH PRESSURE (SPILL VALVE):

    ECM Terminal Name CH1: Between FPD and E1
    CH2: Between FPF1 and E1
    Tester Range 2 V/DIV, 5 ms./DIV
    Condition Idling with warm engine
  17. WAVEFORM 17 
    Fig 18: Identifying Waveform 17
    GTY315915Courtesy of © TOYOTA, LICENSE AGREEMENT TMS1002
    CAN COMMUNICATION SIGNAL:

    ECM Terminal Name Between CANH and E1
    Tester Range 1 V/DIV, 10 μs/DIV
    Condition Engine switch on (IG)

    HINT: 

    The waveform varies depending on the CAN communication signal.

  18. WAVEFORM 18 
    Fig 19: Identifying Waveform 18
    GTY315900Courtesy of © TOYOTA, LICENSE AGREEMENT TMS1002
    CAN COMMUNICATION SIGNAL:

    ECM Terminal Name Between CANL and E1
    Tester Range 1 V/DIV, 10 μs/DIV
    Condition Engine switch on (IG)

    HINT: 

    The waveform varies depending on the CAN communication signal.