LEMON Manuals: Even more car manuals for everyone
Home >> Lexus >> 2012 >> HS 250h >> Repair and Diagnosis >> Accessories & Equipment >> Anti-Theft Systems >> Smart Access System (For Entry Function) (Diagnostics - Introduction) >> SMART ACCESS SYSTEM WITH PUSH-BUTTON START (For Entry Function) >> Operation Check >> Operation Check

Operation Check

  1. SMART ACCESS SYSTEM WITH PUSH-BUTTON START OPERATION INSPECTION 
    1. Check the entry unlock function.
      1. Use the wireless lock operation to lock the doors. With the key outside the vehicle, touch a front door outside handle assembly (touch sensor) and check that the door unlocks.
    2. Check the entry unlock operation detection area.
      1. Step 1: Hold the key at the same height as the door outside handle assembly (approximately 0.8 m (2.62 ft.)). Make sure that the direction of the key is as shown.
      2. Step 2: Check that when the key is brought within 0.7 to 1.0 m (2.30 to 3.28 ft.) of the vehicle, the system enters unlock standby mode.
        Fig 1: Identifying Door Electrical Key Oscillator (For Driver Side)
        GTY271704Courtesy of © TOYOTA, LICENSE AGREEMENT TMS1002
        TEXT IN ILLUSTRATION

        *1 0.7 to 1.0 m

        HINT: 

        When the system enters unlock standby mode, the key LED illuminates.

      3. Step 3: After the system enters unlock standby mode, touch the door outside handle assembly (touch sensor) within 3 seconds. Check that the door unlocks.
        Fig 2: Touching Door Outside Handle Assembly (Touch Sensor)
        GTY274715Courtesy of © TOYOTA, LICENSE AGREEMENT TMS1002
        NOTE: The key may not be able to communicate with the system within a 0.2 m (0.656 ft.) radius of each door outside handle assembly.
      4. Step 4: Repeat steps  2 and  3 for the remaining front door.
      5. Step 5: Inspect the door outside handle assembly (touch sensor) response sensitivity. When the system is in unlock standby mode, check that touching the area shown in the illustration causes the door to unlock.
        Fig 3: Touching Door Outside Handle Assembly (Touch Sensor)
        GTY274715Courtesy of © TOYOTA, LICENSE AGREEMENT TMS1002
        NOTE: When touching the highlighted area, touching too quickly or having extended contact may not trigger the sensor. In such a case, the door will not unlock.
      6. Step 6: Repeat step  5 for the remaining front door.
    3. Check the entry lock function.
      NOTE: If the key is in the cabin, but is not in a detection area (on the instrument panel, rear package tray, in the glove box or on the floor), the key confinement function may not operate. This can result in key confinement.
      1. Step 1: Confirm that all the doors lock when a lock sensor on a front door outside handle is touched with all the doors closed and unlocked while the key is outside the vehicle.
        Fig 4: Touching Door Outside Handle Assembly (Touch Sensor)
        GTY286300Courtesy of © TOYOTA, LICENSE AGREEMENT TMS1002
      2. Step 2: Inspect the smart door lock detection area. Hold the key 0.1 m (0.328 ft.) below the window (about 1 m (3.28 ft.) above the ground). Move the key about 0.3 m (0.984 ft.) away from the vehicle and touch the lock sensor as shown to check that the all doors lock.

        HINT: 

        • Due to the key being unable to communicate with the system from within 0.2 m (0.656 ft.) of the door handle, the lock sensor may not operate when the lock sensor is touched by the same hand that is holding the key.
        • If the key confinement prevention function buzzer sounds, radio waves from the indoor electrical oscillator may be leaking from the vehicle.
        Fig 5: Identifying Door Electrical Key Oscillator (For Driver Side)
        GTY271704Courtesy of © TOYOTA, LICENSE AGREEMENT TMS1002
        TEXT IN ILLUSTRATION

        *1 Approximately 0.3 m
    4. Check the luggage compartment door open function.
      1. Close the luggage compartment door. With the key outside the vehicle, check that pushing the luggage compartment door opener outer switch opens the luggage compartment door.
      2. Inspect the entry luggage compartment door open operation detection area. Hold the key at the same height as the luggage compartment door opener outer switch (approximately 0.8 m (2.62 ft.)) aligning it with the center of the rear of the vehicle. Make sure that the direction of the key is as shown. Check that when the key is brought within 0.7 to 1.0 m (2.30 to 3.28 ft.) of the vehicle, pushing the luggage compartment door opener outer switch opens the luggage compartment.
        Fig 6: Identifying Luggage Compartment Door Opener Outer Switch
        GTY273181Courtesy of © TOYOTA, LICENSE AGREEMENT TMS1002
        TEXT IN ILLUSTRATION

        *1 0.7 to 1.0 m
        *2 Luggage Compartment Door Opener Outer Switch
    5. Check the entry hybrid control system start function.
      1. While holding the key, confirm that the power switch indicator light illuminates green when the power switch is off, park (P) has been selected and the brake pedal is depressed. When the power switch indicator illuminates green, confirm that the hybrid control system starts when the power switch is pressed.
      2. While holding the key, confirm that the power switch turns off → on (ACC) → on (IG) → off every time the power switch is pressed when the brake pedal is not depressed.

        HINT: 

        When the power switch is pressed with the power switch on (IG) and a shift state other than park (P) selected, the power switch will not turn off but remain on (ACC).

      3. With the hybrid control system running, vehicle stopped and park (P) selected, confirm that pressing the power switch turns the hybrid control system off.

        HINT: 

        When the power switch is pressed with the power switch on (IG) and a shift state other than park (P) selected, the power switch will not turn off but remain on (ACC).

      4. Inspect the detection area for the entry hybrid control system start function (for front floor). Make sure that the direction of the key is as shown. When the key is in either of the 2 inspection points shown in the illustration, check that the hybrid control system can start.
        Fig 7: Identifying Indoor Electrical Key Oscillator (For Front Floor)
        GTY260208Courtesy of © TOYOTA, LICENSE AGREEMENT TMS1002
        TEXT IN ILLUSTRATION

        *1 Inspection Point
        NOTE: The hybrid control system may not start when the key is on the instrument panel, rear package tray or in the glove box.
      5. Inspect the detection area for the entry hybrid control system start function (for rear floor). Make sure that the direction of the key is as shown. When the key is in either of the 2 inspection points shown in the illustration, check that the hybrid control system can start.
        Fig 8: Identifying Indoor Electrical Key Oscillator (For Rear Floor)
        GTY285794Courtesy of © TOYOTA, LICENSE AGREEMENT TMS1002
        TEXT IN ILLUSTRATION

        *1 Inspection Point
        NOTE: The hybrid control system may not start when the key is on the instrument panel, rear package tray or in the glove box.
    6. Check the key confinement prevention function (in cabin)
      NOTE: Perform this check with a window open to prevent key confinement.
      1. Turn the power switch off.
      2. Put the key on a front seat or a rear seat.
      3. Close all the doors (all doors are in an unlocked state).
      4. Confirm that the door lock does not operate but the wireless door lock buzzer sounds for 10 seconds when a front door lock sensor is touched.
    7. Check the key lock-in prevention function (in luggage compartment).
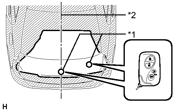
      1. Place the key in the luggage compartment with all doors locked. Check that: 1) closing the luggage compartment door triggers the key wireless buzzer (which lasts approximately 2 seconds), and 2) pressing the luggage compartment door opener outer switch opens the luggage compartment door.
      2. Inspect the key lock-in prevention detection area. Pay attention to the direction of the key shown. When the key is in either of the 2 locations in the illustration, check that: 1) closing the luggage compartment door sounds the wireless buzzer, and 2) pressing the luggage compartment door opener outer switch opens the luggage compartment door.
        Fig 9: Identifying Indoor Electrical Key Oscillator (For Luggage Compartment)
        GTY272409Courtesy of © TOYOTA, LICENSE AGREEMENT TMS1002
        TEXT IN ILLUSTRATION

        *1 Inspection Point
        *2 Vehicle Center
      3. Inspect the key lock-in prevention detection area and the door control receiver for wave leaks. Hold the key at the same height as the lower edge of the luggage compartment door aligning it with the center of the rear of the vehicle. Pay attention to the direction and position of the key shown in the illustration. Check that when the key is over 0.1 m (0.328 ft.) from the rear bumper, the wireless buzzer does not sound. If the warning buzzer sounds, the door control receiver may have a wave leak.
        Fig 10: Inspecting Key Lock-In Prevention Detection Area
        GTY258256Courtesy of © TOYOTA, LICENSE AGREEMENT TMS1002
        TEXT IN ILLUSTRATION

        *1 0.1 m or more
    8. Check the key cancel function.
      1. While the power switch is on (IG), check that the luggage compartment door opener outer switch is the only switch that can be operated in the smart access system with push-button start.
      2. While the key cancel function (smart access system with push-button start cancel function) is on, check that all functions of the smart access system with push-button start cannot be operated.
    9. Check the answer-back function (hazard warning light flashing and buzzer sounding).
      Entry Operation Hazard Warning Lights Buzzer
      Entry Door Lock Flash once Sounds once
      Entry Door Unlock Flash twice Sounds twice
      Entry Luggage Compartment Open Function Do not flash Does not sound
    10. Check that the key reminder warning buzzer sounds.
      1. With the key inside the vehicle, close the driver door. Then turn the power switch off or on (ACC).
      2. Open the driver door and check that the buzzer sounds intermittently.
    11. Check that the key reminder warning buzzer stops.
      1. When the buzzer is sounding, check that the buzzer stops sounding if either of the following is performed:
        • Close the driver door (front door courtesy light switch is off).
        • Turn the power switch on (IG).
  2. KEY DIAGNOSTIC MODE 

    HINT: 

    Key diagnostic mode checks if the key within a selected oscillator detection area is operating normally. The results are output through the wireless door lock buzzer assembly.

    1. Connect the Techstream to the DLC3.
    2. Turn the power switch on (IG).
    3. Turn the Techstream on.
    4. Enter the following menus: Body Electrical/Smart Access/Utility/Key Communication Check.
    5. Check the values by referring to the table below.
      SMART ACCESS (CERTIFICATION ECU (SMART KEY ECU ASSEMBLY))

      Tester Display Inspection Range
      Overhead + Driver Side*1 Door electrical key oscillator (for driver side)
      Overhead + Passenger Side*2 Door electrical key oscillator (for front passenger side)
      Overhead + Front Room*3 Indoor electrical key oscillator (for front floor)
      Overhead + Rear Room*4 Indoor electrical key oscillator (for rear floor)
      Overhead + Luggage (outside)*5 Outside electrical key oscillator (for luggage compartment)
      Overhead + Luggage (inside)*6 Indoor electrical key oscillator (for luggage compartment)
      Immobilizer Amp*7 Amplifier (power switch)
    6. When the key is brought near the selected oscillator, check that the wireless door lock buzzer sounds.
      1. *1: Door electrical key oscillator (for driver side)
        Fig 11: Identifying Door Electrical Key Oscillator (For Driver Side)
        GTY271704Courtesy of © TOYOTA, LICENSE AGREEMENT TMS1002
        TEXT IN ILLUSTRATION

        *1 0.7 to 1.0 m

        HINT: 

        • Hold the key at the same height as the door outside handle assembly (0.7 to 1.0 m (2.30 to 3.28 ft.)). Make sure that the direction of the key is as shown.
        • *2: Perform the same inspection above for the door electrical key oscillator (for front passenger side).
      2. *3: Indoor electrical key oscillator (for front floor)
        Fig 12: Identifying Indoor Electrical Key Oscillator (For Front Floor)
        GTY260208Courtesy of © TOYOTA, LICENSE AGREEMENT TMS1002
        TEXT IN ILLUSTRATION

        *1 Inspection Point

        HINT: 

        Place the key on the driver or front passenger seat cushion.

      3. *4: Indoor electrical key oscillator (for rear floor)
        Fig 13: Identifying Indoor Electrical Key Oscillator (For Rear Floor)
        GTY285794Courtesy of © TOYOTA, LICENSE AGREEMENT TMS1002
        TEXT IN ILLUSTRATION

        *1 Inspection Point

        HINT: 

        Place the key on the rear seat cushion.

      4. *5: Outside electrical key oscillator (for luggage compartment)
        Fig 14: Identifying Outside Electrical Key Oscillator (For Luggage Compartment)
        GTY278054Courtesy of © TOYOTA, LICENSE AGREEMENT TMS1002
        TEXT IN ILLUSTRATION

        *1 0.7 to 1.0 m
        *2 Vehicle Center

        HINT: 

        Hold the key at the same height as the rear bumper upper surface and align with the center of the rear of the vehicle (0.7 to 1.0 m (2.30 to 3.28 ft.)). Make sure that the direction of the key is as shown.

      5. *6: Indoor electrical key oscillator (for luggage compartment)
        Fig 15: Identifying Indoor Electrical Key Oscillator (For Luggage Compartment)
        GTY272409Courtesy of © TOYOTA, LICENSE AGREEMENT TMS1002
        TEXT IN ILLUSTRATION

        *1 Inspection Point
        *2 Vehicle Center

        HINT: 

        Place the key on the luggage area.

      6. *7: Amplifier (power switch)
        Fig 16: Identifying Amplifier (Power Switch)
        GTY286916Courtesy of © TOYOTA, LICENSE AGREEMENT TMS1002

        HINT: 

        Touch the power switch while facing the logo side of the key to the power switch.