LEMON Manuals: Even more car manuals for everyone
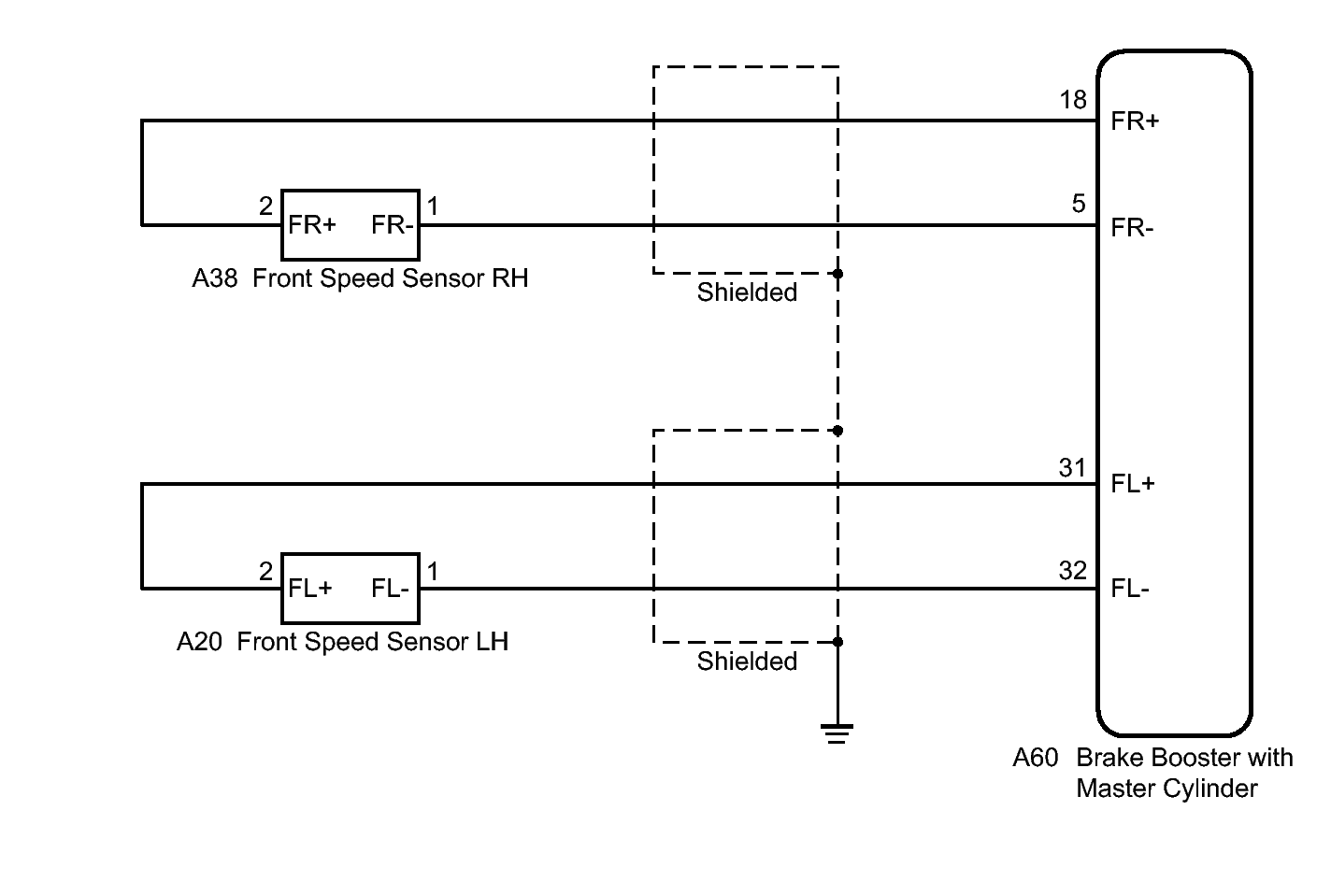
Home >> Lexus >> 2012 >> HS 250h >> Repair and Diagnosis (Single Page) >> Brakes >> Traction Control >> Electronically Controlled Brake System (Diagnostic Codes & Symptom Tests) >> Electronically Controlled Brake System >> DTC C1271/71, C1272/72, C1464/31, C1465/32: Low Output Signal of Front Speed Sensor RH (Test Mode DTC); Low Output Signal of Front Speed Sensor LH (Test Mode DTC); Front Speed Sensor RH Circuit; Front Speed Sensor LH Circuit >> Wiring Diagram

DTC C1271/71, C1272/72, C1464/31, C1465/32: Low Output Signal of Front Speed Sensor RH (Test Mode DTC); Low Output Signal of Front Speed Sensor LH (Test Mode DTC); Front Speed Sensor RH Circuit; Front Speed Sensor LH Circuit: Wiring Diagram

Fig 1: Brake Booster With Master Cylinder - Wiring Diagram
GTY278010Courtesy of © TOYOTA, LICENSE AGREEMENT TMS1002