LEMON Manuals: Even more car manuals for everyone
Home >> Lexus >> 2012 >> HS 250h >> Repair and Diagnosis (Single Page) >> Body & Frame >> Door Locks >> Smart Access System (For Entry Function) (Diagnostics - Introduction) >> SMART ACCESS SYSTEM WITH PUSH-BUTTON START (For Entry Function) >> System Description >> System Description

System Description

WARNING: If using a pacemaker, be sure to read the manual of the pacemaker before using the key, as the radio waves of the key may affect the pacemaker.
  1. SMART ACCESS SYSTEM WITH PUSH-BUTTON START DESCRIPTION 
    1. In addition to conventional mechanical key and wireless door lock control functions, the smart access system with push-button start enables door locking/unlocking and hybrid control system starting without operating the key. The only requirement is that the key is in the user's possession.
      • This system is controlled by the certification ECU (smart key ECU assembly). When the certification ECU (smart key ECU assembly) detects the presence of the smart access system with push-button start in one of the detection areas, it identifies and checks the ID code, and outputs operation signals to the related ECU in accordance with their functions.
      • The detection areas are formed by 6 oscillators (2 door oscillators, 1 outside oscillator and 3 indoor oscillators).
  2. DETECTION AREA 
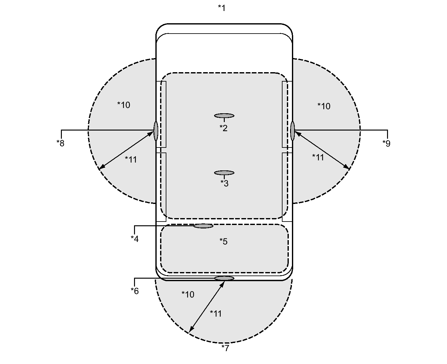
    Fig 1: Identifying Interior Detection Area Of Indoor Electrical Key Oscillators (For Front Floor, Rear Floor And Luggage Compartment)
    GTY279338Courtesy of © TOYOTA, LICENSE AGREEMENT TMS1002
    TEXT IN ILLUSTRATION

    *1 Front *2 Indoor Electrical Key Oscillator (for Front Floor)
    *3 Indoor Electrical Key Oscillator (for Rear Floor) *4 Indoor Electrical Key Oscillator (for Luggage Compartment)
    *5 Approximately 80% of Luggage Compartment *6 Outside Electrical Key Oscillator (for Luggage Compartment)
    *7 Rear *8 Door Electrical Key Oscillator (for Driver Side)
    *9 Door Electrical Key Oscillator (for Front Passenger Side) *10 Detection Area
    *11 Approximately 0.7 to 1.0 m (2.30 to 3.28 ft.) - -
    Actuation Area Detail
    Interior The interior detection area of the indoor electrical key oscillators (for front floor, rear floor and luggage compartment) is formed when the driver door is opened or closed, when the power switch is pushed, when a warning is activated, or when a lock sensor on a door outside handle assembly or lock switch on the luggage compartment door opener outer switch is on.
    Exterior The exterior detection areas formed by the door electrical key oscillators (for driver side and front passenger side) and outside electrical key oscillator (for luggage compartment) is approximately 0.7 to 1.0 m (2.30 to 3.28 ft.) from the door outside handle assembly, or the center of the rear bumper.
    Around Front Door The exterior detection area of the door electrical key oscillator (for driver side or front passenger side) is formed by transmitting a request signal every 0.25 seconds while the power switch is off and each door is locked. In this way it detects the proximity of a key. When locking the door using a lock sensor on a door outside handle assembly, the detection area is formed when the lock sensor is touched.
    Around Luggage Compartment Door The exterior detection area of the outside electrical key oscillator (for luggage compartment) is formed when the luggage compartment door opener outer switch is on.
  3. FUNCTION OF MAIN COMPONENTS 
    Component Function
    Key
    • Outputs information such as the key ID and vehicle ID when request signals that are output by the indoor, outside and door oscillators are received.
    • Outputs a request signal when the lock, unlock, panic or luggage compartment switch on the key is pushed.
    • Outputs information such as the key ID and vehicle ID when the radio wave that is output by the transponder key amplifier in the power switch is received.
    • Has an integrated mechanical key that can be used to unlock the doors when the key battery is weak.
    Certification ECU (Smart Key ECU Assembly)
    • Certifies the ID code received from the door control receiver and transmits the certification results to the transmission control ECU assembly.
    • Controls the oscillators and touch sensors.
    • Transmits the door lock/unlock request signals during the entry function.
    • Receives the luggage compartment door open request signal from the luggage compartment door opener outer switch
    Main Body ECU (Multiplex Network Body ECU)
    • Receives the request signal from the certification ECU (smart key ECU assembly) and actuates the door lock motors to unlock or lock all the doors.
    • Receives the luggage compartment door open request signal from the certification ECU (smart key ECU assembly) and operates the luggage compartment door lock motor
    • Transmits the condition of each door and the luggage compartment door to the certification ECU (smart key ECU assembly).
    Front Door Outside Handle Assembly (for Driver Side, Front Passenger Side) (touch sensor) Sends a door unlock request signal to the certification ECU (smart key ECU assembly) when the touch sensor on the inner side of the front door outside handle assembly is touched.
    Front Door Outside Handle Assembly (for Driver Side, Front Passenger Side) (lock sensor) Sends a door lock request signal to the certification ECU (smart key ECU assembly) when the lock sensor on the front door outside handle assembly is touched.
    Door Electrical Key Oscillator (for Driver Side, Front Passenger Side) Receives the request signal from the certification ECU (smart key ECU assembly), and creates a detection area around the front doors.
    Indoor Electrical Key Oscillator (for Front Floor, Rear Floor) Receives a request signal from the certification ECU (smart key ECU assembly) and forms the vehicle interior detection area.
    Indoor Electrical Key Oscillator (for Luggage Compartment) Receives request signal from certification ECU (smart key ECU assembly) and forms a detection area inside the luggage compartment.
    Outside Electrical Key Oscillator (for Luggage Compartment) Receives the request signal from the certification ECU (smart key ECU assembly), and forms a detection area around the luggage compartment door.
    Door Control Receiver Receives the ID code from a key and transmits it to the certification ECU (smart key ECU assembly).
    Outside Rear View Mirror
    • Foot Light
    When a key enters exterior detection area, the foot light is illuminated in accordance with the request signal of the certification ECU (smart key ECU assembly).
    Luggage Compartment Door Opener Outer Switch Transmits a luggage compartment door open request signal to the certification ECU (smart key ECU assembly).
    Stop Light Switch Outputs state of the brake pedal to the power management control ECU.
    Combination Meter Assembly Buzzer Sounds to inform the driver of malfunctions in the smart access system with push-button start.
    Multi-information Display The following warning messages appear to alert the driver:
    • Shift to P Position
    • Shift to P Position and Push Power Switch Turn Power Off
    • Key not Detected
    • Turn Power Off
    • Key Detected in Vehicle
    • Key Battery Low
    • Depress Brake Pedal and Push Power Switch to Start
    • Depress Brake Pedal, Touch Power Switch with Key
    • Auto Power Off to Conserve Battery
    • Shift to P Position to Start
    Wireless Door Lock Buzzer Sounds to inform the driver of malfunctions in the smart access system with push-button start.
  4. CONSTRUCTION AND OPERATION 
    1. Key

      The key consists of a mechanical key, transmitter for wireless door lock control and transceiver for the smart access system with push-button start.

      • The transceiver function for the smart access system with push-button start receives the signals from the oscillators and sends the ID code to the tuner.
      • The transmitter function for the wireless door lock control has a lock switch, unlock switch, panic switch and luggage compartment switch.
      • This mechanical key works for the driver door and glove box, but cannot start the hybrid control system.

      A total of 7 keys can be registered.

      1. Key (for Standard):
        Fig 2: Identifying Mechanical Key (For Standard)
        GTY269359Courtesy of © TOYOTA, LICENSE AGREEMENT TMS1002
        TEXT IN ILLUSTRATION

        *1 Lock Switch
        *2 Unlock Switch
        *3 Luggage Compartment Switch
        *4 Panic Switch
        *5 Mechanical Key
      2. Key (for Card Type):
        Fig 3: Identifying Mechanical Key (For Card Type)
        GTY261403Courtesy of © TOYOTA, LICENSE AGREEMENT TMS1002
        TEXT IN ILLUSTRATION

        *1 Mechanical Key
    2. Oscillator (door electrical key oscillator (for driver side and front passenger side), indoor electrical key oscillator (for front floor, rear floor and luggage compartment) and outside electrical key oscillator (for luggage compartment))

      Each oscillator transmits the request signal received from the certification ECU (smart key ECU assembly), and forms a key detection area to detect the presence of a key. The detection area formed by door electrical key oscillator (for driver side and front passenger side) and outside electrical key oscillator (for luggage compartment) is approximately 0.7 to 1.0 m (2.30 to 3.28 ft.) from the door outside handle assembly of door (for driver side, front passenger side) or the center of the rear bumper.

      • The detection area of the door electrical key oscillators (for driver side and front passenger side) is formed by transmitting a request signal periodically while the power switch is off and the doors (for driver side and front passenger side) are locked. In this way, the oscillators detect the proximity of a key. During entry lock, the detection area is formed with the lock sensor on.
      • The detection area of the outside electrical key oscillator (for luggage compartment) is formed when the luggage compartment door opener outer switch is on.
      • The detection area of the indoor electrical key oscillator (for luggage compartment) is formed when the luggage compartment door is closed or the luggage compartment open switch is pressed.
      • The detection area of the indoor electrical key oscillators (for front floor and rear floor) is formed when any door is opened or closed, when the hybrid control system starts, when a warning is activated, or when a lock sensor on a door outside handle assembly or the lock switch on the luggage compartment door opener outer switch is on.
  5. ENTRY FUNCTION OPERATION 
    1. The smart access system with push-button start has the following functions:
      Function Outline
      Wireless Door Lock Control This function is a convenient system for locking and unlocking all the doors at a distance. The operation of this function is the same as that in the wireless door lock control system.
      Entry Unlock When a key is in the exterior detection area of a door electrical key oscillator, the door will unlock after the inner side of either front door outside handle assembly (for driver side or front passenger side) is touched.
      • The front door outside handle assembly (for driver side) unlocks the driver door.
      • The front door outside handle assembly (for front passenger side) unlocks all doors.
      Entry Unlock Mode Switching This function allows switching between 2 modes that can be operated with the entry unlock function.
      • Driver Door Mode (Default Setting)
      • All Door Mode
      Entry Lock When a key is in the exterior detection area of a door electrical key oscillator (driver side or front passenger side) and the power switch is off, all doors can be locked by simply touching the lock sensor on the door outside handle assembly.
      Entry Luggage Compartment Open When a key is in the detection area of outside electrical key oscillator (for luggage compartment), the luggage compartment opens by pressing the luggage compartment open switch.
      Prevention of Key Confinement
      • The key confinement prevention function prevents the vehicle from being locked with a key left inside.
      • If all doors are locked and the luggage compartment door is closed while a key is still in the luggage compartment, the warning buzzer sounds. If the luggage compartment open switch is operated, the luggage compartment door can be opened.
      Memory Call This function operates driving position memory system in accordance with key ID code.
      Warning When any of the situations below occur, the smart access system with push-button start causes the certification ECU (smart key ECU assembly) to sound the buzzer in the combination meter assembly and wireless door lock buzzer, and indicate a warning on the multi-information display in order to alert the driver:
      • The hybrid control system is left running and a shift state other than park (P) has been selected when the driver gets out of the vehicle.
      • The key reminder sounds.
      • The hybrid control system is left running and park (P) has been selected when the driver gets out of the vehicle.
      • A door is ajar.
      • The hybrid control system is left running when a passenger gets out of the vehicle while holding the key.
      • The key is not in the detection areas.
      • The key is left in the vehicle.
      • The key battery is weak.
      • The power management control ECU is malfunctioning.
      • The hybrid control system cannot be started (driver error).
      • The hybrid control system cannot be started (system error).
      • An attempt is made to turn off the vehicle with a shift state other than park (P) or neutral (N) selected.
      • Auto power off operation occurs.
      • Immobilizer system certification completion occurs.
      • The vehicle is driven without a key.
      Battery Saving If the key remains within the exterior detection area of an electrical key oscillator (for driver, front passenger or luggage compartment), the system maintains periodic communication with the key. Therefore, if the vehicle remains parked in that state for a long time, the key battery and the vehicle battery could be drained.
      Key Cancel. Refer to CUSTOMIZE PARAMETERS  The following key functions can be cancelled by following certain procedures:
      • Entry Unlock/Lock
      • Entry Hybrid Control System Start
      • Entry Luggage Compartment Door Open
      • Key Lock-in Prevention
      • Warning
      Key Code Registration A total of 7 keys can be registered.
      This function enables the registration (writing and storing) of transmitter recognition codes in the EEPROM that is contained in the certification ECU (smart key ECU assembly).
  6. WIRELESS DOOR LOCK CONTROL SYSTEM FUNCTION 

    Push the lock/unlock/panic/luggage compartment switch on the key to operate each function. For details. Refer to OPERATION CHECK .

  7. ENTRY UNLOCK FUNCTION 
    1. When the key enters any exterior detection area of a front door, the certification ECU (smart key ECU assembly) judges and certifies the key ID code received from the door control receiver.
    2. After the key certification OK is confirmed, the certification ECU (smart key ECU assembly) transmits an unlock stand-by signal to the touch sensor of the relevant door.
    3. If a touch sensor is touched in this condition, the certification ECU (smart key ECU assembly) transmits a door unlock request signal to the main body ECU (multiplex network body ECU), and unlocks either the driver door or all doors.
      • The front door outside handle assembly (for driver side) unlocks the driver door.
      • The front door outside handle assembly (for front passenger side) unlocks all doors.
    4. The main body ECU (multiplex network body ECU) sounds the wireless door lock buzzer twice, and the main body ECU (multiplex network body ECU) flashes the hazard warning lights twice, as an answer back for entry unlock.
  8. ENTRY LOCK FUNCTION 
    1. The entry lock signal is transmitted to the certification ECU (smart key ECU assembly) when the user (who has the key in their possession) exits the vehicle and touches a lock sensor on a door outside handle assembly.
    2. The certification ECU (smart key ECU assembly) transmits a request signal for the indoor electrical key oscillators (for front floor and rear floor), door electrical key oscillators (for driver side and front passenger side) and outside electrical key oscillator (for luggage compartment) to form detection areas.
    3. The certification ECU (smart key ECU assembly) judges and certifies the ID code. It then checks the location of the key, and if all doors are closed, the ECU transmits a door lock signal to the main body ECU (multiplex network body ECU).
    4. The main body ECU (multiplex network body ECU) receives this signal and actuates the lock motors.
    5. The main body ECU (multiplex network body ECU) blinks the hazard warning lights once and if sounds the wireless door lock buzzer once as an answer back for the entry lock function.
  9. ENTRY LUGGAGE COMPARTMENT OPEN FUNCTION 
    1. The unlock signal is transmitted to the certification ECU (smart key ECU assembly) from the luggage compartment door opener outer switch.
    2. The certification ECU (smart key ECU assembly) transmits a request signal for the outside electrical key oscillator (for luggage compartment) to form a detection area.
    3. The key receives this signal and returns the ID code to the door control receiver.
    4. The certification ECU (smart key ECU assembly) judges and certifies the ID code, and checks the location of the key. The ECU transmits a luggage compartment door open signal to the main body ECU (multiplex network body ECU).
    5. The main body ECU receives this signal and actuates the motor to open the luggage compartment door.
  10. PREVENTION OF KEY CONFINEMENT FUNCTION 
    1. The key confinement prevention function prevents the key from being locked in the vehicle.
      1. When the door is locked by the lock knob in the inside door handle while the key is still in the vehicle, the main body ECU (multiplex network body ECU) receives this signal and transmits the door condition signal to the certification ECU (smart key ECU assembly).
      2. The certification ECU (smart key ECU assembly) transmits a request signal for the indoor electrical key oscillators (for front floor and rear floor) to form detection areas.
      3. The key receives this signal and returns the ID code to the door control receiver.
      4. The certification ECU (smart key ECU assembly) judges and certifies the ID code, and checks the location of the key. The ECU transmits a door unlock signal to the main body ECU (multiplex network body ECU).
      5. The main body ECU (multiplex network body ECU) receives this signal and actuates the all door lock assemblies to unlock.
      6. The certification ECU (smart key ECU assembly) sounds the wireless door lock buzzer and buzzer in the combination meter as an answer back for unlock.
    2. The key confinement prevention function prevents the key from being locked inside the luggage compartment.
      1. When the luggage compartment door is closed while the key is still inside the luggage compartment and all doors are locked, the certification ECU (smart key ECU assembly) recognizes that a luggage compartment door close condition has occurred based on signals from the main body ECU (multiplex network body ECU).
      2. The certification ECU receives this signal, and transmits a request signal for the indoor electrical key oscillator (for luggage compartment) to form a detection area.
      3. The key receives this signal and returns the ID code to the door control receiver.
      4. The certification ECU (smart key ECU assembly) receives the ID code from the door control receiver, and then judges and certifies the ID code, and checks the location of the key. The main body ECU (multiplex network body ECU) sounds the wireless door lock buzzer for 2 seconds to inform the user.
      5. If the luggage compartment door opener outer switch is turned on while the key is inside the luggage compartment, the certification ECU (smart key ECU assembly) sends another request signal for the indoor electrical key oscillator (for luggage compartment) to form a detection area. The ECU judges and certifies the key and checks its location, before transmitting a luggage compartment door open signal to the main body ECU (multiplex network body ECU).
  11. ENTRY ILLUMINATION FUNCTION 
    1. When a person carrying the key enters a detection area, the door will enter unlock standby mode and the front map light and door mirror foot light will illuminate.

      HINT: 

      The entry illumination function operates when the key enters the vehicle exterior detection area from outside the detection area. If the key does not remains out of the detection area for 3 seconds or more, the illumination function does not operate.

  12. MEMORY CALL FUNCTION 
    1. When the power switch is off and the driver door courtesy light is off, opening the door will operate the memory call function (the seat will move to a previously recorded driving position). Using the key, memory call, key registration and key cancellation can be performed.
  13. WARNING FUNCTION 
    1. Warning
      1. When any of the situations below occur, the smart access system with push-button start causes the certification ECU (smart key ECU assembly) to sound a buzzer in the combination meter assembly and the wireless door lock buzzer, a message to appear on the multi-information display, and the power switch illumination to operate in order to alert the driver.
        Situation Condition
        A The hybrid control system is left running and a shift state other than park (P) has been selected when the driver gets out of the vehicle.
        B The key reminder sounds.
        C The hybrid control system is left running and park (P) has been selected when the driver gets out of the vehicle.
        D A door is ajar.
        E The hybrid control system is left running when a passenger gets out of the vehicle while holding the key.
        F The key is not in the detection areas.
        G The key is left in the vehicle.
        H The key battery is weak.
        I The power management ECU is malfunctioning.
        J The hybrid control system cannot be started (driver error).
        K The hybrid control system cannot be started (system error).
        L An attempt is made to turn off the vehicle with a shift state other than park (P) or neutral (N) selected.
        M Auto power off operation occurs.
        N Immobilizer system certification completion occurs.
        O The vehicle is driven without a key.
      2. Situation A
        • There are 2 patterns for situation A.
          • Pattern 1:

            When the hybrid control system is left running and a shift state other than park (P) has been selected, the driver opens the door and attempts to get out of the vehicle.

            In this situation, the following control is performed:

            Possible Effects without Warning Sudden vehicle start, vehicle theft, vehicle roll-away
            Warning Active Condition The warning is activated when all of the following conditions are met:
            • The power switch is in a mode other than off.
            • A shift state other than park (P) has been selected.
            • The vehicle speed is less than 5 km/h (3.1 mph).
            • The driver door is opened.
            Warning Method Combination Meter Assembly Buzzer Sounds continuously
            Multi-information Display The following warning message is displayed:
            • Shift to P Position
            Wireless Door Lock Buzzer -
            Power Switch Illumination -
            Warning Stop Condition The warning is stopped when one of the following conditions is met:
            • The power switch is turned off.
            • The P position switch (transmission shift main switch) is pushed.
            • The vehicle speed is above 5 km/h (3.1 mph).
            • The driver door is closed.
          • Pattern 2:

            Under the situation of pattern 1, the driver closes the door and attempts to leave the vehicle while holding the key.

            In this situation, the following control is performed:

            Possible Effects without Warning Sudden vehicle start, vehicle theft, vehicle roll-away
            Warning Active Condition The warning is activated when all of the following conditions are met:
            • A shift state other than park (P) has been selected.
            • The vehicle speed is 0 km/h (0 mph).
            • The key is not in the vehicle.
            • The driver door is opened → closed.
            Warning Method Combination Meter Assembly Buzzer Sounds continuously
            Multi-information Display The following warning messages are alternately displayed:
            • Shift to P Position
            • Key not Detected
            Wireless Door Lock Buzzer Sounds continuously
            Power Switch Illumination -
            Warning Stop Condition The warning is stopped when one of the following conditions is met:
            Combination Meter Assembly Buzzer
            • The power switch is turned off.
            • The P position switch (transmission shift main switch) is pushed.
            • The vehicle speed is above 0 km/h (0 mph).
            • Key is returned to the vehicle.
            Multi-information Display The following warning message is displayed:
            • Key not Detected
            • The power switch is turned off.
            • Key is returned to the vehicle.
            The following warning message is displayed:
            • Shift to P Position
            • The P position switch (transmission shift main switch) is pushed.
            • The vehicle speed is above 0 km/h (0 mph).
            • The power switch is turned off.
            Wireless Door Lock Buzzer
            • The power switch is turned off.
            • The P position switch (transmission shift main switch) is pushed.
            • The vehicle speed is above 0 km/h (0 mph).
            • Key is returned to the vehicle.
      3. Situation B
        • There are two patterns for situation B.
          • Pattern 1:

            When the driver door is open, the driver turns the power switch on (ACC) and attempts to leave the vehicle.

          • Pattern 2:

            When the driver door is open, the driver turns the power switch from on (IG) to off and attempts to leave the vehicle.

            In these situations, the following control is performed:

            Possible Effects without Warning Vehicle theft
            Warning Active Condition The warning is activated when either of the following patterns is met:
            • Pattern 1:
              • The power switch is on (ACC).
              • The driver door is opened.
              • The remote air conditioning system is off.
            • Pattern 2:
              • The power switch is off.
              • The shift control is unlocked.
              • The driver door is opened.
            Waning Method Combination Meter Assembly Buzzer Sounds continuously at short and even intervals
            Multi-information Display -
            Wireless Door Lock Buzzer -
            Power Switch Illumination -
            Warning Stop Condition The warning is stopped when one of the following conditions is met:
            • The power switch is turned on (IG).
            • The driver door is closed.
            • The power switch is turned off and the shift control is locked.
            • The remote air conditioning system is turned on.
      4. Situation C
        • There are 2 patterns for situation C.
          • Pattern 1:

            When the hybrid control system is left running and park (P) has been selected, the driver closes the driver door and attempts to leave the vehicle while holding the key.

            In this situation, the following control is performed:

            Possible Effects without Warning Vehicle theft, hybrid control system cannot be restarted, discharged battery
            Warning Active Condition The warning is activated when all of the following conditions are met:
            • Park (P) has been selected.
            • The power switch is in a mode other than off.
            • The key is not in the vehicle.
            • The driver door is opened → closed.
            • The vehicle speed is 0 km/h (0 mph).
            Warning Method Combination Meter Assembly Buzzer Sounds once
            Multi-information Display The following warning message is displayed:
            • Key not Detected
            Wireless Door Lock Buzzer Sounds 3 times
            Power Switch Illumination -
            Warning Stop Condition The warning is stopped when either of the following conditions is met:
            • The power switch is turned off.
            • The key is returned to the vehicle.
          • Pattern 2:

            Under the situation of pattern 1, the driver touches the lock sensor on the door outside handle assembly.

            In this situation, the following control is performed:

            Possible Effects without Warning Vehicle theft, discharged battery
            Warning Active Condition The warning is activated when all of the following conditions are met:
            • The power switch is in a mode other than off.
            • Park (P) has been selected.
            • All doors are closed.
            • The key is not in the vehicle (within one of the detection areas).
            • The lock sensor is on.
            • The vehicle speed is 0 mph (0 km/h).
            Warning Method Combination Meter Assembly Buzzer -
            Multi-information Display The following warning message is displayed for 60 seconds (and then automatically turned off).
            • Turn Power Off
            • Key not Detected
            Wireless Door Lock Buzzer Sounds continuously
            Power Switch Illumination -
            Warning Stop Condition The warning is stopped when one of the following conditions is met:
            Combination Meter Assembly Multi-information Display
            • The power switch is turned off.
            • With park (P) selected, the shift lever is moved to select another shift state.
            • The vehicle speed is above 0 km/h (0 mph).
            Wireless Door Lock Buzzer
            • 10 seconds have elapsed after the wireless door lock buzzer is activated.
            • Any door is opened.
            • The power switch is turned off.
            • With park (P) selected, the shift lever is moved to select another shift state.
            • The vehicle speed is above 0 km/h (0 mph).
            • Key is returned to the vehicle.
      5. Situation D
        • The lock sensor on the door outside handle assembly is touched to perform entry lock with a door open.

          In this situation, the following control is performed:

          Possible Effects without Warning Vehicle theft
          Warning Active Condition The warning is activated when all of the following conditions are met:
          • The power switch is off.
          • Any door is opened.
          • The lock sensor on a door outside handle assembly is on (touched).
          Warning Method Combination Meter Assembly Buzzer -
          Multi-information Display -
          Wireless Door Lock Buzzer Sounds continuously
          Power Switch Illumination -
          Warning Stop Condition The warning is stopped when one of the following conditions is met:
          • The power switch is turned to a mode other than off.
          • All doors are closed.
          • An unlock operation is performed using the wireless door lock remote function.
          • The touch sensor on the inner side of a door outside handle assembly is used to perform entry unlock.
          • 10 seconds have elapsed after the wireless door lock buzzer is activated.
      6. Situation E
        • When the hybrid control system is left running, a passenger leaves the vehicle while holding the key.

          In this situation, the following control is performed:

          Possible Effect without Warning Hybrid control system cannot be restarted
          Warning Active Condition The warning is activated when all of the following conditions are met:
          • The power switch is in a mode other than off.
          • A door other than the driver door is opened → closed.
          • The vehicle speed is 0 mph (0 km/h).
          • The key is not in the vehicle.
          Warning Method Combination Meter Assembly Buzzer Sounds once
          Multi-information Display The following warning message is displayed:
          • Key not Detected
          Wireless Door Lock Buzzer Sounds 3 times
          Power Switch Illumination -
          Warning Stop Condition The warning is stopped when either of the following conditions is met:
          • The power switch is turned off.
          • The key is returned to the vehicle.
      7. Situation F
        • When the key is not in the vehicle or the key battery is dead, the driver attempts to start the hybrid control system or turn the power switch on (IG).

          In this situation, the following control is performed:

          Possible Effects without Warning Confuses the user
          Warning Active Condition The warning is activated when all of the following conditions are met:
          • The power switch is pushed.
          • The key is not in the vehicle.
          • The immobilizer system is set.
          Warning Method Combination Meter Assembly Buzzer Sounds once
          Multi-information Display The following warning message is displayed for 15 seconds (and then automatically turned off).
          • Key not Detected
          Wireless Door Lock Buzzer -
          Power Switch Illumination -
          Warning Stop Condition Check if the key is in a detection area.
          If the key is in a detection area, press the wireless door lock switch and confirm that the indicator comes on. If the indicator does not come on, replace the key battery with a new one.
      8. Situation G
        • There are two patterns for situation G.
          • Pattern 1:

            The lock sensor on a door outside handle assembly is touched to perform entry lock with the key left in the vehicle.

            In this situation, the following control is performed:

            Possible Effect without Warning Vehicle theft
            Warning Active Condition The warning is activated when all of the following conditions are met:
            • The power switch is off.
            • All doors are closed.
            • The key is in the vehicle.
            • The lock sensor on a door outside handle assembly is on (touched).
            • Any door is unlocked.
            Warning Method Combination Meter Assembly Buzzer -
            Multi-information Display The following warning message is displayed for 60 seconds (and then automatically turned off).
            • Key Detected in Vehicle
            Wireless Door Lock Buzzer Sounds continuously
            Power Switch Illumination -
            Warning Stop Condition The warning is stopped when one of the following conditions is met:
            Combination Meter Assembly Multi-information Display
            • The power switch is turned to a mode other than off.
            • Lock operation is detected.
            Wireless Door Lock Buzzer
            • 10 seconds have elapsed after the wireless door lock buzzer is activated.
            • Any door is opened.
            • The power switch is turned to a mode other than off.
            • Lock operation is detected.
          • Pattern 2:

            With a door open and the key in the vehicle, the lock knob is locked and then the door is closed with the door handle being pulled.

            In this situation, the following control is performed:

            Possible Effect without Warning Vehicle theft
            Warning Active Condition The warning is activated when all of the following conditions are met:
            • With a door open, the lock knob is locked and then the door is closed with the door handle being pulled.
            • The key is in the vehicle.
            • All doors are closed.
            • All doors are locked.
            Warning Method Combination Meter Assembly Buzzer -
            Multi-information Display The following warning message is displayed for 60 seconds (and then automatically turned off).
            • Key Detected in Vehicle
            Wireless Door Lock Buzzer Sounds continuously
            Power Switch Illumination -
            Warning Stop Condition The warning is stopped when one of the following conditions is met:
            Combination Meter Assembly Multi-information Display
            • The power switch is turned to a mode other than off.
            • The vehicle speed is above 0 km/h (0 mph).
            • Lock operation is detected.
            Wireless Door Lock Buzzer
            • 10 seconds have elapsed after the wireless door lock buzzer is activated.
            • Any door is opened.
            • The power switch is turned to a mode other than off.
            • The vehicle speed is above 0 km/h (0 mph).
            • Lock operation is detected.
      9. Situation H
        • The vehicle is driven using a key that has a low battery.

          In this situation, the following control is performed:

          Possible Effect without Warning smart access system with push-button start does not function
          Warning Active Condition The warning is activated when both of the following conditions are met:
          • The power switch is turned off after being left on (IG) for more than 20 minutes.
          • The key battery voltage is low.
          Warning Method Combination Meter Assembly Buzzer -
          Multi-information Display The following warning message is displayed for 15 seconds (and then automatically turned off).
          • Key Battery Low
          Wireless Door Lock Buzzer -
          Power Switch Illumination -
          Warning Stop Condition The key battery is replaced with a new one.
      10. Situation I
        • A malfunction of the power management control ECU is detected.

          In this situation, the following control is performed:

          Possible Effect without Warning Malfunction detection
          Warning Active Condition A malfunction of the power management ECU is detected.
          Warning Method Combination Meter Assembly Buzzer -
          Multi-information Display -
          Wireless Door Lock Buzzer -
          Power Switch Illumination The amber indicator blinks at 2-second intervals (goes off automatically after 15 seconds).
          Warning Stop Condition The power management control ECU returns to normal.
      11. Situation J
        • There are two patterns for situation J.
          • Pattern 1:

            A warning message appears on the multi-information display when the driver does not follow the proper procedure to start the vehicle.

            In this situation, the following control is performed:

            Possible Effects without Warning Usability function
            Warning Active Condition The warning is activated when all of the following conditions are met:
            • The power switch is turned off.
            • Driver door is closed → opened.
            • The power switch is turned from off to on (ACC) more than twice with the hybrid control system off and the brake pedal not depressed.
            Warning Method Combination Meter Assembly Buzzer -
            Multi-information Display The following warning message is displayed for 10 seconds (and then automatically turned off).
            • Depress Brake Pedal and Push Power Switch to Start
            Wireless Door Lock Buzzer -
            Power Switch Illumination -
            Warning Stop Condition The power switch is pushed with the brake pedal depressed.
          • Pattern 2:

            A message indicating how to start the hybrid control system appears on the multi-information display when the shift lever is in a position in which the hybrid control system cannot be started.

            In this situation, the following control is performed:

            Possible Effects without Warning Usability function
            Warning Active Condition The warning is activated when all of the following conditions are met:
            • The hybrid control system is stopped.
            • The vehicle speed is 0 km/h (0 mph).
            • More than 0.5 seconds have elapsed after the power switch is turned on (IG).
            • The shift state other than park (P).
            Warning Method Combination Meter Assembly Buzzer -
            Multi-information Display The following warning message is displayed:
            • Shift to P Position to Start
            Wireless Door Lock Buzzer -
            Power Switch Illumination -
            Warning Stop Condition The warning is stopped when one of the following conditions is met:
            • The P position switch (transmission shift main switch) is pushed.
            • The shift lever is moved to N.
            • The vehicle speed is above 0 km/h (0 mph).
            • The power switch is turned off or on (ACC).
            • The hybrid control system is started.
      12. Situation K
        • There are two patterns for situation K.
          • Pattern 1:

            When the power switch is pushed, the key cannot be detected in the vehicle two times in a row.

            In this situation, the following control is performed:

            Possible Effects without Warning Usability function
            Warning Active Condition The warning is activated when all of the following conditions are met:
            • The immobilizer system is set.
            • The key is not in the vehicle.
            • When the power switch is turned on (ACC) or on (IG), a certification error occurs two times in a row.
            Warning Method Combination Meter Assembly Buzzer Sounds once
            Multi-information Display The following warning message is displayed for 60 seconds (and then automatically turned off).
            • Depress Brake Pedal, Touch Power Switch with Key
            Wireless Door Lock Buzzer -
            Power Switch Illumination -
            Warning Stop Condition The warning is stopped when either of the following conditions is met:
            • The immobilizer system certification result is OK.
            • Key certification in the vehicle has stopped either because 30 seconds have elapsed after any of the doors were opened and closed, or because the brake pedal is depressed.
          • Pattern 2:

            The driver attempts to start the hybrid control system after performing a driver door key linked unlock operation.

            In this situation, the following control is performed:

            Possible Effects without Warning Usability function
            Warning Active Condition The warning is activated when all of the following conditions are met:
            • A driver door key linked unlock operation is performed.
            • The immobilizer system is set.
            • The power switch is pushed.
            • The key is not in the vehicle.
            Warning Method Combination Meter Assembly Buzzer Sounds once
            Multi-information Display The following warning message is displayed for 60 seconds (and then automatically turned off).
            • Depress Brake Pedal, Touch Power Switch with Key
            Wireless Door Lock Buzzer -
            Power Switch Illumination -
            Warning Stop Condition The warning is stopped when either of the following conditions is met:
            • The immobilizer system certification result is OK.
            • The key is returned to the vehicle.
      13. Situation L
        • A warning message appears on the multi-information display when the driver attempts to turn the power switch off with a shift state other than park (P) or neutral (N) has been selected.

          In this situation, the following control is performed:

          Possible Effects without Warning Usability function
          Warning Active Condition The warning is activated when both of the following conditions are met:
          • A shift state other than park (P) or neutral (N) has been selected.
          • The power switch is turned from on (IG) to on (ACC).
          Warning Method Combination Meter Assembly Buzzer -
          Multi-information Display The following warning message is displayed:
          • Shift to P Position and Push Power Switch Turn Power Off
          Wireless Door Lock Buzzer -
          Power Switch Illumination -
          Warning Stop Condition The warning is stopped when either of the following conditions is met:
          • The P position switch (transmission shift main switch) is pushed.
          • The power switch is turned to a mode other than on (ACC).
      14. Situation M
        • A warning message appears on the multi-information display when automatic power off operation occurs.

          In this situation, the following control is performed:

          Possible Effects without Warning Battery saving function
          Warning Active Condition The warning is activated when all of the following conditions are met:
          • Park (P) has been selected.
          • The power switch is on (ACC) or on (IG).
          • The vehicle speed is 0 km/h (0 mph).
          • The hybrid control system is stopped.
          • The power source control system is turned off by automatic power off function.
          Warning Method Combination Meter Assembly Buzzer -
          Multi-information Display The following warning message is displayed for 10 seconds (and then automatically turned off).
          • Auto Power Off to Conserve Battery
          Wireless Door Lock Buzzer -
          Power Switch Illumination -
          Warning Stop Condition The power switch is turned to a mode other than off.
      15. Situation N
        • A warning message appears on the multi-information display when a key with a depleted battery is touched to the power switch while depressing the brake.

          In this situation, the following control is performed:

          Possible Effects without Warning Malfunction detection
          Warning Active Condition Key certification result is OK.*
          Warning Method Combination Meter Assembly Buzzer Sounds once
          Multi-information Display The following warning message is displayed for 10 seconds (and then automatically turned off).
          • Depress Brake Pedal and Push Power Switch to Start
          Wireless Door Lock Buzzer -
          Power Switch Illumination The amber indicator blinks
          Warning Stop Condition The warning is stopped when either of the following conditions is met:
          • The hybrid control system is started.
          • The key is returned to the vehicle.

          *: This situation occurs following situation M.

      16. Situation O
        • A warning message appears on the multi-information display when the vehicle starts moving without the registered key in the vehicle.

          In this situation, the following control is performed:

          Possible Effects without Warning Hybrid control system cannot be restarted
          Warning Active Condition When vehicle speed is detected after the key is removed from the vehicle, the warning is activated (only for first time).
          Warning Method Combination Meter Assembly Buzzer Sounds once
          Multi-information Display The following warning message is displayed:
          • Key not Detected
          Wireless Door Lock Buzzer -
          Power Switch Illumination -
          Warning Stop Condition The warning is stopped when either of the following conditions is met:
          • The power switch is turned off.
          • The key is returned to the vehicle.
  14. BATTERY SAVING 
    1. Vehicle Battery Saving Function

      In the smart access system with push-button start, signals are emitted outside the vehicle at a prescribed interval (0.25 seconds) when the doors are locked. Therefore, the vehicle battery could be drained if the vehicle remains parked for a long time. For this reason, the controls listed below are affected:

      Condition Control
      Both conditions below are met for 5 days:
      • Key is not in detection area
      • Touch sensor or lock switch operation is not performed
      Signal transmission interval is extended from 0.25 to 0.75 seconds
      Both conditions below are met for 14 days:
      • Key is not in detection area
      • Touch sensor or lock switch operation is not performed
      The smart access system with push-button start automatically deactivates

      Reinstatement Conditions

      • A wireless door lock control signal (lock, unlock) is input and the ID code matches.
      • A user carries the key and touches a lock sensor on a door outside handle assembly.
      • The driver door is locked or unlocked by the mechanical key.
    2. Key Battery and Vehicle Battery Saving Function

      In the smart access system with push-button start, if the key is constantly in the exterior detection area of the doors, the system maintains periodic communication with the key. Therefore, if the vehicle remains parked in that state for a long time, the key battery and vehicle battery could be drained. For this reason, if this state continues longer than 10 minutes, the smart access system with push-button start automatically becomes deactivated.

      Reinstatement Conditions

      • A wireless door lock control signal (lock, unlock) is input and the ID code matches.
      • A user carries the key and touches a lock sensor on a door outside handle assembly.
      • A door is locked or unlocked by the mechanical key.