LEMON Manuals: Even more car manuals for everyone
Home >> Lexus >> 2012 >> HS 250h >> Repair and Diagnosis (Single Page) >> Accessories & Equipment >> Wiper/Washer Systems >> Wiper System/Washer System (Diagnostics & Circuit Tests) >> Wiper And Washer System >> Circuit Tests >> Rain Sensor Circuit >> Procedure

Rain Sensor Circuit: Procedure

  1. CHECK HARNESS AND CONNECTOR (WINDSHIELD WIPER RELAY ASSEMBLY - RAIN SENSOR) 
    1. Disconnect the F101 windshield wiper relay assembly connector.
    2. Disconnect the P7 rain sensor connector.
    3. Measure the resistance according to the value(s) in the table below.

      Standard Resistance

      Tester Connection Condition Specified Condition
      F101-8 (SIG) - P7-4 (SIG) Always Below 1 Ω
      P7-4 (SIG) - Body ground Always 10 kΩ or higher
      F101-14 (PA1) - P7-3 (AUTO) Always Below 1 Ω
      P7-3 (AUTO) - Body ground Always 10 kΩ or higher
      F101-25 (E) - P7-1 (ES) Always Below 1 Ω
      P7-1 (ES) - Body ground Always 10 kΩ or higher

    NG → REPAIR OR REPLACE HARNESS OR CONNECTOR 

    OK: Go to next step 

  2. INSPECT WINDSHIELD WIPER RELAY ASSEMBLY 
    1. Reconnect the F101 windshield wiper relay assembly connector.
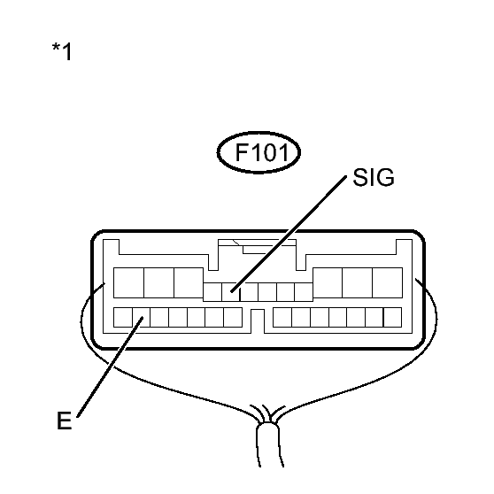
      Fig 1: Identifying F101 Windshield Wiper Relay Assembly Connector
      GTY256813Courtesy of © TOYOTA, LICENSE AGREEMENT TMS1002
    2. Measure the voltage according to the value(s) in the table below.

      Standard Voltage

      Tester Connection Condition Specified Condition
      F101-8 (SIG) - F101-25 (E) Power switch on (IG) 7.5 to 8.5 V
      TEXT IN ILLUSTRATION

      *1 Component with harness connected
      (Windshield Wiper Relay Assembly)

    NG → See step   6 

    OK: Go to next step 

  3. INSPECT RAIN SENSOR 
    1. Reconnect the P7 rain sensor connector.
      Fig 2: Identifying P7 Rain Sensor Connector
      GTY284231Courtesy of © TOYOTA, LICENSE AGREEMENT TMS1002
    2. Connect an oscilloscope to the automatic light control sensor connector.
    3. Check for pulses.

      OK

      Tester Connection Condition Specified Condition
      P7-3 (AUTO) - P7-1 (ES) Power switch on (IG) Pulse generation
      TEXT IN ILLUSTRATION

      *1 Component with harness connected
      (Rain Sensor)

    NG → See step   5 

    OK → See step   4 

  4. PROCEED TO NEXT SUSPECTED AREA SHOWN IN PROBLEM SYMPTOMS TABLE. Refer to  PROBLEM SYMPTOMS TABLE  
  5. REPLACE RAIN SENSOR. Refer to  COMPONENTS 
  6. REPLACE WINDSHIELD WIPER RELAY ASSEMBLY. Refer to  COMPONENTS