LEMON Manuals: Even more car manuals for everyone
Home >> Lexus >> 2012 >> CT 200h Base >> Repair and Diagnosis (Single Page) >> Hybrid/Electric Powertrain >> Testing and Diagnosis >> Hybrid Control System (Diagnostic Codes (P0069-273 - P0A38-257)) >> Hybrid Control System >> DTC P0A1A-200: Generator Control Module; DTC P0A1A-792: Generator Control Module; DTC P0A1A-793: Generator Control Module >> Wiring Diagram

DTC P0A1A-200: Generator Control Module; DTC P0A1A-792: Generator Control Module; DTC P0A1A-793: Generator Control Module: Wiring Diagram

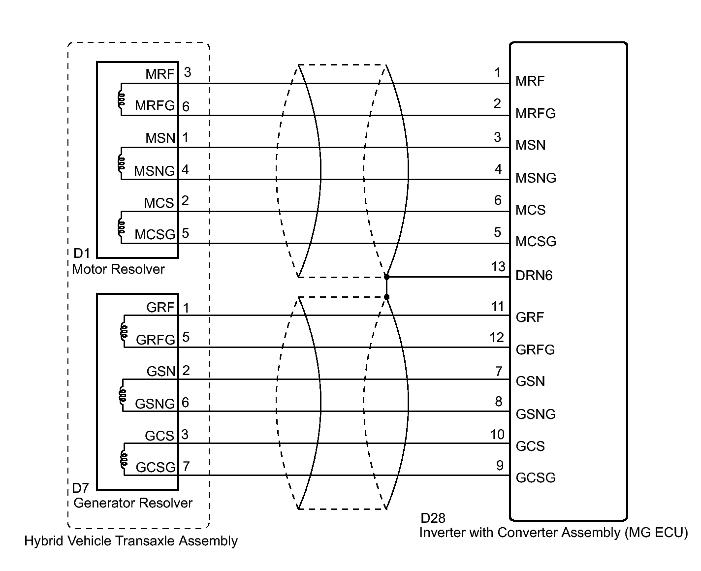
Fig 1: Identifying Hybrid Vehicle Transaxle Assembly Wiring Diagram
GTY356093Courtesy of © TOYOTA, LICENSE AGREEMENT TMS1002