LEMON Manuals: Even more car manuals for everyone
Home >> Lexus >> 2011 >> LS 460 AWD >> Repair and Diagnosis >> Engine Performance >> Engine Control Systems >> Engine Control System (Service Information) >> Knock Sensor >> Inspection >> Inspection

Knock Sensor: Inspection: Inspection

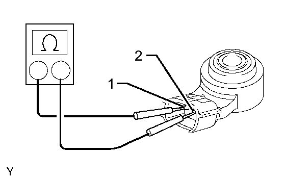
  1. INSPECT KNOCK SENSOR 
    Fig 1: Inspecting Knock Sensor
    GTY287276Courtesy of © TOYOTA, LICENSE AGREEMENT TMS1002
    1. Measure the resistance according to the value(s) in the table below.

      Standard resistance

      Tester Connection Condition Specified Condition
      1 - 2 20°C (68°F) 120 to 280 kΩ

      If the result is not as specified, replace the knock sensor.