LEMON Manuals: Even more car manuals for everyone
Home >> Lexus >> 2011 >> IS 350C >> Repair and Diagnosis (Single Page) >> Accessories & Equipment >> Communication Devices >> Can Communication System (Diagnostics & Circuit Tests) >> Can Communication System >> Circuit Tests >> Steering Angle Sensor Communication Stop Mode >> Wiring Diagram

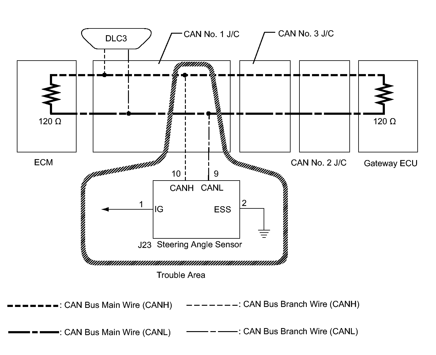
Steering Angle Sensor Communication Stop Mode: Wiring Diagram

Fig 1: Identifying Steering Angle Sensor Communication Stop Mode - Wiring Diagram
GTY282552Courtesy of © TOYOTA, LICENSE AGREEMENT TMS1002