LEMON Manuals: Even more car manuals for everyone
Home >> Lexus >> 2011 >> IS 250 Base, AWD >> Repair and Diagnosis (Single Page) >> Engine Performance >> System >> Engine Control System (Diagnostic Codes (P0617-U0101) & Circuit Tests)) >> SFI System >> Circuit Tests >> EVAP System >> Procedure

EVAP System: Procedure

  1. CONFIRM DTC 
    1. Turn the engine switch off and wait for 10 seconds.
    2. Turn the engine switch on (IG).
    3. Turn the engine switch off and wait for 10 seconds.
    4. Connect Techstream to the DLC3.
    5. Turn the engine switch on (IG).
    6. Enter the following menus: Powertrain / Engine / Trouble Codes.
    7. Confirm DTCs and freeze frame data.

      If any EVAP system DTCs are set, the malfunctioning area can be determined using the table below.

      NOTE:

      If the reference pressure difference between the first and second checks is greater than the specification, all the DTCs corresponding to the reference pressure (P043E, P043F, P2401, P2402 and P2419) will all be stored.

      Fig 1: Identifying DTC Malfunctioning Area Chart
      GTY249521Courtesy of © TOYOTA, LICENSE AGREEMENT TMS1002

    NEXT: Go to next step 

  2. PERFORM EVAP SYSTEM CHECK (AUTOMATIC MODE) 
    NOTE:
    • In the Evaporative System Check (Automatic Mode), the series of 5 steps are performed automatically by the Techstream. It takes a maximum of approximately 18 minutes.
    • Do not perform the Evaporative System Check when the fuel tank is more than 90% full because the cut-off valve may be closed, making the leak check of the fuel tank unavailable.
    • Do not run the engine during this operation.
    • When the temperature of the fuel is 35°C (95°F) or more, a large amount of vapor forms and any check results become inaccurate. When performing the Evaporative System Check, keep the temperature below 35°C (95°F).
    1. Connect the Techstream to the DLC3.
    2. Turn the engine switch on (IG).
    3. Turn the Techstream on.
    4. Clear the DTCs. Refer to DTC CHECK / CLEAR .
    5. Enter the following menus: Powertrain / Engine / Utility / Evaporative System Check / Automatic Mode.
    6. After the Evaporative System Check is completed, check for pending DTCs by entering the following menus: Powertrain / Engine / Trouble Codes / Pending.

      HINT: 

      If no pending DTC is displayed, perform the Monitor Confirmation after the repair is completed. After this confirmation, check for pending DTCs. If no DTC is displayed, the EVAP system is normal.

    NEXT: Go to next step 

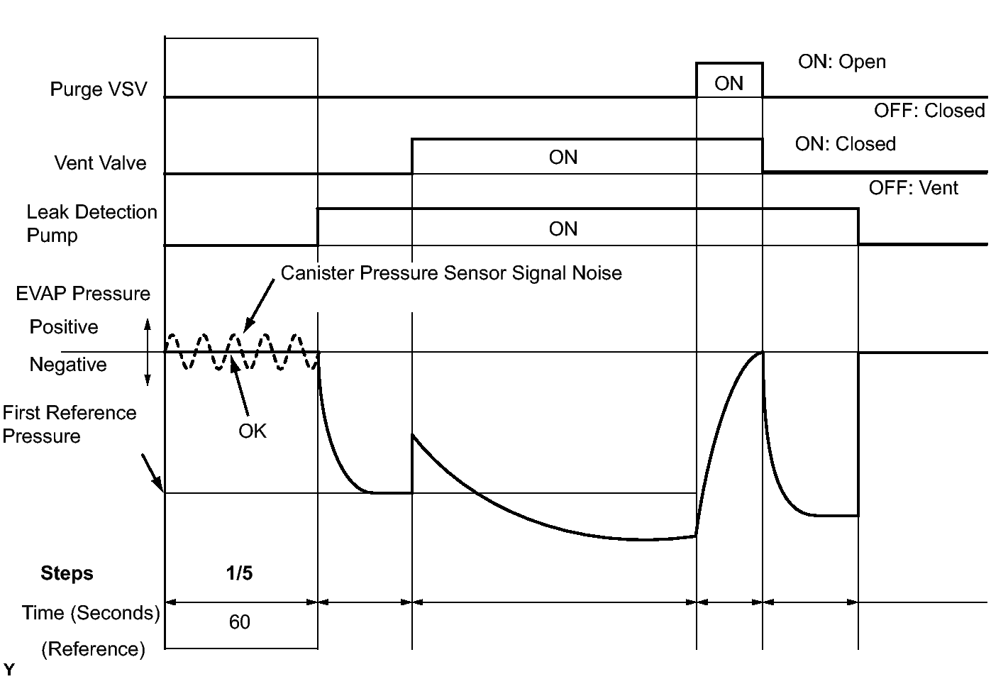
  3. PERFORM EVAP SYSTEM CHECK (MANUAL MODE) 
    Fig 2: Identifying EVAP System Check (Manual Mode) Graph
    GTY175378Courtesy of © TOYOTA, LICENSE AGREEMENT TMS1002
    NOTE:
    • In the Evaporative System Check (Manual Mode), perform the series of 5 Evaporative System Check steps manually using the Techstream.
    • Do not perform the Evaporative System Check when the fuel tank is more than 90% full because the cut-off valve may be closed, making the leak check of the fuel tank unavailable.
    • Do not run the engine in this step.
    • When the temperature of the fuel is 35°C (95°F) or more, a large amount of vapor forms and any check results become inaccurate. When performing the Evaporative System Check, keep the temperature below 35°C (95°F).
    1. Connect the Techstream to the DLC3.
    2. Turn the engine switch on (IG).
    3. Turn the Techstream on.
    4. Clear the DTCs. Refer to DTC CHECK / CLEAR .
    5. Enter the following menus: Powertrain / Engine / Utility / Evaporative System Check / Manual Mode.

    NEXT: Go to next step 

  4. PERFORM EVAP SYSTEM CHECK (STEP 1/5) 
    Fig 3: Checking Evap Pressure Step 1/5
    GTY352803Courtesy of © TOYOTA, LICENSE AGREEMENT TMS1002
    1. Check the EVAP pressure in step 1/5.

      Result

      DTC* Test Result Suspected Trouble Area Proceed to
      - Virtually no variation in EVAP pressure Not yet determined A
      P0451 EVAP pressure fluctuates by +-0.3 kPa (2.25 mmHg) or more Canister pressure sensor signal noise B

      *: These DTCs are already present in the ECM when the vehicle arrives and are confirmed in the "Confirm DTC" procedures above.

    B → See step   29 

    A: Go to next step 

  5. PERFORM EVAP SYSTEM CHECK (STEP 1/5 TO 2/5) 
    Fig 4: Checking Evap Pressure Step 1/5 To 2/5
    GTY354320Courtesy of © TOYOTA, LICENSE AGREEMENT TMS1002
    1. Check the EVAP pressure in step 1/5 and 2/5.

      Result

      DTC* Test Result Suspected Trouble Area Proceed to
      - Virtually no variation in EVAP pressure during step 1/5. Then decreases to reference pressure Not yet determined A
      P2402 Small difference between EVAP pressures during steps 1/5 and 2/5 Leak detection pump stuck ON B

      *: The DTCs related to the EVAP system are displayed on Techstream when checking.

      HINT: 

      The first reference pressure is the value determined in step 2/5.

    B → See step   22 

    A: Go to next step 

  6. PERFORM EVAP SYSTEM CHECK (STEP 2/5) 
    Fig 5: Checking Evap Pressure Step 2/5
    GTY272759Courtesy of © TOYOTA, LICENSE AGREEMENT TMS1002

    HINT: 

    Make a note of the pressures checked in the steps (a) and (b) below.

    1. Check the EVAP pressure 4 seconds after the leak detection pump is activated*.

      *: The leak detection pump begins to operate as step 1/5 is proceeded to step 2/5 (Step B).

    2. Check the EVAP pressure again when it has stabilized. This pressure is the reference pressure.

      Result

      DTC* Test Result Suspected Trouble Area Proceed to
      - EVAP pressure in step B between -4.85 kPa and -1.057 kPa (-36.38 mmHg and -7.93 mmHg) Not yet determined A
      P043F and P2401 EVAP pressure in step B -1.057 kPa (-7.93 mmHg) or more
      • Reference orifice high-flow
      • Leak detection pump stuck OFF
      B
      P043E EVAP pressure in step B below -4.85 kPa (-36.38 mmHg) Reference orifice clogged C
      P2419 EVAP pressure in step A more than -1.057 kPa (-7.93 mmHg) Vent valve stuck closed D

      *: These DTCs are already present in the ECM when the vehicle arrives and are confirmed in the "Confirm DTC" procedures above.

    B → See step   11 

    C → See step   29 

    D → See step   20 

    A: Go to next step 

  7. PERFORM EVAP SYSTEM CHECK (STEP 2/5 TO 3/5) 
    Fig 6: Checking Evap Pressure Step 2/5 To 3/5
    GTY260637Courtesy of © TOYOTA, LICENSE AGREEMENT TMS1002
    1. Check the EVAP pressure in step 3/5.

      Result

      DTC* Test Result Suspected Trouble Area Proceed to
      - EVAP pressure increases by 0.3 kPa (2.25 mmHg) or more within 10 seconds of proceeding from step 2/5 to step 3/5 Not yet determined A
      P2420 No variation in EVAP pressure despite proceeding from step 2/5 to step 3/5 Vent valve stuck open (vent) B
      P0451 No variation in EVAP pressure during steps 1/5 through 3/5 Canister pressure sensor output value stuck C

      *: These DTCs are already present in the ECM when the vehicle arrives and are confirmed in the step 1 "Confirm DTC".

    B → See step   19 

    C → See step   29 

    A: Go to next step 

  8. PERFORM EVAP SYSTEM CHECK (STEP 3/5) 
    Fig 7: Checking Evap Pressure Step 3/5
    GTY268477Courtesy of © TOYOTA, LICENSE AGREEMENT TMS1002
    1. Wait until the EVAP pressure change is less than 0.1 kPa (0.75 mmHg) for 30 seconds.
    2. Measure the EVAP pressure and record it.

      HINT: 

      A few minutes are required for the EVAP pressure to become saturated. When there is little fuel in the fuel tank, it takes up to 15 minutes.

    NEXT: Go to next step 

  9. PERFORM EVAP SYSTEM CHECK (STEP 4/5) 
    Fig 8: Checking Evap Pressure Step 4/5
    GTY348801Courtesy of © TOYOTA, LICENSE AGREEMENT TMS1002
    1. Check the EVAP pressure in step 4/5.

      Result

      DTC* Test Result Suspected Trouble Area Proceed to
      - EVAP pressure increases by 0.3 kPa (2.25 mmHg) or more within 10 seconds of proceeding from step 3/5 to step 4/5 Not yet determined A
      P0441 EVAP pressure increases by 0.3 kPa (2.25 mmHg) or more within 10 seconds of proceeding from step 3/5 to step 4/5 Problems in EVAP hose between purge VSV and intake manifold B
      P0441 Variation in EVAP pressure less than 0.3 kPa (2.25 mmHg) for 10 seconds, after proceeding from step 3/5 to step 4/5 Purge VSV stuck closed C

      *: These DTCs are already present in the ECM when the vehicle arrives and are confirmed in the step 1 "Confirm DTC".

    B → See step   15 

    C → See step   12 

    A: Go to next step 

  10. PERFORM EVAP SYSTEM CHECK (STEP 5/5) 
    Fig 9: Checking Evap Pressure Step 5/5
    GTY249059Courtesy of © TOYOTA, LICENSE AGREEMENT TMS1002
    1. Check the EVAP pressure in step 5/5.
    2. Compare the EVAP pressure in step 3/5 and the second 0.02 inch leak pressure standard (step 5/5).

      Result

      DTC* Test Result Suspected Trouble Area Proceed to
      - EVAP pressure (step 3/5) lower than second reference pressure (step 5/5) Not yet determined A
      P0441 and P0455 EVAP pressure (step 3/5) higher than [second reference pressure (step 5/5) x 0.2]
      • Purge VSV stuck open
      • EVAP gross leak
      B
      P0456 EVAP pressure (step 3/5) higher than second reference pressure (step 5/5) EVAP small leak C

      *: These DTCs are already present in the ECM when the vehicle arrives and are confirmed in the step 1 "Confirm DTC".

    A → See step   35 

    B → See step   12 

    C: Go to next step 

  11. PERFORM EVAP SYSTEM CHECK (STEP 3/5) 
    Fig 10: Checking Evap Pressure Step 3/5
    GTY279862Courtesy of © TOYOTA, LICENSE AGREEMENT TMS1002
    1. Check the EVAP pressure in step 3/5.

      Result

      DTC* Test Result Suspected Trouble Area Proceed to
      P043F EVAP pressure less than [reference pressure] measured at 2/5 Reference orifice high-flow A
      P2401 EVAP pressure almost same as [reference pressure] measured at 2/5 Leak detection pump stuck off B

      *: The DTCs related to the EVAP system are displayed on Techstream when checking.

      HINT: 

      The first reference pressure is the value determined in step 2/5.

    A → See step   29 

    B → See step   22 

  12. PERFORM ACTIVE TEST USING TECHSTREAM (PURGE VSV) 
    1. Enter the following menus: Powertrain / Engine / Active Test / Activate the VSV for EVAP Control.
      Fig 11: Disconnecting Hose (To Canister)
      GTY146086Courtesy of © TOYOTA, LICENSE AGREEMENT TMS1002
    2. Disconnect the hose (connected to the canister) from the purge VSV.
    3. Start the engine.
    4. Using the Techstream, turn off the purge VSV (Activate the VSV for EVAP Control: OFF).
    5. Use your finger to confirm that the purge VSV has no suction.
    6. Using the Techstream, turn on the purge VSV (Activate the VSV for EVAP Control: ON).
    7. Use your finger to confirm that the purge VSV has suction.

      Result

      Test Result Suspected Trouble Area Proceed to
      No suction when purge VSV turned off, and suction applied when turned on Purge VSV normal A
      Suction applied when purge VSV turned off Purge VSV stuck open B
      No suction when purge VSV turned on
      • Purge VSV stuck closed
      • Problems with EVAP hose between purge VSV and intake manifold
      C
    8. Reconnect the hose.

    B → See step   14 

    C → See step   15 

    A: Go to next step 

  13. CHECK FUEL TANK CAP 
    1. Check that the fuel tank cap is correctly installed and confirm that the fuel tank cap meets OEM specifications.
    2. Tighten the fuel tank cap until a few click sounds are heard.

      HINT: 

      If an EVAP tester is available, check the fuel tank cap using the Techstream.

      1. Remove the fuel tank cap and install it onto the fuel tank cap adaptor.
      2. Connect an EVAP tester pump hose to the adaptor, and pressurize the cap to 3.2 to 3.7 kPa (24 to 28 mmHg) using an EVAP tester pump.
      3. Seal the adaptor and wait for 2 minutes.
      4. Check the pressure. If the pressure is 2 kPa (15 mmHg) or more, the fuel tank cap is normal.

        Result

        Test Result Suspected Trouble Area Proceed to
        Fuel tank cap correctly installed - A
        Fuel tank cap loose
        • Fuel tank cap improperly installed
        • Defective fuel tank cap
        • Fuel tank cap does not meet OEM specifications
        B
        No fuel tank cap - C
    3. Reinstall the fuel tank cap.

    A → See step   28 

    B → See step   26 

    C → See step   27 

  14. INSPECT DUTY VACUUM SWITCHING VALVE (PURGE VSV) 
    1. Turn the engine switch off.
      Fig 12: Disconnecting Hose (To Canister)
      GTY146086Courtesy of © TOYOTA, LICENSE AGREEMENT TMS1002
    2. Disconnect the E15 purge VSV connector.
    3. Disconnect the hose (connected to the canister) from the purge VSV.
    4. Start the engine.
    5. Use your finger to confirm that the purge VSV has no suction.

      Result

      Test Result Suspected Trouble Area Proceed to
      No suction ECM A
      Suction applied Purge VSV B
    6. Reconnect the purge VSV connector.
    7. Reconnect the hose.

    A → See step   34 

    B → See step   30 

  15. CHECK EVAP HOSE (PURGE VSV - INTAKE MANIFOLD) 
    1. Disconnect the hose (connected to the throttle body) from the purge VSV.
      Fig 13: Identifying Hose (To Intake Manifold)
      GTY352322Courtesy of © TOYOTA, LICENSE AGREEMENT TMS1002
    2. Start the engine.
    3. Use your finger to confirm that the hose has suction.

      Result

      Test Result Suspected Trouble Area Proceed to
      Suction applied EVAP hose between purge VSV and intake manifold normal A
      No suction
      • Intake manifold port
      • EVAP hose between purge VSV and intake manifold
      B
    4. Reconnect the hose.

    B → See step   25 

    A: Go to next step 

  16. INSPECT DUTY VACUUM SWITCHING VALVE (PURGE VSV) 
    1. Remove the purge VSV connector.
      Fig 14: Checking Purge VSV
      GTY348510Courtesy of © TOYOTA, LICENSE AGREEMENT TMS1002
    2. Apply battery voltage to the terminals of the purge VSV.
    3. Using and air gum, confirm that air flows from port A to port B.

      Result

      Test Result Condition Suspected Trouble Area Proceed to
      Air flows Battery voltage is applied to purge VSV terminals Purge VSV normal A
      No air flows Battery voltage is applied to purge VSV terminals Purge VSV B
    4. Install the purge VSV.

    B → See step   30 

    A: Go to next step 

  17. CHECK HARNESS AND CONNECTOR (POWER SOURCE OF PURGE VSV) 
    1. Disconnect the E15 purge VSV connector.
    2. Turn the engine switch on (IG).
    3. Measure the voltage between terminal 1 of purge VSV connector and body ground.

      Result

      Tester Connection Switch Condition Test Result Suspected Trouble Area Proceed to
      E15-1 - Body ground Engine switch on (IG) Between 11 V and 14 V Normal A
      Other than result above Wire harness or connectors between purge VSV and ECM B
    4. Reconnect the purge VSV connector.

    B → See step   31 

    A: Go to next step 

  18. CHECK HARNESS AND CONNECTOR (PURGE VSV - ECM) 
    1. Disconnect the E3 ECM connector and the E15 purge VSV connector.
    2. Measure the resistance according to the value(s) in the table below.

      Standard resistance

      Tester Connection Specified Condition
      E3-11 (PRG) - E15-2 Below 1 Ω
      E3-11 (PRG) - Body ground 10 kΩ or higher
      E15-2 - Body ground 10 kΩ or higher
    3. Reconnect the purge VSV connector.
    4. Reconnect the ECM connector.

    OK → See step   34 

    NG → See step   31 

  19. INSPECT CANISTER ASSEMBLY (POWER SOURCE FOR VENT VALVE) 
    1. Turn the engine switch off.
      Fig 15: Inspecting Canister Assembly (Power Source For Vent Valve)
      GTY357793Courtesy of © TOYOTA, LICENSE AGREEMENT TMS1002
    2. Disconnect the Q49 canister pump module connector.
    3. Turn the engine switch on (IG).
    4. Measure the voltage between terminal 9 of the canister connector and body ground.

      Result

      Tester Connection Switch Condition Specified Condition Suspected Trouble Area Proceed to
      Q49-9 - Body ground Engine switch on (IG) 11 to 14 V
      1. Wire harness between vent valve and ECM
      2. Vent valve
      3. ECM
      A
      Below 3 V Power source wire harness of vent valve B
    5. Reconnect the canister pump module connector.

    B → See step   31 

    A: Go to next step 

  20. INSPECT CANISTER PUMP MODULE (VENT VALVE OPERATION) 
    1. Turn the engine switch off.
      Fig 16: Identifying Q49 Canister Connector
      GTY143825Courtesy of © TOYOTA, LICENSE AGREEMENT TMS1002
    2. Disconnect the Q49 canister pump module connector.
    3. Apply the battery voltage to terminals 9 and 8 of the canister pump module.
    4. Touch the canister pump module to confirm the vent valve operation.

      Result

      Condition Test Result Suspected Trouble Area Proceed to
      Apply battery voltage to terminals 9 and 8 Operating
      1. Wire harness between vent valve and ECM
      2. ECM
      A
      Not operating Vent valve B
    5. Reconnect the canister pump module connector.

    B → See step   29 

    A: Go to next step 

  21. CHECK HARNESS AND CONNECTOR (ECM - CANISTER PUMP MODULE) 
    1. Disconnect the A6 ECM connector and the Q49 canister pump module connector.
    2. Measure the resistance according to the value(s) in the table below.

      Result

      Tester Connection Condition Test Result Suspected Trouble Area Proceed to
      A6-12 (VPMP) - Q49-8 Always Below 1 Ω ECM A
      10 kΩ or higher Wire harness between ECM and canister pump module B
    3. Reconnect the ECM connector.
    4. Reconnect the canister pump module connector.

    A → See step   34 

    B → See step   31 

  22. PERFORM ACTIVE TEST USING TECHSTREAM (ACTIVATE THE VACUUM PUMP) 
    1. Turn the engine switch off.
      Fig 17: Inspecting Canister Assembly (Power Source For Vent Valve)
      GTY357793Courtesy of © TOYOTA, LICENSE AGREEMENT TMS1002
    2. Disconnect the Q49 canister pump module connector.
    3. Turn the engine switch on (IG).
    4. Enter the following menus: Powertrain / Engine / Active Test / Activate the Vacuum Pump.
    5. Measure the voltage between terminal 1 of the canister connector and body ground.

      Result

      Tester Connection Condition Test Result Suspected Trouble Area Proceed to
      Q49-1 - Body ground Leak detection pump on and off
      (Active Test ON and OFF)
      Below 3 V when OFF
      11 to 14 V when ON
      1. Wire harness between leak detection pump and body ground
      2. Leak detection pump
      A
      Below 3 V when OFF and ON
      1. Wire harness between leak detection pump and ECM
      2. ECM
      B
      11 to 14 V when OFF and ON ECM C
    6. Reconnect the canister pump module connector.

    B → See step   24 

    C → See step   34 

    A: Go to next step 

  23. CHECK HARNESS AND CONNECTOR (CANISTER PUMP MODULE - BODY GROUND) 
    1. Turn the engine switch off.
    2. Disconnect the Q49 canister pump module connector.
    3. Measure the resistance between terminal 6 of the canister connector and body ground.

      Result

      Tester Connection Condition Test Result Suspected Trouble Area Proceed to
      Q49-6 - Body ground Always Below 1 Ω Leak detection Pump A
      10 kΩ or higher Wire harness between leak detection pump and body ground B
    4. Reconnect the canister pump module connector.

    A → See step   29 

    B → See step   31 

  24. CHECK HARNESS AND CONNECTOR (ECM - CANISTER PUMP MODULE) 
    1. Disconnect the A6 ECM connector and the Q49 canister pump module connector.
    2. Measure the resistance according to the value(s) in the table below.

      Result

      Tester Connection Condition Test Result Suspected Trouble Area Proceed to
      A6-5 (MPMP) - Q49-1 Always Below 1 Ω ECM A
      10 kΩ or higher Wire harness between ECM and canister pump module B
    3. Reconnect the ECM connector.
    4. Reconnect the canister pump module connector.

    A → See step   34 

    B → See step   31 

  25. INSPECT INTAKE MANIFOLD (EVAP PURGE PORT) 
    1. Stop the engine.
    2. Disconnect the EVAP hose from the intake manifold.
    3. Start the engine.
    4. Use your finger to confirm that the port of the intake manifold has suction.

      Result

      Test Result Suspected Trouble Area Proceed to
      Suction applied EVAP hose between intake manifold and purge VSV A
      No suction Intake manifold B
    5. Reconnect the EVAP hose.

    A → See step   32 

    B → See step   33 

  26. CORRECTLY REINSTALL OR REPLACE FUEL TANK CAP 

    HINT: 

    • When reinstalling the fuel tank cap, tighten it until a few click sounds are heard.
    • When replacing the fuel tank cap, use a fuel tank cap that meets OEM specifications, and install it until a few click sounds are heard.

    NEXT → See step   36 

  27. REPLACE FUEL TANK CAP 

    HINT: 

    When replacing the fuel cap, use a fuel cap that meets OEM specifications, and tighten it until a few click sounds are heard.

    NEXT → See step   36 

  28. LOCATE EVAP LEAK PART 
    1. Disconnect the vent hose.
      Fig 18: Identifying Vent Hose
      GTY132856Courtesy of © TOYOTA, LICENSE AGREEMENT TMS1002
    2. Connect the EVAP pressure tester tool to the canister pump module with the adapter.
      Fig 19: Checking EVAP Leak Part
      GTY146088Courtesy of © TOYOTA, LICENSE AGREEMENT TMS1002
    3. Pressurize the EVAP system to 3.2 to 3.7 kPa (24 to 28 mmHg).
    4. Apply soapy water to the piping and connecting parts of the EVAP system.
    5. Look for areas where bubbles appear. This indicates the leak point.
    6. Repair or replace the leak point.

      HINT: 

      Disconnect the hose between the canister and fuel tank from the canister. Block the charcoal canister assembly side and conduct an inspection. In this way, the fuel tank can be excluded as an area suspected of causing fuel leaks.

    NEXT → See step   36 

  29. REPLACE CANISTER 
    1. Replace the canister. Refer to REMOVAL .

    NEXT → See step   36 

  30. REPLACE DUTY VACUUM SWITCHING VALVE (PURGE VSV) 
    1. Disconnect the connector and hoses from the purge VSV.
      Fig 20: Identifying Purge VSV
      GTY146084Courtesy of © TOYOTA, LICENSE AGREEMENT TMS1002
    2. Remove the purge VSV.
    3. Install a new purge VSV.
    4. Reconnect the connector and hoses.

    NEXT → See step   36 

  31. REPAIR OR REPLACE HARNESS OR CONNECTOR 

    NEXT → See step   36 

  32. REPLACE EVAP HOSE (INTAKE MANIFOLD - PURGE VSV) 

    NEXT → See step   36 

  33. INSPECT INTAKE MANIFOLD (EVAP PURGE PORT) 
    1. Check that the EVAP purge port of the intake manifold is not clogged. If necessary, replace the intake manifold.

    NEXT → See step   36 

  34. REPLACE ECM 
    1. Replace the ECM. Refer to REMOVAL .

    NEXT → See step   36 

  35. REPAIR OR REPLACE PARTS AND COMPONENTS INDICATED BY OUTPUT DTCS 
    1. Repair the malfunctioning areas indicated by the DTCs that had been confirmed when the vehicle was brought in.

    NEXT: Go to next step 

  36. PERFORM EVAP SYSTEM CHECK (AUTOMATIC MODE) 
    NOTE:
    • In the Evaporative System Check (Automatic Mode), the series of 5 Evaporative System Check step are performed automatically. It takes a maximum of approximately 18 minutes.
    • Do not perform the Evaporative System Check when the fuel tank is more than 90% full because the cut-off valve may be closed, making the leak check of the fuel tank unavailable.
    • Do not run the engine in this step.
    • When the temperature of the fuel is 35°C (95°F) or more, a large amount of vapor forms and any check results become inaccurate. When performing an Evaporative System Check, keep the temperature below 35°C (95°F).
    1. Connect the Techstream to the DLC3.
    2. Turn the engine switch on (IG).
    3. Turn the Techstream on.
    4. Clear the DTCs. Refer to DTC CHECK / CLEAR .
    5. Enter the following menus: Powertrain / Engine / Utility / Evaporative System Check / Automatic Mode.
    6. After the Evaporative System Check is completed, check for pending DTCs by entering the following menus: Powertrain / Engine / Trouble Codes / Pending.

      HINT: 

      If no pending DTC is found, the repair has been successfully completed.

    NEXT → COMPLETED