LEMON Manuals: Even more car manuals for everyone
Home >> Lexus >> 2010 >> RX 350 AWD >> Repair and Diagnosis >> External Pages >> Different car >> Section 249 (Smart Access System With Push-Button Start (For Start Function) (Diagnostic Codes & Symptom Tests)) >> SMART ACCESS SYSTEM WITH PUSH-BUTTON START (for Start Function) >> DTC B2282: Vehicle Speed Signal Malfunction >> Procedure

DTC B2282: Vehicle Speed Signal Malfunction: Procedure

WARNING: This page is about a different car, the 2011 Lexus RX 350. However, it is still accessible from the selected car via links, so may be relevant.
  1. CHECK CAN COMMUNICATION SYSTEM 
    1. Check if CAN communication DTCs are output.

      HINT: 

      If any DTCs for CAN communication system malfunction are output, inspect those DTCs first.

      OK

      CAN communication DTC is not output.

    NG → See step   10 

    OK: Go to next step 

  2. CHECK SPEEDOMETER OPERATION 
    1. Connect the Techstream to the DLC3.
    2. Turn the engine switch on (IG).
    3. Turn the Techstream on.
    4. Enter the following menus: Body Electrical / Combination Meter / Data List.
    5. Check the Data List for proper functioning of the vehicle speed signal.
      COMBINATION METER

      Tester Display Measurement Item/Range Normal Condition Diagnostic Note
      Vehicle Speed Meter Vehicle speed/Min.: 0, Max.: 255 Almost same as actual speed (When driving) -

      OK

      Vehicle speed displayed on the Techstream is almost the same as the actual vehicle speed measured using a speedometer tester (calibrated chassis dynamometer).

    NG → See step   11 

    OK: Go to next step 

  3. READ VALUE USING TECHSTREAM 
    1. Enter the following menus: Body Electrical / Power Source Control / Data List.
    2. Read the Data List according to the display on the Techstream.
      POWER SOURCE CONTROL

      Tester Display Measurement Item/Range Normal Condition Diagnostic Note
      Vehicle speed signal Vehicle speed signal/Stop or Run Sop: Vehicle stopped
      Run: Vehicle running
      -

      OK

      Stop (vehicle is stopped) and Run (vehicle is running) appear on the screen.

    NG → See step   4 

    OK → See step   12 

  4. CHECK HARNESS AND CONNECTOR (BATTERY - POWER MANAGEMENT CONTROL ECU) See step   1 

    NG → REPAIR OR REPLACE HARNESS OR CONNECTOR (BATTERY - POWER MANAGEMENT CONTROL ECU) 

    OK: Go to next step 

  5. CHECK HARNESS AND CONNECTOR (POWER MANAGEMENT CONTROL ECU - BODY GROUND) See step   2 

    NG → REPAIR OR REPLACE HARNESS OR CONNECTOR (POWER MANAGEMENT CONTROL ECU - BODY GROUND) 

    OK: Go to next step 

  6. CHECK HARNESS AND CONNECTOR (COMBINATION METER ASSEMBLY - POWER MANAGEMENT CONTROL ECU) 
    1. Disconnect the F15 connector from the combination meter assembly.
      Fig 1: F15 Connector
      GTY351302Courtesy of © TOYOTA, LICENSE AGREEMENT TMS1002
    2. Measure the resistance according to the value(s) in the table below.

      Standard Resistance

      Tester Connection Condition Specified Condition
      F8-23 (SPD) - F15-3 (+S) Always Below 1 Ω
      F8-23 (SPD) - Body ground Always 10 kΩ or higher
      TEXT IN ILLUSTRATION

      *1 Front view of wire harness connector
      (to Power Management Control ECU)
      *2 Front view of wire harness connector
      (to Combination Meter Assembly)

    NG → See step   8 

    OK: Go to next step 

  7. INSPECT COMBINATION METER ASSEMBLY 
    1. Remove the combination meter. Refer to REMOVAL .
      Fig 2: F15 Connector & Waveform
      GTY353517Courtesy of © TOYOTA, LICENSE AGREEMENT TMS1002
    2. Reconnect the F15 connector to the combination meter assembly.
    3. Reconnect the F8 connector to the power management control ECU.
    4. Connect an oscilloscope to terminal F15-3 (+S) and body ground.
    5. Turn the engine switch on (IG).
    6. Turn the wheel slowly.
    7. Check the signal waveform according to the condition(s) in the table below.
      Item Condition
      Tool setting 5 V/DIV., 20 ms./DIV.
      Vehicle condition Driving at approx. 20 km/h (12 mph)

      OK

      The waveform is displayed as shown in the illustration.

      TEXT IN ILLUSTRATION

      *1 Component with harness connected
      (Combination Meter Assembly)

      HINT: 

      When the system is functioning normally, one wheel revolution generates 4 pulses. As the vehicle speed increases, the width indicated by (A) in the illustration narrows.

    NG → See step   13 

    OK → See step   14 

  8. CHECK HARNESS AND CONNECTOR (COMBINATION METER ASSEMBLY - JUNCTION CONNECTOR) 
    1. Disconnect the F93 connector.
      Fig 3: F93 Connector & Combination Meter Assembly
      GTY351255Courtesy of © TOYOTA, LICENSE AGREEMENT TMS1002
    2. Measure the resistance according to the value(s) in the table below.

      Standard Resistance

      Tester Connection Condition Specified Condition
      F15-3 (+S) - F93-57 Always Below 1 Ω
      F15-3 (+S) - Body ground Always 10 kΩ or higher
      TEXT IN ILLUSTRATION

      *1 Front view of wire harness connector
      (to Junction Block)
      *2 Front view of wire harness connector
      (to Combination Meter Assembly)

    NG → REPAIR OR REPLACE HARNESS OR CONNECTOR (COMBINATION METER - JUNCTION BLOCK) 

    OK: Go to next step 

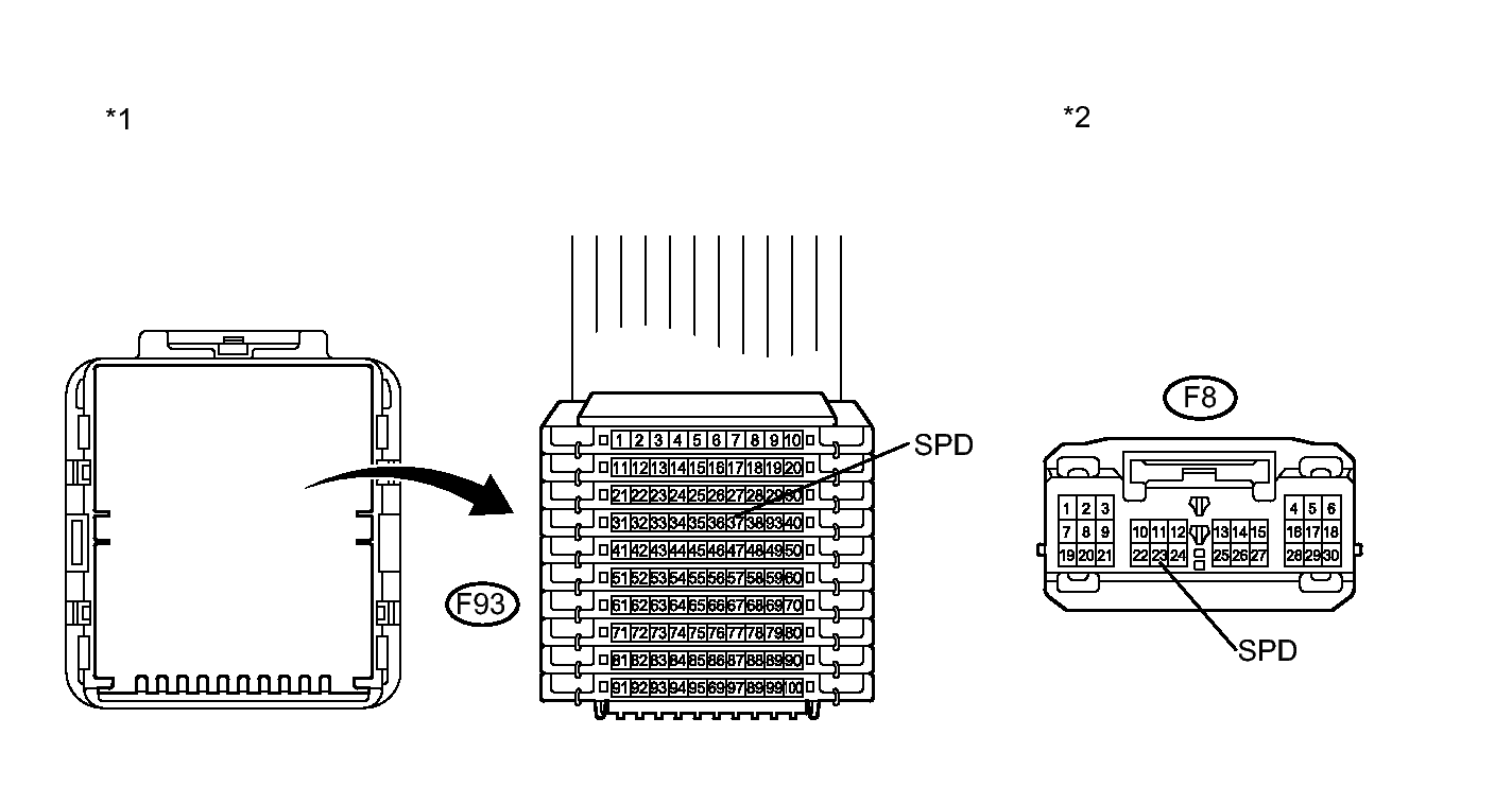
  9. CHECK HARNESS AND CONNECTOR (POWER MANAGEMENT CONTROL ECU - JUNCTION CONNECTOR) 
    1. Measure the resistance according to the value(s) in the table below.
      Fig 4: F93 & F8 Connectors
      GTY358017Courtesy of © TOYOTA, LICENSE AGREEMENT TMS1002

      Standard Resistance

      Tester Connection Condition Specified Condition
      F8-23 (SPD) - F93-37 Always Below 1 Ω
      F8-23 (SPD) - Body ground Always 10 kΩ or higher
      TEXT IN ILLUSTRATION

      *1 Front view of wire harness connector
      (to Junction Block)
      *2 Front view of wire harness connector
      (to Power Management Control ECU)

    NG → REPAIR OR REPLACE HARNESS OR CONNECTOR (POWER MANAGEMENT CONTROL ECU - JUNCTION BLOCK) 

    OK → REPLACE JUNCTION BLOCK 

  10. GO TO CAN COMMUNICATION SYSTEM (DIAGNOSTIC TROUBLE CODE CHART). Refer to  DIAGNOSTIC TROUBLE CODE CHART 
  11. GO TO METER / GAUGE SYSTEM (Speedometer Malfunction). Refer to  Speedometer Malfunction 
  12. REPLACE POWER MANAGEMENT CONTROL ECU. Refer to  REMOVAL 
  13. GO TO METER / GAUGE SYSTEM (Speed Signal Circuit). Refer to  Speed Signal Circuit 
  14. REPLACE POWER MANAGEMENT CONTROL ECU. Refer to  REMOVAL