LEMON Manuals: Even more car manuals for everyone
Home >> Lexus >> 2009 >> SC 430 >> Repair and Diagnosis (Single Page) >> Accessories & Equipment >> Infotainment >> Navigation (Diagnostics & Symptom Tests) >> Navigation System >> Navigation ECU Power Source Circuit >> Procedure

Navigation ECU Power Source Circuit: Procedure

  1. INSPECT FUSE (RADIO NO. 2, AM1, TV) 
    1. Remove the RADIO NO. 2 and TV fuses from the passenger side junction block.
    2. Remove the AM1 fuse from the driver side junction block.
    3. Measure the resistance of the fuses.

      Standard resistance

      Below 1 Ω

    NG → REPLACE FUSE 

    OK: Go to next step 

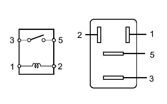
  2. INSPECT RELAY (Marking: ACC) 
    1. Remove the ACC relay from the passenger side junction block.
      Fig 1: Identifying Relay Terminals
      GTY120670Courtesy of © TOYOTA, LICENSE AGREEMENT TMS1002
    2. Measure the resistance of the relay.

      Standard resistance

      Tester Connection Specified Condition
      3 - 5 Below 1 Ω
      3 - 5 10 kΩ or higher
      (when battery voltage is applied to terminals 1 and 2)

    NG → REPLACE RELAY 

    OK: Go to next step 

  3. CHECK WIRE HARNESS (NAVIGATION ECU - BATTERY AND BODY GROUND) 
    1. Disconnect the N3 and N7 ECU connectors.
      Fig 2: Identifying Connector Terminals
      GTY121702Courtesy of © TOYOTA, LICENSE AGREEMENT TMS1002
    2. Measure the resistance and voltage of the wire harness side connectors.

      Standard resistance

      Standard voltage 

      Tester Connection Specified Condition
      N3-17 (GND1) - Body ground Below 1 Ω
      N7-7 (SNSE) - Body ground Below 1 Ω
      Tester Connection Condition Specified Condition
      N3-18 (ACC) - Body ground Ignition switch ACC 10 to 14 V
      N3-9 (+B) - Body ground Always 10 to 14 V

    NG → REPAIR OR REPLACE HARNESS AND CONNECTOR 

    OK → PROCEED TO NEXT CIRCUIT INSPECTION SHOWN IN PROBLEM SYMPTOMS TABLE OR DIAGNOSTIC TROUBLE CODE CHART