LEMON Manuals: Even more car manuals for everyone
Home >> Lexus >> 2009 >> LS 600hL >> Repair and Diagnosis >> General Information >> Identification >> Introduction >> Repair Instruction >> Initialization >> Adjust Millimeter Wave Radar Sensor Assembly

Adjust Millimeter Wave Radar Sensor Assembly

Fig 1: Identifying Millimeter Wave Radar Sensor Range
GTY152560Courtesy of © TOYOTA, LICENSE AGREEMENT TMS1002
WARNING:

Exposure to radio frequency emissions is hazardous to your health. It is hazardous to your health to be within 20 cm (7.9 in.) of the device's radio frequency aperture.

NOTE:
  • This device complies with FCC radio frequency emission regulations.
  • Perform measurements on a level surface.
  • Make sure that no large pieces of metal are within a 10 m (32.81 ft.) x 14 m (45.93 ft.) area in front of the vehicle. If possible, the surrounding area should also be free of large metal objects.
  1. Before adjusting the radar beam axis, prepare the vehicle as follows.
    1. Check the tire pressure and adjust it if necessary.
    2. Remove all excess weight from the vehicle (luggage, heavy objects, etc.).
  2. w/ Air suspension:

    Adjust the vehicle's height to the standard height.

  3. Check and adjust the vertical direction of the radar sensor.
    Fig 2: Identifying Radar Sensor Level
    GTY152561Courtesy of © TOYOTA, LICENSE AGREEMENT TMS1002
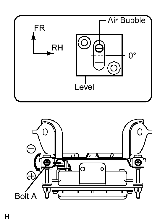
    1. Remove dust, oil and foreign matter from the radar sensor's level rack.
    2. Set a level on the radar sensor's level rack.
    3. Check that the level's air bubble is within the red frame.
      Fig 3: Checking Level's Air Bubble
      GTY130995Courtesy of © TOYOTA, LICENSE AGREEMENT TMS1002

      OK

      Level's air bubble is within red frame.

      If the bubble is not within the red frame, use a screwdriver to adjust bolt A until the air bubble is within the red frame.

      HINT: 

      • The adjustable range within the level's red frame is +-0.2°
      • The target angle is +0.2° (upward angle of 0.2°).
        RESULT

        Adjustment Direction Adjustment Procedure Adjustment Angle
        Vertical adjustment
        • Upward direction: Turn bolt A to negative (-) side
        • Downward direction: Turn bolt A to positive (+) side
        For every 8.4 rotations of adjustment bolt, sensor moves about 1°
  4. Adjust the reflector height.
    Fig 4: Adjusting Reflector Height
    GTY124253Courtesy of © TOYOTA, LICENSE AGREEMENT TMS1002
    1. Adjust the reflector so that the center of SST reflector is the same height as the millimeter wave radar sensor.
      • SST: 09870-60000 
        • 09870-60010
      • SST: 09870-60040 

      HINT: 

      Prepare a 10 m (32.81 ft.) string, a string with a sharp-pointed weight (plumb bob), and a 5 m (16.41 ft.) tape measure.

  5. Place the reflector.
    Fig 5: Adjusting Center By Moving String To Right And Left
    GTY152652Courtesy of © TOYOTA, LICENSE AGREEMENT TMS1002
    1. Hang the string (with weight) from the center of the vehicle rear's emblem. Mark the vehicle rear's center point on the ground. Repeat for the front of the vehicle.
    2. Set one end of the 10 m (32.82 ft.) string on the vehicle rear's center point. Run the string over the vehicle front's center point to a position 5 m (16.41 ft.) beyond the vehicle front's center point, as shown in the illustration. Mark the 5 m (16.41 ft.) position.
    3. Using a tape measure, measure 12 mm (0.47 in.) to the left of the 5 m (16.41 ft.) position. Place the reflector at that position.
      NOTE:

      Perform the operation as precisely as possible.

      Fig 6: Identifying Millimeter Wave Radar Sensor Position
      GTY127591Courtesy of © TOYOTA, LICENSE AGREEMENT TMS1002
  6. Check the radar beam axis.
    1. When using Techstream:
      1. Connect Techstream to the DLC3.
      2. Turn the power switch ON (IG).
      3. Turn the Techstream main switch ON, and turn the cruise control main switch ON.
      4. Select "Connect to Vehicle".
      5. Select each item on the display screen and proceed to the next screen.
      6. Under "System Selection Menu", select "Radar Cruise".
      7. Select "Utility".
      8. Select "Beam Axis Adjustment" and proceed to next screen.

        HINT: 

        A buzzer will sound for 1 seconds.

      9. Follow the tester display, and continue with the adjustment.
    2. Check the following items on the laser cruise divergence data screen.
      NOTE:

      While using the Techstream beam axis adjustment mode, the actual direction and angle of the radar sensor may be different from the Techstream data. In such a case, the deviation is displayed on the combination meter's multi-information display.

      1. Confirm that the distance value is approximately 5 m (16.4 ft.).

        HINT: 

        • A value between 0.0 and 6.3 m (20.7 ft.) is indicated.
        • If the distance is 0 m (0 ft.), the sensor cannot detect the target. Reconfirm that there is no metal in the specified area in front of the vehicle (refer to the NOTICE at the beginning of this adjustment procedure).
      2. Confirm that the left/right side value is between 0.0 and 6.3.

        HINT: 

        If the distance is 0 m (0 ft.), the sensor cannot detect the target. Reconfirm that there is no metal in the specified area in front of the vehicle (refer to the NOTICE at the beginning of this adjustment procedure).

  7. Check and adjust the horizontal direction of the radar sensor.
    1. Check that the divergence of the radar beam axis is 0°.

      Standard

      0° (Both right and left)

      If the axis is not as specified, use a hexagon wrench to adjust bolt B until the divergence of the radar beam axis is 0°.

    2. Based on the measured divergence of the beam axis, turn and adjust bolt B for horizontal adjustment of the millimeter wave radar sensor using a hexagon wrench.
      Fig 7: Turning Adjust Bolt
      GTY140782Courtesy of © TOYOTA, LICENSE AGREEMENT TMS1002
      RESULT

      Adjustment Direction Adjustment Procedure Adjustment Angle
      Horizontal adjustment
      • Right direction: Turn bolt B to positive (+) side.
      • Left direction: Turn bolt B to negative (-) side.
      For every 18.6 rotations of adjustment bolt, sensor moves about 1°

      HINT: 

      • If "LEFT SIDE: 1.0°" is displayed, the divergence is 1.0° in the left direction. Turn bolt B approximately 18.6 turns to the negative (-) side.
      • If the value does not change to 0°, it is possible that the sensor is aiming at something different. Reconfirm that there are no reflective materials in the surrounding area.
    3. Select "Next". The driving learning value is automatically reset.

      HINT: 

      A buzzer will sound for 10 seconds.

    4. Disconnect the Techstream from the DLC3.
  8. Recheck and readjust the vertical direction of the radar sensor.
    Fig 8: Identifying Radar Sensor Level
    GTY152561Courtesy of © TOYOTA, LICENSE AGREEMENT TMS1002
    1. Set a level on the radar sensor's level rack.
    2. Check that the level's air bubble is within the red frame.
      Fig 9: Checking Level's Air Bubble
      GTY130995Courtesy of © TOYOTA, LICENSE AGREEMENT TMS1002

      OK

      Level's air bubble is within the red frame.

      If the bubble is not within the red frame, use a hexagon wrench to adjust bolt A until the level's air bubble is within the red frame.

      HINT: 

      • The adjustable range within the red frame is +/-0.2°.
      • The target angle is +0.2° (upward angle of 0.2°).
        RESULT

        Adjustment Direction Adjustment Procedure Adjustment Angle
        Vertical adjustment
        • Upward direction: Turn bolt A to negative (-) side
        • Downward direction: Turn bolt A to positive (+) side
        For every 8.4 rotations of adjustment bolt, sensor moves about 1°