LEMON Manuals: Even more car manuals for everyone
Home >> Lexus >> 2009 >> LS 600hL >> Repair and Diagnosis >> Engine Performance >> Engine Control Systems >> Engine Control System (Service Information) >> VVT Relay >> On-Vehicle Inspection >> On-Vehicle Inspection

On-Vehicle Inspection

  1. REMOVE VVT RELAY (VVT RH, VVT LH) 
    1. Remove the VVT relay from the engine room No. 2 relay block.
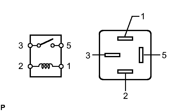
  2. INSPECT VVT RELAY 
    Fig 1: Identifying Relay
    GTY130312Courtesy of © TOYOTA, LICENSE AGREEMENT TMS1002
    1. Measure the resistance according to the value(s) in the table below.

      Standard resistance

      Tester Connection Condition Specified Condition
      3 - 5 When no battery voltage is applied to terminals 1 and 2 10 kΩ or higher
      3 - 5 When battery voltage is applied to terminals 1 and 2 Below 1 Ω

      If the result is not as specified, replace the relay.

  3. INSTALL VVT RELAY