LEMON Manuals: Even more car manuals for everyone
Home >> Lexus >> 2009 >> LS 460 RWD >> Repair and Diagnosis >> Engine Performance >> System >> Engine Control System - System Testing; Component Inspection, Removal & Installation >> Knock Sensor >> Inspection

Knock Sensor: Inspection

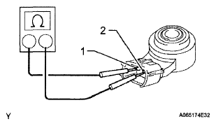
  1. INSPECT KNOCK SENSOR 
    1. Measure the resistance according to the value (s) in the table below.

      Standard resistance 

      STANDARD RESISTANCE SPECIFICATION

      Tester Connection Condition Specified Condition
      1 - 2 20°C (68°F) 120 to 280 kΩ

      If the result is not as specified, replace the knock sensor.

      Fig 1: Inspecting Knock Sensor
      G06190212Courtesy of © TOYOTA, LICENSE AGREEMENT TMS1002