LEMON Manuals: Even more car manuals for everyone
Home >> Lexus >> 2009 >> LS 460 AWD >> Repair and Diagnosis >> Engine Performance >> System >> Engine Control System - System Testing; Component Inspection, Removal & Installation >> Ignition Relay No. 2 >> On-Vehicle Inspection

On-Vehicle Inspection

  1. REMOVE COWL TOP VENTILATOR LOUVER RH  (See REMOVAL )
  2. DISCONNECT CABLE FROM NEGATIVE BATTERY TERMINAL 
    CAUTION: Wait at least 90 seconds after disconnecting the cable from the negative (-) battery terminal to prevent airbag and seat belt pretensioner activation.
    NOTE: After the engine switch is turned off, the HDD navigation system requires approximately 6 minutes to record various types of memory and settings. As a result, after turning the engine switch off, wait 6 minutes or more before disconnecting the cable from the negative (-) battery terminal.
  3. REMOVE IGNITION RELAY NO. 2 (IG2) 
    1. Remove the ignition relay No. 2 from the engine room No. 2 relay block.
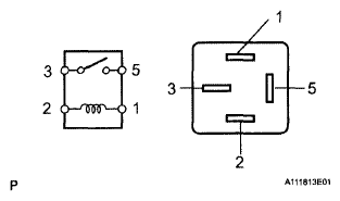
  4. INSPECT IGNITION RELAY NO. 2 
    1. Measure the resistance according to the value (s) in the table below.

      Standard resistance 

      STANDARD RESISTANCE SPECIFICATION

      Tester Connection Condition Specified Condition
      3-5 when no battery voltage is applied to terminals 1 and 2 10 kΩ or higher
      3-5 when battery voltage is applied to terminals 1 and 2 Below 1 Ω

      If the result is not as specified, replace the relay.

      Fig 1: Inspecting Ignition Relay No. 2
      G06190260Courtesy of © TOYOTA, LICENSE AGREEMENT TMS1002
  5. INSTALL IGNITION RELAY NO. 2 
  6. CONNECT CABLE TO NEGATIVE BATTERY TERMINAL 
  7. INSTALL COWL TOP VENTILATOR LOUVER RH  (See INSTALLATION )
  8. PERFORM INITIALIZATION 
    1. Perform initialization (see INITIALIZATION ).
      NOTE: Certain systems need to be initialized after disconnecting and reconnecting the cable from the negative (-) battery terminal.