LEMON Manuals: Even more car manuals for everyone
Home >> Lexus >> 2009 >> LS 460 AWD >> Repair and Diagnosis (Single Page) >> Electrical >> Starter >> Starting >> Smart Access System With Push-Button Start >> Power Source Mode does not Change >> Inspection Procedure

Inspection Procedure

HINT:

If the vehicle is in key cancel mode, change to normal mode (see CUSTOMIZE PARAMETERS ).

  1. CHECK WHETHER DTC OUTPUT RECURS 
    1. Clear the DTCs (see DTC CHECK/CLEAR  ).

      HINT:

      After all DTCs are cleared, check if the trouble occurs again 5 seconds after the engine switch is turned on (IG).

    2. Check for DTCs again.

      OK: No DTC is output. 

      NG:  GO TO DTC CHART 

      OK: Go to next step. 

  2. CHECK ENGINE SWITCH (SWITCH CONDITION) 
    1. Ensure the key is inside the cabin.
    2. Check that the engine switch indicator illuminates in green when the shift lever is in P or N and the brake pedal is depressed.

      OK: Engine switch indicator illuminates in green. 

      NG: GO TO ROOM OSCILLATOR DOES NOT RECOGNIZE KEY  (See ROOM OSCILLATOR DOES NOT RECOGNIZE KEY )

      OK: Go to next step. 

  3. READ VALUE USING TECHSTREAM (RELAY MONITOR) 
    1. Use the Data List to check if the relay monitor is functioning properly.

      Main Body 

      ITEM RANGE REFERENCE

      Tester Display Measurement Item/Range Normal Condition Diagnostic Note
      IG1 Relay Monitor (Outside) D-IG1 relay outer relay monitor/ON or OFF ON: Engine switch on (IG)
      OFF: Engine switch off
      -
      IG1 Relay Monitor (Inside) D-IG1 relay inner relay monitor/ON or OFF ON: Engine switch on (IG)
      OFF: Engine switch off
      -
      IG2 Relay Monitor (Outside) IG2 outer relay monitor/ON or OFF ON: Engine switch on (IG)
      OFF: Engine switch off
      -
      IG2 Relay Monitor (Inside) IG2 inner relay monitor/ON or OFF ON: Engine switch on (IG)
      OFF: Engine switch off
      -
      ACC Relay Monitor D-ACC relay monitor/ON or OFF ON: Engine switch on (IG)
      OFF: Engine switch off
      -

      OK: ON is displayed on the Techstream screen. 

      NG:  Go to step  7

      OK: Go to next step. 

  4. CHECK HARNESS AND CONNECTOR (MAIN BODY ECU) 
    Fig 1: Identifying Main Body ECU Connector Terminal
    G04943863Courtesy of © TOYOTA, LICENSE AGREEMENT TMS1002
    1. Disconnect the L13, DF and DA main body ECU connectors.
    2. Measure the resistance and voltage according to the value(s) in the table below.

      Standard resistance 

      RESISTANCE REFERENCE

      Tester Connection Condition Specified Condition
      L13-3 (IG1D) - DA-32 Always Below 1 Ω
      L13-3 (IG1D) or DA-32 - Body ground Always 10 kΩ or higher
      L13-22 (ACCD) - DA-19 Always Below 1 Ω
      L13-22 (ACCD) or DA-19 - Body ground Always 10 kΩ or higher
      DA-40 (GND1) - Body ground Always Below 1 Ω

      Standard voltage 

      VOLTAGE SPECIFICATION

      Tester Connection Condition Specified Condition
      DF-1 - Body ground Always 11 to 14 V

      NG: REPAIR OR REPLACE HARNESS OR CONNECTOR 

      OK: Go to next step. 

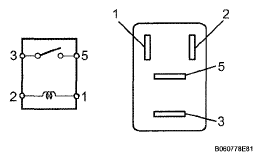
  5. INSPECT IGNITION RELAY NO. 2 (IG2) 
    1. Remove the ignition relay No. 2 from the engine room No. 2 junction block.
    2. Measure the resistance according to the value(s) in the table below.

      Standard resistance 

      RESISTANCE REFERENCE

      Tester Connection Condition Specified Condition
      3 - 5 When battery voltage is not applied to terminals 1 and 2 10 kΩ or higher
      3 - 5 When battery voltage is applied to terminals 1 and 2 Below 1 Ω
      Fig 2: Inspecting Ignition Relay No. 2
      G04950139Courtesy of © TOYOTA, LICENSE AGREEMENT TMS1002

      NG: REPLACE IGNITION RELAY NO. 2 (IG2) 

      OK: Go to next step. 

  6. CHECK HARNESS AND CONNECTOR (NO. 2 RELAY BLOCK - MAIN BODY ECU AND STEERING LOCK ECU) 
    Fig 3: Identifying Main Body ECU Connector Terminal And Steering Lock ECU Connector Terminal
    G04943865Courtesy of © TOYOTA, LICENSE AGREEMENT TMS1002
    1. Remove the ignition relay No. 2 from the engine room No. 2 junction block.
    2. Disconnect the L12 main body ECU connector.
    3. Disconnect the L33 steering lock ECU connector.
    4. Measure the resistance according to the value(s) in the table below.

      Standard resistance 

      RESISTANCE REFERENCE

      Tester Connection Condition Specified Condition
      L12-11 (IG2D) - Relay block Ignition relay No. 2 terminal 1 Always Below 1 Ω
      L12-11 (IG2D) or Relay block ignition relay No. 2 terminal 1 - Body ground Always 10 kΩ or higher
      Relay block ignition relay No. 2 terminal 2 - Body ground Always Below 1 Ω
      L33-6 (IG2) - Relay block Ignition relay No. 2 terminal 3 Always Below 1 Ω
      L33-6 (IG2) or Relay block ignition relay No. 2 terminal 3 - Body ground Always 10 kΩ or higher

      NG: REPAIR OR REPLACE HARNESS OR CONNECTOR 

      OK: REPLACE MAIN BODY ECU 

  7. INSPECT ENGINE SWITCH 
    1. Remove the engine switch (see REMOVAL  ).
    2. Measure the resistance according to the value(s) in the table below.

      Standard resistance 

      RESISTANCE REFERENCE

      Tester Connection Switch Condition Specified Condition
      7 (SS1) - 5 (GND) Pushed Below 1 Ω
      2 (SS2) - 5 (GND) Pushed Below 1 Ω
      7 (SS1) - 5 (GND) Not pushed 10 kΩ or higher
      2 (SS2) - 5 (GND) Not pushed 10 kΩ or higher
      Fig 4: Identifying Engine Switch Connector Terminal
      G04943866Courtesy of © TOYOTA, LICENSE AGREEMENT TMS1002

      NG: REPLACE ENGINE SWITCH (See  REMOVAL   ) 

      OK: Go to next step. 

  8. CHECK HARNESS AND CONNECTOR (MAIN BODY ECU - ENGINE SWITCH) 
    Fig 5: Identifying Main Body ECU Connector Terminal And Engine Switch Connector Terminal
    G04943845Courtesy of © TOYOTA, LICENSE AGREEMENT TMS1002
    1. Disconnect the L13 main body ECU connector.
    2. Disconnect the L36 engine switch connector.
    3. Measure the resistance according to the value(s) in the table below.

      Standard resistance 

      RESISTANCE REFERENCE

      Tester Connection Condition Specified Condition
      L36-7 (SS1) - L13-17 (SSW1) Always Below 1 Ω
      L36-2 (SS2) - L13-16 (SSW2) Always Below 1 Ω
      L36-5 (GND) - Body ground Always Below 1 Ω
      L36-7 (SS1) or L13-17 (SSW1) - Body ground Always 10 kΩ or higher
      L36-2 (SS2) or L13-16 (SSW2) - Body ground Always 10 kΩ or higher

      NG: REPAIR OR REPLACE HARNESS OR CONNECTOR 

      OK: Go to next step. 

  9. INSPECT FUSE (AM2) 
    1. Remove the AM2 fuse from the passenger side junction block.
    2. Check the resistance of the fuse.

      Standard resistance 

      RESISTANCE REFERENCE

      Tester Connection Condition Specified Condition
      AM2 fuse Always Below 1 Ω

      NG: REPLACE FUSE (AM2) 

      OK: Go to next step. 

  10. CHECK HARNESS AND CONNECTOR (MAIN BODY ECU - BATTERY AND BODY GROUND) 
    Fig 6: Identifying Main Body ECU Connector Terminal
    G04943868Courtesy of © TOYOTA, LICENSE AGREEMENT TMS1002
    1. Disconnect the L13, L12 and DA main body ECU connectors.
    2. Measure the voltage and resistance according to the value(s) in the table below.

      Standard voltage 

      VOLTAGE SPECIFICATION

      Tester Connection Condition Specified Condition
      L13-6 (AM1) - Body ground Always 11 to 14 V
      L12-1 (AM2) - Body ground Always 11 to 14 V

      Standard resistance 

      RESISTANCE REFERENCE

      Tester Connection Condition Specified Condition
      DA-40 (GND1) - Body ground Always Below 1 Ω

      NG: REPAIR OR REPLACE HARNESS OR CONNECTOR 

      OK: REPLACE MAIN BODY ECU