LEMON Manuals: Even more car manuals for everyone
Home >> Lexus >> 2009 >> IS 350 >> Repair and Diagnosis (Single Page) >> Accessories & Equipment >> Communication Devices >> Multiplex Communication (Diagnostics - Introduction) >> Multiplex Communication System >> System Diagram >> System Diagram

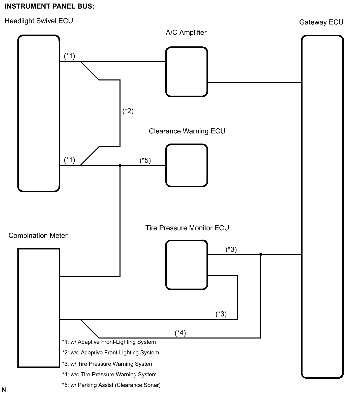
System Diagram

Item Details
Number of BEAN connected ECUs *1 20
Number of CAN connected ECUs *1 10
Number of AVC-LAN connected ECUs *1 6
Gateway function between BEAN and diagnosis Gateway ECU
Gateway function between BEAN and AVC-LAN Gateway ECU
Gateway function between BEAN and CAN Gateway ECU
ECU in charge of vehicle customization information Gateway ECU
Protocol CAN, BEAN and AVC-LAN

HINT: 

*1: Optional ECUs are also included.

Fig 1: Identifying Multiplex Communication System Diagram (1 Of 3)
GTY129027Courtesy of © TOYOTA, LICENSE AGREEMENT TMS1002
Fig 2: Identifying Multiplex Communication System Diagram (2 Of 3)
GTY131441Courtesy of © TOYOTA, LICENSE AGREEMENT TMS1002
Fig 3: Identifying Multiplex Communication System Diagram (3 Of 3)
GTY126678Courtesy of © TOYOTA, LICENSE AGREEMENT TMS1002