LEMON Manuals: Even more car manuals for everyone
Home >> Lexus >> 2008 >> SC 430 >> Repair and Diagnosis >> Engine Performance >> Engine Control System >> SFI System >> ECM Power Source Circuit >> Inspection Procedure

Inspection Procedure

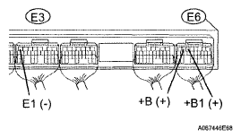
  1. CHECK ECM (+B, +B1 VOLTAGE) 
    1. Turn the ignition switch ON.
    2. Measure the voltage of the ECM connectors.

    Standard voltage 

    TESTER CONNECTION SPECIFIED CONDITION CHART

    Tester Connection Specified Condition
    E6-6 (+B) - E3-7 (E1) 9 to 14 V
    E6-5 (+B1) - E3-7 (E1) 9 to 14 V

    OK: PROCEED TO NEXT CIRCUIT INSPECTION SHOWN IN PROBLEM SYMPTOMS TABLE 

    Fig 1: Checking ECM (+B, +B1 Voltage)
    G05291534Courtesy of © TOYOTA, LICENSE AGREEMENT TMS1002

    NG: Go to next step 

  2. CHECK WIRE HARNESS (ECM - BODY GROUND) 
    1. Disconnect the E3 ECM connector.
    2. Measure the resistance of the wire harness side connector.

    Standard resistance 

    TESTER CONNECTION SPECIFIED CONDITION CHART

    Tester Connection Specified Condition
    E3-7 (E1) - Body ground Below 1 Ω

    NG: REPAIR OR REPLACE HARNESS AND CONNECTOR 

    Fig 2: Checking Wire Harness (ECM - Body Ground)
    G05291535Courtesy of © TOYOTA, LICENSE AGREEMENT TMS1002

    OK: Go to next step 

  3. CHECK ECM (IGSW VOLTAGE) 
    1. Turn the ignition switch ON.
    2. Measure the voltage of the ECM connectors.

    Standard voltage 

    TESTER CONNECTION SPECIFIED CONDITION CHART

    Tester Connection Specified Condition
    E6-17 (IGSW) - E3-7 (E1) 9 to 14 V

    OK:  Go to step  8

    Fig 3: Checking ECM (IGSW Voltage)
    G05291536Courtesy of © TOYOTA, LICENSE AGREEMENT TMS1002

    NG: Go to next step 

  4. INSPECT FUSE (IGN) 
    1. Remove the IGN fuse from the engine room No. 2 relay block.
    2. Measure the resistance of the IGN fuse.

    Standard resistance: 

    Below 1 Ω 

    NG: CHECK FOR SHORT IN ALL HARNESSES AND CONNECTORS CONNECTED TO FUSE AND REPLACE FUSE 

    Fig 4: Identifying IGN Fuse
    G05838906Courtesy of © TOYOTA, LICENSE AGREEMENT TMS1002

    OK: Go to next step 

  5. INSPECT RELAY (Marking: IG2) 
    1. Remove the IG2 relay from the engine room No. 1 relay block.
    2. Measure the resistance of the IG2 relay.

    Standard resistance 

    TESTER CONNECTION SPECIFIED CONDITION CHART

    Tester Connection Specified Condition
    3-5 10 kΩ or higher
    3-5 Below 1 Ω (when battery voltage is applied to terminals 1 and 2)

    NG: REPLACE IG2 RELAY 

    Fig 5: IG2 Relay Circuit Diagram
    G05291303Courtesy of © TOYOTA, LICENSE AGREEMENT TMS1002

    OK: Go to next step 

  6. INSPECT IGNITION SWITCH 
    1. Disconnect the I18 ignition switch connector.
    2. Measure the resistance of the ignition switch.

    Standard resistance 

    TESTER CONNECTION SPECIFIED CONDITION CHART

    Tester Connection Switch Condition Specified Condition
    6 (IG2) - 7 (AM2) LOCK 10 kΩ or higher
    6 (IG2) - 7 (AM2) ON Below 1 Ω

    NG: REPAIR OR REPLACE IGNITION SWITCH 

    Fig 6: Identifying Ignition Switch Connector
    G05291539Courtesy of © TOYOTA, LICENSE AGREEMENT TMS1002

    OK: Go to next step 

  7. CHECK ECM (MREL VOLTAGE) 
    1. Turn the ignition switch ON.
    2. Measure the voltage of the ECM connectors.

    Standard voltage 

    TESTER CONNECTION SPECIFIED CONDITION CHART

    Tester Connection Specified Condition
    E6-13 (MREL) - E3-7 (E1) 9 to 14 V

    NG: REPLACE ECM 

    Fig 7: Checking ECM (MREL Voltage)
    G05291540Courtesy of © TOYOTA, LICENSE AGREEMENT TMS1002

    OK: Go to next step 

  8. INSPECT FUSE (EFI) 
    1. Remove the EFI fuse from the engine room No. 1 relay block and junction block.
    2. Measure the resistance of the EFI fuse.

    Standard resistance: 

    Below 1 Ω 

    NG: REPLACE EFI RELAY 

    Fig 8: Identifying EFI Fuse
    G05291466Courtesy of © TOYOTA, LICENSE AGREEMENT TMS1002

    OK: Go to next step 

  9. INSPECT EFI RELAY (Marking: EFI) 
    1. Remove the EFI relay from the engine room No. 2 relay block.
    2. Measure the resistance of the EFI relay.

    Standard resistance 

    TESTER CONNECTION SPECIFIED CONDITION CHART

    Tester Connection Specified Condition
    3-5 10 kΩ or higher
    3-5 Below 1 Ω (when battery voltage is applied to terminals 1 and 2)
    Fig 9: EFI Relay Circuit Diagram
    G05291303Courtesy of © TOYOTA, LICENSE AGREEMENT TMS1002

    NG: REPAIR OR REPLACE HARNESS AND CONNECTOR 

    OK: Go to next step 

  10. CHECK WIRE HARNESS (EFI RELAY (Marking: EFI) - ECM AND BODY GROUND) 
    1. Check the wire harness between the EFI relay and ECM.
      1. Remove the EFI relay from the engine room No. 2 relay block.
      2. Disconnect the E6 ECM connector.
      3. Measure the resistance of the wire harness side connectors.

      Standard resistance 

      TESTER CONNECTION SPECIFIED CONDITION CHART

      Tester Connection Specified Condition
      Relay block EFI relay terminal 2 - E6-13 (MREL) Below 1 Ω
      Relay block EFI relay terminal 2 or E6-13 (MREL) - Body ground 10 kΩ or higher
    2. Check the wire harness between the EFI relay and body ground.
      1. Remove the EFI relay from the engine room No. 2 relay block.
      2. Measure the resistance of the wire harness side connectors.
      Fig 10: Checking Wire Harness (EFI Relay - ECM And Body Ground)
      G05291543Courtesy of © TOYOTA, LICENSE AGREEMENT TMS1002

      Standard resistance 

      TESTER CONNECTION SPECIFIED CONDITION CHART

      Tester Connection Specified Condition
      Relay block EFI relay terminal 1 - Body ground Below 1 Ω

    NG: REPAIR OR REPLACE HARNESS AND CONNECTOR 

    OK: REPAIR OR REPLACE HARNESS AND CONNECTOR (TERMINAL +B OF ECM - POSITIVE (+) BATTERY TERMINAL)