LEMON Manuals: Even more car manuals for everyone
Home >> Lexus >> 2008 >> SC 430 >> Repair and Diagnosis (Single Page) >> Transmission >> Automatic Trans >> Automatic Transaxle >> Automatic Transmission System >> Pattern Select Switch Snow Mode Circuit >> Inspection Procedure

Inspection Procedure

  1. DRIVING TEST 

    HINT:

    • The driving test should be done on a paved road (nonskid road).
    • Make sure not to use the TRAC system when testing a vehicle equipped with one.
    1. Start the engine.
    2. Turn the ECT SNOW switch OFF (Normal drive mode).
    3. Confirm vehicle response by driving from a parked position to fully depressing the accelerator pedal.
    4. Turn the ECT SNOW switch ON and perform the same check as above.

      When driving the vehicle with the ECT SNOW switch ON and OFF, check that there is a difference in acceleration.

      OK: 

      There is a difference in acceleration. 

    OK: PROCEED TO NEXT CIRCUIT INSPECTION SHOWN IN PROBLEM SYMPTOMS TABLE 

    NG: Go to Next Step 

  2. CHECK WIRE HARNESS (PATTERN SELECT SWITCH - BODY GROUND) 
    1. Disconnect the E11 switch connector.
    2. Measure the resistance of the wire harness side connector.

      Standard resistance 

      TESTER CONNECTION SPECIFIED CONDITION CHART

      Tester Connection Specified Condition
      E11-3 - Body ground Below 1 Ω

    NG: REPAIR OR REPLACE HARNESS AND CONNECTOR 

    Fig 1: Identifying Terminals Of E11 Switch Connector
    G05839103Courtesy of © TOYOTA, LICENSE AGREEMENT TMS1002

    OK: Go to Next Step 

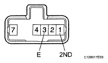
  3. INSPECT PATTERN SELECT SWITCH 
    1. Measure the resistance of the switch.

      Standard resistance 

      TESTER CONNECTION SPECIFIED CONDITION CHART

      Tester Connection Switch Condition Specified Condition
      3 (E) -1 (2ND) Continuously press pattern select switch (SNOW) Below 1 Ω
      3 (E) -1 (2ND) Release pattern select switch (SNOW) 10 kΩ or higher

    NG: REPLACE PATTERN SELECT SWITCH 

    Fig 2: Identifying Terminals Of Pattern Select Switch
    G05289629Courtesy of © TOYOTA, LICENSE AGREEMENT TMS1002

    OK: Go to Next Step 

  4. CHECK WIRE HARNESS (PASSENGER SIDE JUNCTION BLOCK ECU - PATTERN SELECT SWITCH) 
    Fig 3: Identifying Terminals Of P4 ECU Connector
    G05289630Courtesy of © TOYOTA, LICENSE AGREEMENT TMS1002
    1. Disconnect the P4 ECU connector.
    2. Measure the resistance of the passenger side junction block ECU.

      Standard resistance 

      TESTER CONNECTION SPECIFIED CONDITION CHART

      Tester Connection Switch Condition Specified Condition
      P4-17 (SNOW) - Body ground Continuously press pattern select switch (SNOW) Below 1 Ω
      P4-17 (SNOW) - Body ground Release pattern select switch (SNOW) 10 kΩ or higher

    NG: REPAIR OR REPLACE HARNESS AND CONNECTOR 

    OK: PROCEED TO NEXT CIRCUIT INSPECTION SHOWN IN PROBLEM SYMPTOMS TABLE