LEMON Manuals: Even more car manuals for everyone
Home >> Lexus >> 2008 >> LS 600hL >> Repair and Diagnosis >> General Information >> Identification >> Introduction >> Repair Instruction >> Initialization

Repair Instruction: Initialization

(2007/04-2007/08)

  1. INITIALIZE DRIVING SUPPORT ECU 
    1. Turn the power switch from OFF to ON (IG) and back to OFF

      Procedures necessary When battery terminal is disconnected / reconnected 

      INITIALIZATION PROCEDURES CHART

      Necessary Procedures Procedure Details Effects / Inoperative Functions When Necessary Procedures are not Performed Notes
      Navigation system (for DVD) initialization After turning the power switch ON (IG), insert the map disc Navigation system (for DVD) If the map disc is inside when disconnecting the cable from the battery terminal, this procedure is not necessary
      Correction of steering angle neutral point Fully turn the steering wheel to the right and left Parking guidance function -
      Rear curtain position reset operation
      1. Turn the power switch ON (IG)
      2. Push the front or rear switch's rear door sunshade switch twice
      Rear curtain -
      Reset power trunk lid system Completely close the luggage compartment door by hand once Power trunk lid function It is not necessary to perform initialization if the negative (-) battery cable is disconnected while the luggage compartment door is closed
      NOTE: After the power switch is turned OFF, the HDD navigation system requires approximately 6 minutes to record various types of memory and settings. As a result, after turning the power switch OFF, wait 6 minutes or more before disconnecting the cable from the negative (-) battery terminal.

      Procedures necessary when ECU or other parts are replaced 

      INITIALIZATION PROCEDURES CHART

      Replacement Part Necessary Procedures Effects / Inoperative Functions When Necessary Procedures are not Performed Notes
      Hybrid vehicle control ECU
      1. Perform clutch oil pressure value learning initialization
      2. Initialize radar cruise control system
      • Large shift shock
      • Radar cruise control system
      • Perform initialization with power switch ON (READY), shift lever on P and vehicle stopped
      • During learning operation, "T/M LEARNING" appears on meter's multi-information display
      Hybrid vehicle transmission assembly Perform clutch oil pressure value learning initialization Large shift shock
      • Perform initialization with power switch ON (READY), shift lever on P and vehicle stopped
      • During learning operation, "T/M LEARNING" appears on meter's multi-information display
      • Suspension control ECU
      • Height control sensor
      Vehicle height offset calibration Vehicle height sensor data may be affected due to installation position, or vehicle height recognition may be erroneous May also occur when vehicle height is uneven due to deterioration over time
      Tire pressure warning ECU
      1. Register transmitter IDs
      2. Initialize tire pressure warning system
      • When DTC detection conditions of "transmitter ID not received" DTC is met, TPMS indicator blinks for 1 minute, and then illuminates
      • Tire pressure monitoring function
      -
      Tire pressure warning valve and transmitter
      1. Register transmitter IDs
      2. Initialize tire pressure warning system
      • When DTC detection conditions of "transmitter ID not received" DTC is met, TPMS indicator blinks for 1 minute, and then illuminates
      • Tire pressure monitoring function of replaced wheel
      Even if only one wheel is replaced, IDs for all 5 wheels must be registered
      Skid control ECU
      • Initialize linear solenoid valve and perform calibration
      • Perform yaw rate and acceleration sensor zero point calibration
      • Brake warning light / yellow (minor malfunction) illumination
      • Brake warning light / red (malfunction)
      • ABS warning light illumination
      • VSC warning display of multi-information display
      • Master warning light illumination
      -
      Brake actuator
      1. Bleed air
      2. Clear stored value of linear solenoid valve and calibration data
      3. Initialize linear solenoid valve and perform calibration
      Brake does not operate properly -
      • Brake pedal stroke sensor
      • Brake pedal
      1. Inspect and adjust brake pedal height
      2. Adjust brake pedal stroke sensor
      3. Clear stored value of linear solenoid valve and calibration data
      4. Initialize linear solenoid valve and perform calibration
      • Brake warning light / yellow (minor malfunction) illumination
      • Brake warning light / red (malfunction)
      • ABS warning light illumination
      • Master warning light illumination
      -
      Yaw rate and acceleration sensor
      1. Clear zero point calibration data
      2. Perform yaw rate and acceleration sensor zero point calibration
      • Brake warning light / yellow (minor malfunction) illumination
      • Brake warning light / red (malfunction)
      • ABS warning light illumination
      • VSC warning display of multi-information display
      • Master warning light illumination
      • VSC control is prohibited or operation is incorrect
      • VGRS system
      -
      Electric parking brake ECU
      • Reset memory
      • Acquire tension sensor zero point
      Electric parking brake does not operate normally -
      Electric parking brake actuator
      • Reset memory
      • Acquire tension sensor zero point
      • Parking brake bedding
      • Electric parking brake does not operate normally
      • Parking brake performance may not be normal
      -
      • Rear disc
      • Parking brake shoe
      Parking brake bedding Parking brake performance may not be normal -
      • Steering control ECU
      • Steering column
      • Steering intermediate shaft
      Actuator angle neutral point calibration and initialization Steering wheel off-center -
      Power steering gear assembly
      • Actuator angle neutral point calibration and initialization
      • Rotation angle sensor value initialization
      • Torque sensor zero point calibration
      • VGRS system calibration procedure
      • Steering wheel off-center
      • Difference in amount of steering assist between left and right
      -
      Power steering ECU
      • Rotation angle sensor value initialization
      • Torque sensor zero point calibration
      • Steering wheel off-center
      • Difference in amount of steering assist between left and right
      -
      Occupant classification ECU
      • Perform zero point calibration
      • Registration ECU data
      • Occupant classification system
      • Passenger airbag ON/OFF indicator
      • Airbag system (Front passenger side)
      • Seat belt warning system (Front passenger side)
      -
      • ID code box
      • Steering lock ECU
      • ECM
      • Key
      • Certification ECU
      Registration
      • Wireless door lock operation
      • Entry operation
      • Engine starting
      • Steering unlock
      -
      Front millimeter wave radar sensor Adjust front millimeter wave radar sensor DTC C1A11 or C1A14 is output -
      Steering angle sensor connector Correction of steering angle neutral point Parking guidance function -
      Television camera Television camera optical axis (Camera position setting) Vehicle width extension lines and expected course are deviated -
      Parking assist ECU
      • Correction of steering angle neutral point
      • Store left and right maximum steering angle
      • Television camera optical axis (Camera position setting)
      • Vehicle width extension lines and expected course are deviated
      • Parking assist function
      -
      Mayday ECU
      • Mayday ECU initialization
      • Mayday ECU registration / enrollment
      LEXUS link system -
      Mayday battery
      • Mayday battery registration
      • Mayday battery confirmation
      DTC 6-1 remains output -
      Power window regulator motor (All doors) Initialize power window control system
      • AUTO UP / DOWN
      • Jam protection
      • Key-off
      When the battery is replaced, it is not necessary to initialize the power window regulator motor
      Inner rear view mirror
      • Compass zone setting
      • Compass calibration
      Direction is not displayed correctly -
      • Front power seat switch (Seat ECU)
      • Front seat adjuster
      • Position control ECU
      • Rear seat adjuster
      Position sensor initialization
      • During manual operation, buzzer sounds
      • Memory function does not operate
      • Interference stop control does not operate normally
      • Linked control does not operate normally
      -
      • RR MPX-B1 fuse
      • Luggage closer motor assembly
      • Luggage door closer assembly
      Reset power trunk lid system Power trunk lid function -
      • Rear door ECU LH
      • Rear door ECU RH
      Rear curtain position reset operation Rear curtain -
      • Sliding roof drive gear (Sliding roof ECU)
      • Sliding roof housing
      • Sliding roof glass
      Initialize sliding roof system
      • Auto operation
      • Jam protection function
      • Sliding roof operation after power switch is turned OFF
      • Wireless door lock control function
      • Key-linked operation function (Driver's door only)
      • Entry lock switch-linked operation
      -
  2. RESET MEMORY 
    NOTE:
    • If either the hybrid vehicle transmission assembly or hybrid vehicle control ECU is replaced, initialize the learned value of RESET MEMORY.
    • Wait 1 minute after disconnecting the negative battery terminal before performing RESET MEMORY.
    • The RESET MEMORY can be performed only by using the Intelligent tester or Techstream.

    HINT:

    Disconnecting the negative battery terminal does not initialize (clear) the learned value.

    1. Connect the Intelligent tester or Techstream to the DLC3.
    2. Turn the power switch on (READY) and turn the Intelligent tester or Techstream on.
      NOTE: Check that the shift lever is in the P position and turn the power switch on (READY).
    3. Select the following menu items:
      1. Intelligent tester - Select: DIAGNOSIS / OBD/ MOBD / HV ECU / DATA LIST. Read the data list before performing RESET MEMORY.

        Check Item (Intelligent tester) 

        DATA LIST

        Item Specified Condition
        +B 9 to 16 V
        WOUT CTRL POWER 1000 W or more
        T/M OIL TEMP 10 to 100°C (50 to 212°F)
        NOTE:
        • Do not depress the accelerator pedal during RESET MEMORY
        • Do not move the shift lever from the P position.
        • If the specified conditions above are not satisfied, warm up the hybrid system with the power switch on (READY) until each item meets the specified condition.
      2. Techstream - Select: Powertrain / Hybrid Control / Data List Read the data list before performing Reset Memory

        Check Item (Techstream) 

        DATA LIST

        Item Specified Condition
        +B 9 to 16 V
        WOUT Control Power 1000 W or more
        T/M Oil Temperature 10 to 100°C(50 to 212°F)
        NOTE:
        • Do not depress the accelerator pedal during Reset Memory.
        • Do not move the shift lever from the P position.
        • If the specified conditions above are not satisfied, warm up the hybrid system with the power switch on (READY) until each item meets the specified condition.
    4. Select the following menu items.
      1. Intelligent tester - Select. DIAGNOSIS / OBD/ MOBD / HV ECU / TRANSMISSION / RESET MEMORY
        CAUTION: After performing RESET MEMORY, be sure to perform a road test described earlier.
        NOTE: During RESET MEMORY, do not turn off either the power switch or the intelligent tester.

        HINT

        • Approximately 1 minute is required to complete RESET MEMORY.
        • The ECU is learned by performing a road test.
      2. Techstream - Select Powertrain / Hybrid Control / Reset Memory.
        CAUTION: After performing Reset Memory, be sure to perform a road test described earlier.
        NOTE: During Reset Memory, do not turn off either the power switch or the Techstream.

        HINT:

        • Approximately 1 minute is required to complete Reset Memory.
        • The ECU is learned by performing a road test.
  3. VEHICLE HEIGHT OFFSET CALIBRATION 
    NOTE:
    • Make sure that the pressure of the tires is normal.
    • Make sure that the vehicle is empty.
    • Make sure that the parking brake is released and that the shift lever is on N.
    1. PERFORM VEHICLE HEIGHT INSPECTION 
      1. Adjust the pressure of the tires
      2. Stabilize the suspension by releasing the parking brake and bouncing the corners of the vehicle up and down.
      3. Turn the power switch OFF
      4. Connect the Intelligent tester or Techstream to the DLC3.
      5. Turn the power switch ON (READY) and the tester ON
      6. Enter the following menus:
        1. Intelligent tester - Select: DIAGNOSIS / OBD/MOBD / CHASSIS / AIR SUSPENSION / DATA LIST
        2. Techstream - Select: Chassis / Air suspension / Data List.
      7. Press the height control switch and adjust the vehicle height to "HEIGHT HIGH".
      8. Press the height control switch and return the vehicle height to NORMAL
      9. Using the DATA LIST, confirm that the vehicle height control operation is complete.
        1. Intelligent tester

          AIR SUSPENSION 

          DATA LIST

          Tester Display Measurement Item/Range Normal Condition Diagnosis Note
          HEIGHT CTRL Vehicle height control condition reading / ON or OFF ON Vehicle height control is operating
          OFF Vehicle height control is not operating
          -
        2. Techstream

          Air suspension 

          DATA LIST

          Tester Display Measurement Item/Range Normal Condition Diagnosis Note
          Height Control Vehicle height control condition reading / ON or OFF ON Vehicle height control is operating
          OFF Vehicle height control is not operating
          -
      10. Turn the power switch OFF.
      11. Move the shift lever to N and move the vehicle forward and rearward
      12. Turn the power switch ON (IG)
      13. Using the Intelligent tester or Techstream, read the DATA LIST
        1. Intelligent tester:

          Enter the following menus: DIAGNOSIS / OBD/ MOBD / CHASSIS / AIR SUSPENSION / DATA LIST Then read and write the values for "ADJUST" and "AFTER ADJUST" for each wheel.

          AIR SUSPENSION 

          DATA LIST

          Tester Display Measurement Item/Range Normal Condition Diagnosis Note
          FR ADJUST Display of vehicle height offset recorded value of front right wheel / mm -3276 8 mm (-129 in)
          max: 3276 7 mm (129 in)
          - -
          FLAD JUST Display of vehicle height offset recorded value of front left wheel / mm -3276 8 mm (-129 in)
          max: 3276 7 mm (129 in)
          - -
          RR ADJUST Display of vehicle height offset recorded value of rear right wheel / mm -3276 8 mm (-129 in)
          max: 3276 7 mm (129 in)
          - -
          RL ADJUST Display of vehicle height offset recorded value of rear left wheel / mm -3276 8 mm (-129 in)
          max: 3276 7 mm (129 in)
          - -
          FR AFTER ADJUST Display of after-calibration vehicle height value of front right wheel / mm -3276 8 mm (-129 in)
          max: 3276 7 mm (129 in)
          When vehicle height is NORMAL 0 +/-20 mm (0 +/-0 787 in)
          When vehicle height is changing Varies based on vehicle height
          After HEIGHT HIGH adjustment 20 +/-20 mm (0 787 +/-0 787 in)
          -
          FL AFTER ADJUST Display of after-calibration vehicle height value of front left wheel / mm -3276 8 mm (-129 in)
          max: 3276 7 mm (129 in)
          When vehicle height is NORMAL 0 +/-20 mm (0 +/-0 787 in)
          When vehicle height is changing Varies based on vehicle height
          After HEIGHT HIGH adjustment 20 +/-20 mm (0 787 +/-0 787 in)
          -
          RR AFTER ADJUST Display of after-calibration vehicle height value of rear right wheel / mm - 3276 8 mm (-129 in)
          max: 3276 7 mm (129 in)
          When vehicle height is NORMAL 0 +/-20 mm (0 +/-0 787 in)
          When vehicle height is changing Varies based on vehicle height
          After HEIGHT HIGH adjustment 20 +/-20 mm (0 787 +/-0 787 in)
          -
          RL AFTER ADJUST Display of after-calibration vehicle height value of rear left wheel / mm -3276 8 mm (-129 in)
          max: 3276 7 mm (129 in)
          When vehicle height is NORMAL 0 +/-20 mm (0 +/-0 787 in)
          When vehicle height is changing Varies based on vehicle height
          After HEIGHT HIGH adjustment 20 +/-20 mm (0 787 +/-0 787 in)
          -
        2. Techstream.

          Enter the following menus: Chassis / Air suspension / Data List. Then read and write the values for "After Height Adjust" and "Height Adjust" for each wheel.

          Air suspension 

          DATA LIST

          Tester Display Measurement Item/Range Normal Condition Diagnosis Note
          FR Height Adjust Display of vehicle height offset recorded value of front right wheel / mm -3276 8 mm (-129 in)
          max: 3276 7 mm (129 in)
          - -
          FL Height Adjust Display of vehicle height offset recorded value of front left wheel / mm -3276 8 mm (-129 in)
          max: 32767 mm (129 in)
          - -
          RR Height Adjust Display of vehicle height offset recorded value of rear right wheel / mm -3276 8 mm (-129 in)
          max: 3276 7 mm (129 in)
          - -
          RL Height Adjust Display of vehicle height offset recorded value of rear left wheel / mm -3276 8 mm (-129 in)
          max: 3276 7 mm (129 in)
          - -
          FR After Height Adjust Display of after-calibration vehicle height value of front right wheel / mm -3276 8 mm (-129 in)
          max: 3276 7 mm (129 in)
          When vehicle height is NORMAL 0 +/-20 mm (0 +/-0 787 in)
          When vehicle height is changing Varies based on vehicle height
          After HEIGHT HIGH adjustment 20 +/-20 mm (0 787 +/-0 787 in)
          -
          FL After Height Adjust Display of after-calibration vehicle height value of front left wheel / mm -3276 8 mm (-129 in)
          max: 3276 7 mm (129 in)
          When vehicle height is NORMAL 0 +/-20 mm (0 +/-0 787 in)
          When vehicle height is changing Varies based on vehicle height
          After HEIGHT HIGH adjustment 20 +/-20 mm (0 787 +/-0 787 in)
          -
          RR After Height Adjust Display of after-calibration vehicle height value of rear right wheel / mm -3276 8 mm (-129 in)
          max: 3276 7 mm (129 in)
          When vehicle height is NORMAL 0 +/-20 mm (0 +/-0 787 in)
          When vehicle height is changing Varies based on vehicle height
          After HEIGHT HIGH adjustment 20 +/-20 mm (0 787 +/-0 787 in)
          -
          RL After Height Adjust Display of after-calibration vehicle height value of rear left wheel / mm -3276 8 mm (-129 in)
          max: 3276 7 mm (129 in)
          When vehicle height is NORMAL 0 +/-20 mm (0 +/-0 787 in)
          When vehicle height is changing Varies based on vehicle height
          After HEIGHT HIGH adjustment 20 +/-20 mm (0 787 +/-0 787 in)
          -
      14. Turn the power switch OFF.
      15. Perform the vehicle height inspection.

        Standard vehicle height 

        VEHICLE HEIGHT SPECIFICATION

        Front (A - B) Rear (C - D)
        146 mm (5.75 in.) 83 mm (3.27 in.)

        Measuring points: 

        A: Ground clearance of front wheel center 

        B: Ground clearance of head center of bolt used to install front No. 1 suspension lower arm to front suspension member 

        C: Ground clearance of rear wheel center 

        D: Ground clearance of pit center of attachment rear suspension arm 

        Fig 1: Inserting Vehicle Height
        G05773700Courtesy of © TOYOTA, LICENSE AGREEMENT TMS1002
    2. PERFORM VEHICLE HEIGHT OFFSET CALIBRATION 
      NOTE: The possible vehicle height automatic adjustment value is 20 mm (0.787 in.). If the "ADJUST"*1 or "Height Adjust"*2 value + (Standard value - Measurement value - "AFTER ADJUST"*1 or "After Height Adjust"*2 value) is 20 mm (0.78 in.) or more, first perform the vehicle height adjustment (height control link adjustment).

      HINT:

      • *1: Intelligent tester
      • *2: Techstream
      1. Turn the power switch OFF.
      2. Connect the Intelligent tester or Techstream to the DLC3
      3. Turn the power switch ON (IG) and the tester ON.
      4. Enter the following menus.
        1. Intelligent tester - Select. DIAGNOSIS / OBD/MOBD / CHASSIS / AIR SUSPENSION / HEIGHT OFFSET
        2. Techstream - Select. Chassis / Air suspension / Utility / Height Offset.
      5. For each wheel, follow the instructions on the tester screen and input the input value to complete the vehicle height offset calibration.

        HINT:

        Input value = Measurement value

      6. Turn the power switch ON (READY).
      7. In the DATA LIST, enter "HEIGHT CTRL" or "Height Control".
      8. Press the height control switch and adjust the vehicle height to "HEIGHT HIGH"
      9. Press the height control switch and return the vehicle height to NORMAL
      10. Using the DATA LIST, confirm that the vehicle height control operation is complete
        1. Intelligent tester

          AIR SUSPENSION 

          DATA LIST

          Tester Display Measurement Item/Range Normal Condition Diagnosis Note
          HEIGHT CTRL Vehicle height control condition reading / ON or OFF ON Vehicle height control is operating
          OFF Vehicle height control is not operating
          -
        2. Techstream

          Air suspension 

          DATA LIST

          Tester Display Measurement Item/Range Normal Condition Diagnosis Note
          Height Control Vehicle height control condition reading / ON or OFF ON Vehicle height control is operating
          OFF Vehicle height control is not operating
          -
      11. Turn the power switch OFF.
      12. Perform the vehicle height inspection. Check that the result is within +/-14.3 mm (+/-0 563 in.) of the standard value.

      NEXT: END 

  4. DESCRIPTION OF CODE REGISTRATION 

    It is necessary to register the transmitter ID in the tire pressure warning ECU when replacing the tire pressure warning valve and transmitter and/or tire pressure warning ECU.

    Prepare all transmitter ID data before starting registration.

    1. Before registration
      1. In case of tire pressure warning ECU replacement:
        • Read the registered transmitter IDs that are stored in the old ECU using the Intelligent tester or Techstream and note them down.
        • If reading stored transmitter IDs is impossible due to malfunctions of components such as the tire pressure warning antenna and receiver, remove the tires from the wheels and check the IDs located on the tire pressure warning valves and transmitters.
      2. In case of tire pressure warning valve and transmitter replacement.
        • Take a note of the 7 digit number (transmitter ID) written on the tire pressure warning valve and transmitter.
          Fig 2: Identifying Tire Pressure Warning Valve And Transmitter
          G05781858Courtesy of © TOYOTA, LICENSE AGREEMENT TMS1002
          NOTE: The transmitter ID is written on the tire pressure warning valve and transmitter. It will be unable to be read after installing the tire pressure warning valve and transmitter on the tire and wheel. Therefore, take a note of the transmitter ID before installing the tire pressure warning valve and transmitter.
  5. REGISTER TRANSMITTER ID (USING INTELLIGENT TESTER) 
    1. Set the air pressure of all wheels to the specified values.
    2. Turn the power switch OFF.
    3. Connect the Intelligent tester to the DLC3.
    4. Turn the power switch ON (IG) and the tester ON.
    5. Enter the menu items in this order DIAGNOSIS / OBD/MOBD / CHASSIS / TIRE PRESSURE Then, select the "UTILITY" item, and press "ENTER" to move to next screen.
      Fig 3: Intelligent tester Display - Diagnosis Menu Tire Pressure
      G04944277Courtesy of © TOYOTA, LICENSE AGREEMENT TMS1002
    6. Select "REGIST TIRE SET" item. Then, press "ENTER".
    7. "UTILITY REGIST TIRE SET" screen is displayed. Then, press "YES".
    8. "UTILITY REGIST TIRE SET" screen is displayed Then, press "ENTER"
      Fig 4: Intelligent tester Display - Utility Tire Pressure
      G04947376Courtesy of © TOYOTA, LICENSE AGREEMENT TMS1002
    9. Input the IDs (ID1 to ID5) using the tester and transmit them to the tire pressure warning ECU Then, press "ENTER".

      HINT:

      If this step is not completed within 300 seconds, this mode will be canceled

    10. "THE REGISTRATION SUCCEEDED" screen is displayed. Then, press "ENTER".
      Fig 5: Intelligent tester Display - Utility Regist Tire Set
      G04944279Courtesy of © TOYOTA, LICENSE AGREEMENT TMS1002

      HINT:

      • The previously registered IDs will be deleted from the memory when the registration is completed.
      • When the system is in initialization mode after the tire pressure warning reset switch has been operated, the registration is disabled until the initialization process is canceled or completed
    11. Confirmation of transmitter ID registration.
      1. Enter the menu items in this order. DIAGNOSIS / OBD/MOBD / CHASSIS / TIRE PRESSURE / DATA LIST.
      2. Read the "TIRE PRESS" values
      3. Confirm that the data of tire pressure of all tires (including the spare tire) are displayed on the tester screen
        NOTE:
        • It may take up to about 2 or 3 minutes to update the tire pressure data. If the values are not displayed after a few minutes, perform troubleshooting according to the inspection procedure for DTCs C2121/21 to C2125/25.
        • If the IDs have not been registered, DTC C2171/71 is set in the tire pressure warning ECU after 3 minutes or more.
        • If normal pressure values are displayed, the IDs have been registered correctly.
        • If the tire pressure values are not displayed after a few minutes, the IDs may be incorrect or the system may have a malfunction.
        • The tire pressure information reception condition can also be confirmed through the multi-information display's tire pressure display screen.
  6. REGISTER TRANSMITTER ID (USING TECHSTREAM) 
    1. Set the air pressure of all wheels to the specified values.
    2. Turn the power switch OFF.
    3. Connect the Techstream to the DLC3.
    4. Turn the power switch ON (IG) and the tester ON.
    5. Enter the menu items in this order: Chassis / Tire Pressure Monitor / Utility / ID Registration.
    6. Perform the following procedures displayed on the tester.
    7. Confirmation of transmitter ID registration.
      1. Enter the menu items in this order: Chassis / Tire Pressure Monitor / Data List.
      2. Read the "ID Tire Inflation Pressure" values.
      3. Confirm that the data of tire pressure of all tires (including the spare tire) are displayed on the tester screen
        NOTE:
        • It may take up to about 2 or 3 minutes to update the tire pressure data. If the values are not displayed after a few minutes, perform troubleshooting according to the inspection procedure for DTCs C2121/21 to C2125/25.
        • If the IDs have not been registered, DTC C2171/71 is set in the tire pressure warning ECU after 3 minutes or more.
        • If normal pressure values are displayed, the IDs have been registered correctly.
        • If the tire pressure values are not displayed after a few minutes, the IDs may be incorrect or the system may have a malfunction.
        • The tire pressure information reception condition can also be confirmed through the multi-information display's tire pressure display screen.
  7. INITIALIZATION PROCEDURE 
    1. Turn the power switch ON (IG).
    2. Press and hold the tire pressure warning reset switch for 3 seconds or more so that the tire pressure warning light blinks 3 times.
      Fig 6: Identifying Tire Pressure Warning Light And Reset Switch
      G04944280Courtesy of © TOYOTA, LICENSE AGREEMENT TMS1002
    3. Turn the power switch OFF
    4. Connect the Intelligent tester or Techstream to the DLC3
    5. Turn the power switch ON (IG) and turn the tester ON
    6. Enter the following menus:
      1. Intelligent tester - Select: DIAGNOSIS / OBD/ MOBD / CHASSIS / TIRE PRESSURE / DATA LIST.
      2. Techstream - Select. Chassis / Tire Pressure Monitor / Data List.
    7. Check that the initialization has been completed
    8. Confirm that the tire pressure data of all tires are displayed on the tester screen
      NOTE:
      • The initialization is normally completed within 2 to 3 minutes.
      • If the initialization has not been completed successfully, DTC C2177/77 is set after a vehicle speed of 8 km/h (5 mph) or more continues for 20 minutes or more.
      • The initialization can be terminated by connecting terminals TC and CG of the DLC3.
      • Fig 7: Identifying TC And CG Terminals Of DLC3 Connector
        G05629753Courtesy of © TOYOTA, LICENSE AGREEMENT TMS1002
      1. Intelligent tester

        TIRE PRESSURE 

        TERMINALS REFERENCE CHART

        Tester Display Measurement Item/Range Normal Condition Diagnostic Note
        TIREPRESS1 ID1 tire inflation pressure/ mm Absolute pressure / 0 kPa (0 kgf/cm2 , 0 psi), Relative pressure / -100 kPa (-1 0 kgf/cm2 , -14 psi)
        max: Absolute pressure / 637 5 kPa (6 5 kgf/cm2 , 92 5 psi), Relative pressure / 537 5 kPa (5 4 kgf/cm2 , 78 psi)
        Actual tire inflation pressure If 0 kPa (0 kgf/cm2 , 0 psi) is displayed for absolute pressure or -100 kPa (-10 kgf/cm2 , -14 psi) is displayed for relative pressure, data has not been received *
        TIREPRESS2 ID2 tire inflation pressure / mm Absolute pressure / 0 kPa (0 kgf/cm2 , 0 psi), Relative pressure / -100 kPa (-1 0 kgf/cm2 , -14 psi)
        max: Absolute pressure / 637 5 kPa (6 5 kgf/cm2 , 92 5 psi), Relative pressure / 537 5 kPa (5 4 kgf/cm2 , 78 psi)
        Actual tire inflation pressure If 0 kPa (0 kgf/cm2 , 0 psi) is displayed for absolute pressure or -100 kPa (-1 0 kgf/cm2 , -14 psi) is displayed for relative pressure, data has not been received *
        TIREPRESS3 ID3 tire inflation pressure / mm Absolute pressure / 0 kPa (0 kgf/cm2 , 0 psi), Relative pressure / -100 kPa (-1 0 kgf/cm2 , -14 psi)
        max: Absolute pressure / 637 5 kPa (6 5 kgf/cm2 , 92 5 psi), Relative pressure / 537 5 kPa (5 4 kgf/cm2 , 78 psi)
        Actual tire inflation pressure If 0 kPa (0 kgf/cm2 , 0 psi) is displayed for absolute pressure or -100 kPa (-1 0 kgf/cm2 , -14 psi) is displayed for relative pressure, data has not been received *
        TIREPRESS4 ID4 tire inflation pressure / mm Absolute pressure / 0 kPa (0 kgf/cm2 , 0 psi), Relative pressure /-100 kPa (-1 0 kgf/cm2 , -14 psi)
        max: Absolute pressure / 637 5 kPa (6 5 kgf/cm2 , 92 5 psi), Relative pressure / 537 5 kPa (5 4 kgf/cm2 , 78 psi)
        Actual tire inflation pressure If 0 kPa (0 kgf/cm2 , 0 psi) is displayed for absolute pressure or -100 kPa (-1 0 kgf/cm2 , -14 psi) is displayed for relative pressure, data has not been received *
        TIREPRESS5 ID5 tire inflation pressure / mm Absolute pressure / 0 kPa (0 kgf/cm2 , 0 psi), Relative pressure / -100 kPa (-10. kgf/cm2 , -14 psi)
        max: Absolute pressure / 637 5 kPa (6 5 kgf/cm2 , 92 5 psi), Relative pressure / 537 5 kPa (5 4 kgf/cm2 , 78 psi)
        Actual tire inflation pressure If 0 kPa (0 kgf/cm2 , 0 psi) is displayed for absolute pressure or -100 kPa (-1 0 kgf/cm2 , -14 psi) is displayed for relative pressure, data has not been received *
      2. Techstream

        Tire Pressure Monitor 

        TIRE PRESSURE MONITOR REFERENCE

        Tester Display Measurement Item/Range Normal Condition Diagnostic Note
        ID1 Tire Inflation Pressure ID1 tire inflation pressure / mm Absolute pressure / 0 kPa (0 kgf/cm2 , 0 psi), Relative pressure / -100 kPa (-1 0 kgf/cm2 , -14 psi)
        max: Absolute pressure / 637 5 kPa (6 5 kgf/cm2 , 92 5 psi), Relative pressure / 537 5 kPa (5 4 kgf/cm2 , 78 psi)
        Actual tire inflation pressure If 0 kPa (0 kgf/cm2 , 0 psi) is displayed for absolute pressure or -100 kPa (-1 0 kgf/cm2 , -14 psi) is displayed for relative pressure, data has not been received *
        ID2 Tire Inflation Pressure ID2 tire inflation pressure / mm Absolute pressure / 0 kPa (0 kgf/cm2 , 0 psi), Relative pressure / -100 kPa (-1 0 kgf/cm2 , -14 psi)
        max: Absolute pressure / 637 5 kPa (6 5 kgf/cm2 , 92 5 psi), Relative pressure / 537 5 kPa (5 4 kgf/cm2 , 78 psi)
        Actual tire inflation pressure If 0 kPa (0 kgf/cm2 , 0 psi) is displayed for absolute pressure or -100 kPa (-1 0 kgf/cm2 , -14 psi) is displayed for relative pressure, data has not been received *
        ID3 Tire Inflation Pressure ID3 tire inflation pressure / mm Absolute pressure / 0 kPa (0 kgf/cm2 , 0 psi), Relative pressure / -100 kPa (-1 0 kgf/cm2 , -14 psi)
        max: Absolute pressure / 637 5 kPa (6 5 kgf/cm2 , 92 5 psi), Relative pressure / 537 5 kPa (5 4 kgf/cm2 , 78 psi)
        Actual tire inflation pressure If 0 kPa(0 kgf/cm2 , 0 psi) is displayed for absolute pressure or -100 kPa (-1 0 kgf/cm2 , -14 psi) is displayed for relative pressure, data has not been received *
        ID4 Tire Inflation Pressure ID4 tire inflation pressure / mm Absolute pressure / 0 kPa (0 kgf/cm2 , 0 psi), Relative pressure / -100 kPa (-1 0 kgf/cm2 , -14 psi)
        max: Absolute pressure / 637 5 kPa (6 5 kgf/cm2 , 92 5 psi), Relative pressure / 537 5 kPa (5 4 kgf/cm2 , 78 psi)
        Actual tire inflation pressure If 0 kPa (0 kgf/cm2 , 0 psi) is displayed for absolute pressure or -100 kPa (-1 0 kgf/cm2 , -14 psi) is displayed for relative pressure, data has not been received *
        ID5 Tire Inflation Pressure ID5 tire inflation pressure / mm Absolute pressure / 0 kPa (0 kgf/cm2 , 0 psi), Relative pressure / -100 kPa (-1 0 kgf/cm2 , -14 psi)
        max: Absolute pressure / 637 5 kPa (6 5 kgf/cm2 , 92 5 psi), Relative pressure / 537 5 kPa (5 4 kgf/cm2 , 78 psi)
        Actual tire inflation pressure If 0 kPa(0 kgf/cm2 , 0 psi) is displayed for absolute pressure or -100 kPa (-1 0 kgf/cm2 , -14 psi) is displayed for relative pressure, data has not been received *
        HINT.
        • The initialization is complete when the DATA LIST "TIREPRESS" or "ID Tire Inflation Pressure" display shows the correct pressures
        • *: It may take about 2 or 3 minutes until the values are displayed. If the values are not displayed after a few minutes, perform troubleshooting according to the inspection procedure for DTCs C2121/21 to C2125/25.
  8. INITIALIZATION PROCEDURE (MULTI-INFORMATION DISPLAY) 
    1. Turn the power switch ON (IG).
    2. Press and hold the tire pressure warning reset switch for 3 seconds or more so that the tire pressure warning light blinks 3 times.
      Fig 8: Identifying Tire Pressure Warning Light And Reset Switch
      G04944280Courtesy of © TOYOTA, LICENSE AGREEMENT TMS1002

      HINT:

      • The initialization can be confirmed through the multi-information display.
        Fig 9: Identifying Multi-Information Display Screen Flow
        G05781877Courtesy of © TOYOTA, LICENSE AGREEMENT TMS1002
      • The order in which the data is received is random
      • If the signals from all the wheels are received, the initialization is complete.
      • It may take about 2 or 3 minutes until the values are displayed If the values are not displayed after a few minutes, perform troubleshooting according to the inspection procedure for DTCs C2121/21 to C2125/25.
      NOTE:
      • If the initialization has not been completed successfully, DTC C2177/77 is set after a vehicle speed of 8 km/h (5 mph) or more continues for 20 minutes or more.
      • The initialization can be terminated by connecting terminals TC and CG of the DLC3.
      • Fig 10: Identifying TC And CG Terminals Of DLC3 Connector
        G05629753Courtesy of © TOYOTA, LICENSE AGREEMENT TMS1002
  9. CLEAR STORED VALUE OF INITIALIZATION OF LINEAR SOLENOID VALVE AND CALIBRATION (WHEN USING Intelligent tester OR TECHSTREAM) 
    1. Connect the Intelligent tester or Techstream to the DLC3.
    2. Move the shift lever to the P position
    3. Turn the power switch ON (IG) with the brake pedal released.
    4. Clear the stored value of initialization of linear solenoid valve and calibration following the screen.

      HINT.

      Refer to the Intelligent tester or Techstream operator's manual for further details

  10. PERFORM INITIALIZATION OF LINEAR SOLENOID VALVE AND CALIBRATION (WHEN USING Intelligent tester OR TECHSTREAM) 
    1. Connect the Intelligent tester or Techstream (with CAN VIM) to the DLC3.
    2. Move the shift lever to the P position.
    3. Turn the power switch ON (IG) with the brake pedal released
      NOTE:
      • If the linear solenoid valve offset learning is performed without turning the power switch ON (IG), the learning process may not be completed properly because of insufficient battery voltage.
      • When the linear solenoid valve offset learning is interrupted, or the learning process is performed with the shift lever not in the P position, DTC C1345/66 will be stored.
    4. Set the Intelligent tester or Techstream to Test Mode (select "ABS/VSC/TRAC", "Utility")

      HINT:

      Refer to the Intelligent tester or Techstream operator's manual for further details.

    5. Leave the vehicle stationary without depressing the brake pedal for 1 or 2 minutes.
    6. Check that the interval between blinks of the brake warning light / yellow (minor malfunction) changes from 1 second to 0.25 second

      HINT:

      • The time needed to complete initialization of linear solenoid valve and calibration varies depending on battery voltage.
      • The brake warning light / yellow (minor malfunction) blinks at 1 second intervals during the initialization of linear solenoid valve and calibration. After it is complete, the brake warning light / yellow (minor malfunction) changes to the Test Mode display, and blinks at 0.25 second intervals.
        Fig 11: Identifying Brake Warning Light Blinking Pattern
        G05773936Courtesy of © TOYOTA, LICENSE AGREEMENT TMS1002
    7. When the brake warning light / yellow (minor malfunction) changes to the Test Mode display, check that DTC C1345/66, which indicates trouble with stroke sensor zero point learning, is not output.
    8. Enter the normal mode from the Test Mode following the Intelligent tester or Techstream prompts.

      HINT:

      Refer to the Intelligent tester or Techstream operator's manual for further details.

  11. CLEAR STORED VALUE OF INITIALIZATION OF LINEAR SOLENOID VALVE AND CALIBRATION (WHEN USING SST CHECK WIRE) 
    1. Move the shift lever to the P position.
    2. Turn the power switch ON (IG) with the brake pedal released.
    3. Using SST, connect and disconnect terminals 12 (TS) and 4 (CG) of the DLC3 4 times or more within 8 seconds.

      SST 09843-18040 

      Fig 12: Identifying TS And CG Terminals Of DLC3 Connector
      G05770207Courtesy of © TOYOTA, LICENSE AGREEMENT TMS1002
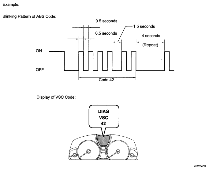
    4. Check that no codes other than ABS code 42, VSC code 45 and electronically controlled brake system code 48, 66, or 95 are stored in the diagnostic system
      Fig 13: Blinking Pattern Of ABS Code
      G05773938Courtesy of © TOYOTA, LICENSE AGREEMENT TMS1002

      HINT.

      The ABS warning light and multi-information display do not indicate the normal system code.

  12. PERFORM INITIALIZATION OF LINEAR SOLENOID VALVE AND CALIBRATION (WHEN USING SST CHECK WIRE) 
    1. Turn the power switch OFF.
    2. Using SST, connect terminals 12 (TS) and 4 (CG) of the DLC3

      SST 09843-18040 

    3. Move the shift lever to the P position.
    4. Turn the power switch ON (IG) with the brake pedal released
      NOTE:
      • If the linear solenoid valve offset learning is performed without turning the power switch ON (IG), the learning process may not be completed properly because of insufficient battery voltage.
      • When the linear solenoid valve offset learning is interrupted, or the learning process is performed with the shift lever not in the P position, DTC C1345/66 will be stored.
        Fig 14: Identifying TS And CG Terminals Of DLC3 Connector
        G05770209Courtesy of © TOYOTA, LICENSE AGREEMENT TMS1002
    5. Leave the vehicle stationary without depressing the brake pedal for 1 or 2 minutes.
    6. Check that the interval between blinks of the brake warning light / yellow (minor malfunction) changes from 1 second to 0.25 seconds.

      HINT.

      • The time needed to complete initialization of linear solenoid valve and calibration varies depending on the battery voltage.
      • The brake warning light / yellow (minor malfunction) blinks at 1 second intervals during the initialization of linear solenoid valve and calibration. After it is complete, the brake warning light / yellow (minor malfunction) changes to the Test Mode display, and blinks at 0.25 second intervals.
        Fig 15: Identifying Brake Warning Light Blinking Pattern
        G05773936Courtesy of © TOYOTA, LICENSE AGREEMENT TMS1002
    7. When the brake warning light / yellow (minor malfunction) changes to the Test Mode display, check that DTC C1345/66, which indicates trouble with stroke sensor zero point learning, is not output.
    8. Turn the power switch OFF and disconnect SST from the DLC3.
  13. CLEAR ZERO POINT CALIBRATION (WHEN USING Intelligent tester OR TECHSTREAM) 
    1. Connect the Intelligent tester or Techstream to the DLC3.
    2. Turn the power switch ON (IG).
    3. Operate the Intelligent tester or Techstream to erase the codes (select "Reset Memory").

      HINT:

      Refer to the Intelligent tester or Techstream operator's manual for further details.

  14. PERFORM ZERO POINT CALIBRATION OF YAW RATE AND ACCELERATION SENSOR (WHEN USING Intelligent tester OR TECHSTREAM) 
    NOTE:
    • While obtaining the zero point, do not vibrate the vehicle by tilting, moving, or shaking it. Keep it in a stationary condition and do not start the engine (hybrid).
    • Choose a level surface with an inclination of less than 1°.
    1. Procedures for Test Mode.
      1. Ensure that the steering wheel is centered, move the shift lever to the P position, and apply the parking brake.
        NOTE: DTC C1210/36 and C1336/98 will be recorded if the shift lever is not in the P position.
      2. Connect the Intelligent tester or Techstream to the DLC3.
      3. Turn the power switch ON (IG).
      4. Set the Intelligent tester or Techstream to Test Mode (select "Test Mode").

        HINT.

        Refer to the Intelligent tester or Techstream operator's manual for further details.

    2. Obtain the zero point of the yaw rate and acceleration sensor.
      1. Keep the vehicle stationary on a level surface for 2 seconds or longer
      2. Check that the ABS warning light and brake warning light / yellow (minor malfunction) blink and "VSC TEST" is indicated on the multi-information display (Test Mode).
        Fig 16: Blinking Pattern Of ABS Warning Light
        G05773941Courtesy of © TOYOTA, LICENSE AGREEMENT TMS1002

        HINT:

        • If the ABS warning light and brake warning light / yellow (minor malfunction) do not blink and "VSC TEST" is not indicated on the multi-information display, perform zero point calibration again
        • The zero point calibration is performed only once after the system enters the Test Mode.
        • Calibration cannot be performed again until the stored data is cleared.
    3. Turn the power switch OFF and disconnect the Intelligent tester or Techstream.
  15. CLEAR ZERO POINT CALIBRATION (WHEN USING SST CHECK WIRE) 
    1. Turn the power switch ON (IG).
    2. Using SST, connect and disconnect terminals 12 (TS) and 4 (CG) of the DLC3 4 times or more within 8 seconds.

      SST 09843-18040 

      Fig 17: Identifying TS And CG Terminals Of DLC3 Connector
      G05770212Courtesy of © TOYOTA, LICENSE AGREEMENT TMS1002
    3. Check that no codes other than ABS code 42, VSC code 45 and electronically controlled brake system code 48, 66, or 95 are stored in the diagnostic system.
      Fig 18: Blinking Pattern Of ABS Code
      G05773938Courtesy of © TOYOTA, LICENSE AGREEMENT TMS1002

      HINT:

      The ABS warning light and multi-information display do not indicate the normal system code.

  16. PERFORM ZERO POINT CALIBRATION OF YAW RATE AND ACCELERATION SENSOR (WHEN USING SST CHECK WIRE) 
    NOTE:
    • While obtaining the zero point, do not vibrate the vehicle by tilting, moving, or shaking it. Keep it in a stationary condition and do not start the engine (hybrid).
    • Choose a level surface with an inclination of less than 1°.
    1. Procedures for Test Mode.
      1. Turn the power switch OFF.
      2. Using SST, connect terminals 12 (TS) and 4 (CG) of the DLC3.

        SST 09843-18040 

      3. Check that the steering wheel is in the centered position and move the shift lever to the P position.
        NOTE: DTC C1210/36 and C1336/98 will be recorded if the shift lever is not in the P position.
        Fig 19: Identifying TS And CG Terminals Of DLC3 Connector
        G05770214Courtesy of © TOYOTA, LICENSE AGREEMENT TMS1002
    2. Obtain the zero point of the yaw rate and acceleration sensor.
      1. Turn the power switch ON (IG).
      2. Keep the vehicle in a stationary condition on a level surface for 2 seconds or more.
      3. Check that the ABS warning light and brake warning light / yellow (minor malfunction) blink and "VSC TEST" is indicated on the multi-information display (Test Mode).
        Fig 20: Blinking Pattern Of ABS Warning Light
        G05773941Courtesy of © TOYOTA, LICENSE AGREEMENT TMS1002

        HINT:

        • If the ABS warning light and brake warning light / yellow (minor malfunction) do not blink and "VSC TEST" is not indicated on the multi-information display, perform zero point calibration again.
        • The zero point calibration is performed only once after the system enters the Test Mode.
        • Calibration cannot be performed again until the stored data is cleared.
    3. Turn the power switch OFF and disconnect SST from the DLC3.
  17. DISCONNECT BRAKE ACCUMULATOR PUMP CONNECTORS 
    NOTE: If the brake accumulator pump operates while air remains inside the No. 2 brake actuator hose, air will enter the brake accumulator pump, resulting in difficulty in bleeding. Keep the 2 brake accumulator pump connectors disconnected before bleeding.
    1. Disconnect the 2 brake accumulator pump connectors.
  18. FILL RESERVOIR WITH BRAKE FLUID 
    NOTE:
    • As brake fluid may overflow when bleeding air, do not place the fluid can on the reservoir filler opening.
    • If brake fluid leaks onto any painted surface, clean it off completely.
      Fig 21: Locating Brake Accumulator Pump Connectors
      G04949820Courtesy of © TOYOTA, LICENSE AGREEMENT TMS1002
    1. Add brake fluid into the reservoir.

      Fluid: 

      SAE J1703 or FMVSS No. 116 DOT 3 

    2. Fig 22: Adding Brake Fluid Into Reservoir
      G04949821Courtesy of © TOYOTA, LICENSE AGREEMENT TMS1002
  19. DISABLE BRAKE CONTROL 

    HINT:

    Using the Intelligent tester or Techstream to disable brake control causes the master pressure cut solenoid to turn off and the line from the master cylinder to the front disc brake caliper to open.

    1. Check that the parking brake is set.
    2. Connect the Intelligent tester or Techstream to the DLC3 with the power switch OFF.
    3. Turn the power switch ON (IG).
      NOTE: Do not start the engine.
    4. Enter the following menus.
      1. Intelligent tester - select: DIAGNOSIS / ABS/ VSC / ELECTRONICALLY CONTROLLED BRAKE SYSTEM UTILITY/ ELECTRONICALLY CONTROLLED BRAKE SYSTEM INVALID
      2. Techstream - select: Chassis / ABS/VSC/TRC / Utility / Electronically Controlled Brake system Utility / Electronically Controlled Brake system Invalid.
  20. BLEED AIR FROM FRONT BRAKE SYSTEM 

    HINT:

    After replacing the brake master cylinder with simulator assembly, perform air bleeding on it (same as for common master cylinders) so that bleeding air from the front brake system is easier

    NOTE:
    • Bleed air from the wheel furthest from the master cylinder.
    • Repeat the bleeding procedures until all the air in the fluid is completely bled out.
    1. Connect a vinyl tube to the bleeder plug on the front disc brake caliper LH and RH.
    2. Depress the brake pedal several times, then loosen the bleeder plug with the pedal depressed.
      Fig 23: Loosening Bleeder Plug
      G05781963Courtesy of © TOYOTA, LICENSE AGREEMENT TMS1002
    3. When fluid stops coming out, temporarily tighten the bleeder plug, then release the brake pedal.
    4. Repeat the above procedures until all the air in the fluid is completely bled out.
    5. Tighten the bleeder plug.

      Torque: 11 N*m (110 kgf*cm, 8 ft.*lbf) 

      Fig 24: Tightening Bleeder Plug
      G05781964Courtesy of © TOYOTA, LICENSE AGREEMENT TMS1002
  21. CANCEL DISABLE BRAKE CONTROL 
    1. Cancel "DISABLE BRAKE CONTROL" on the Intelligent tester or Techstream.
  22. CONNECT BRAKE ACCUMULATOR PUMP CONNECTORS 
    1. Turn the power switch OFF.
    2. Connect the 2 brake accumulator pump connectors.
    3. Turn the power switch ON (IG).
    4. Fig 25: Locating Brake Accumulator Pump Connectors
      G04949820Courtesy of © TOYOTA, LICENSE AGREEMENT TMS1002
  23. BLEED AIR FROM PUMP SUCTION SYSTEM (RR) 
    NOTE:
    • If work is not performed from "PERFORM ACCUMULATOR ZERO DOWN", air cannot be bled from the pump suction system (RR). Perform the procedure from "PERFORM ACCUMULATOR ZERO DOWN", then perform this step.
    • The accumulator pressure is at zero down.

    HINT:

    Loosening the rear disc brake caliper's RH bleeder plug and using the Intelligent tester or Techstream causes the pump motor and solenoid to operate and pressurize the rear brake line

    1. Check that the parking brake is set.
    2. Connect the Intelligent tester or Techstream to the DLC3 with the power switch OFF.
    3. Turn the power switch ON (IG).
      NOTE: Do not start the engine.
    4. Connect a vinyl tube to the bleeder plug on the rear disc brake caliper RH.
    5. Loosen the bleeder plug.
    6. Enter the following menus:
      1. Intelligent tester-select: DIAGNOSIS / ABS/ VSC / ELECTRONICALLY CONTROLLED BRAKE SYSTEM UTILITY / ZERO DOWN RR.
      2. Techstream - select: Chassis / ABS/VSC/TRC / Utility / Electronically Controlled Brake system Utility / Zero Down Rear.
        NOTE: Do not depress the brake pedal.

        HINT:

        The solenoid operates for approximately 30 seconds.

    7. Tighten the bleeder plug.

      Torque: 11 N*m (110 kgf*cm, 8 ft.*lbf) 

  24. DISABLE BRAKE CONTROL 
    1. Enter the following menus:
      1. Intelligent tester - select: DIAGNOSIS / ABS/ VSC / ELECTRONICALLY CONTROLLED BRAKE SYSTEM UTILITY/ ELECTRONICALLY CONTROLLED BRAKE SYSTEM INVALID.
      2. Techstream - select: Chassis / ABS/VSC/TRC / Utility / Electronically Controlled Brake system Utility / Electronically Controlled Brake system Invalid.
  25. BLEED AIR FROM REAR BRAKE SYSTEM 
    1. Connect a vinyl tube to the bleeder plug on the rear disc brake caliper LH and RH.
    2. With the brake pedal depressed, loosen the bleeder plug
      NOTE: Keep the fluid inside the reservoir above the MIN line by replenishing.
      Fig 26: Loosening Bleeder Plug
      G04949817Courtesy of © TOYOTA, LICENSE AGREEMENT TMS1002

      HINT:

      • Depress and hold the brake pedal.
      • After the solenoid operates for approximately 30 seconds, release the brake pedal to stop the solenoid.
      • Repeat the above procedures until air is completely bled from the rear brake system.
      • The brake control warning light comes on and the buzzer sounds while bleeding, but they do not indicate a malfunction.
    3. Tighten the bleeder plug after bleeding

      Torque: 11 N*m (110 kgf*cm, 8 ft.*lbf) 

      HINT:

      The fluid amount adjustment is easier to perform if fuel bleeding is completed with the brake fluid reservoir's fluid level at approximately 5 mm (0.197 in) below the MAX level.

      Fig 27: Tightening Bleeder Plug
      G04949818Courtesy of © TOYOTA, LICENSE AGREEMENT TMS1002
  26. CANCEL DISABLE BRAKE CONTROL 
    1. Cancel "DISABLE BRAKE CONTROL" on the Intelligent tester or Techstream.
  27. PERFORM ACCUMULATOR ZERO DOWN 
    1. Connect the Intelligent tester or Techstream to the DLC3 with the power switch OFF.
    2. Perform the accumulator pressure zero down.

      HINT:

      Using the Techstream to perform accumulator zero down causes the pressurized fluid in the actuator's accumulator to be returned to the brake fluid reservoir.

      1. Check that the parking brake is set, and turn the power switch ON (IG).
      2. Enter the following menus of Intelligent tester - select: DIAGNOSIS / ABS/VSC / ELECTRONICALLY CONTROLLED BRAKE SYSTEM UTILITY / ZERO DOWN.
      3. Enter the following menus of Techstream - select: Chassis / ABS/VSC/TRC / Utility / Electronically Controlled Brake system Utility / Zero Down.
      4. When the buzzer sounds, turn the power switch OFF.
    3. Perform the accumulator fluid circulation.
      1. Perform the accumulator pressure zero down 5 times repeatedly.

        HINT:

        • Accumulator pressure is released and accumulated repeatedly, which circulates the fluid inside the accumulator every time accumulator zero down (accumulator depressurizing) is performed.
        • The pump motor rotates and the accumulator is pressurized every time the power switch is turned from OFF to ON (IG).
  28. CHECK AND ADJUST BRAKE FLUID LEVEL IN RESERVOIR 
    1. After performing accumulator zero down (accumulator depressurizing), adjust the fluid level in the master cylinder reservoir to the MAX level.
      NOTE: If using a dropper to adjust the fluid amount, make sure the dropper has not been used with mineral oils, water or deteriorated brake fluid. Sealed areas may deteriorate and lead to fluid leaks, or the fluid may deteriorate and lead to decreased efficiency.
      Fig 28: Identifying Fluid Level In Master Cylinder Reservoir
      G04949819Courtesy of © TOYOTA, LICENSE AGREEMENT TMS1002

      HINT:

      • After performing accumulator zero down (accumulator depressurizing), if the power switch is turned ON (IG), the fluid level in the accumulator increases, and the fluid level in the reservoir decreases.
      • If the fluid level is adjusted without performing accumulator zero down (accumulator depressurizing), fluid is sent from the accumulator to the reservoir. The fluid level may exceed the MAX level, but it is normal.
    2. After turning the power switch ON (IG), check that the fluid level in the brake fluid reservoir is slightly lower than the MAX level.
  29. CLEAR DTC 
    1. Clear the DTCs.
  30. PERFORM LINEAR VALVE OFFSET LEARNING 
    1. When the brake actuator is replaced, perform linear valve offset learning.
  31. CHECK DTC 
    1. Check for DTC. If any DTC is output, perform the troubleshooting for that DTC.
  32. READ VALUE OF ACCUMULATOR PRESSURE SENSOR OUTPUT VOLTAGE 
  33. CHECK AND ADJUST BRAKE PEDAL HEIGHT 
    NOTE: Fold back the carpet below the brake pedal for this inspection adjustment.
    1. Check the brake pedal height.

      Standard pedal height from tibia pad: 

      144.2 to 154.2 mm (5.68 to 6.07 in.) 

    2. Adjust the pedal height.
      1. Disconnect the connector from the stop light switch.
      2. Loosen the stop light switch lock nut and turn the switch so that the pedal has free play.
      3. Loosen the push rod clevis lock nut.
      4. Adjust the pedal height by turning the push rod.

        Standard pedal height from tibia pad: 

        144.2 to 154.2 mm (5.68 to 6.07 in.) 

      5. Tighten the push rod clevis lock nut.

        Torque: 26 N*m (265 kgf*cm, 19 ft.*lbf) 

        Fig 29: Adjusting Pedal Height
        G04949839Courtesy of © TOYOTA, LICENSE AGREEMENT TMS1002
      6. Turn the stop light switch so that its protrusion is between 1.5 and 2.6 mm (0.0591 and 0.102 in.). Then tighten the lock nut.

        Torque: 17 N*m (170 kgf*cm, 12 ft.*lbf) 

      7. Connect the stop light switch connector.
      8. Without depressing the brake pedal, check that the stop light does not illuminate. If it illuminates, adjust the brake pedal height again.
      9. Push the brake pedal in 5 to 10 mm (0.197 to 0.394 in.), and check that the stop light illuminates.

        If the stop light does not illuminate, adjust the brake pedal height again.

        Fig 30: Checking Stop Light Switch Clearance
        G05781989Courtesy of © TOYOTA, LICENSE AGREEMENT TMS1002
  34. ADJUST BRAKE PEDAL STROKE SENSOR 
    1. Connect the Intelligent tester or Techstream to the DLC3 with the power switch OFF
    2. Loosen the 2 bolts.
    3. Turn the power switch ON (IG). While reading the stroke sensor 1 value shown on the Intelligent tester or Techstream, turn the stroke sensor slowly to the right and left to adjust it to the standard voltage.

      Standard voltage: 

      0.8 to 1.2 V 

    4. Fig 31: Turning Power Switch
      G04949841Courtesy of © TOYOTA, LICENSE AGREEMENT TMS1002
    5. Tighten the 2 bolts

      Torque: 8.5 N*m (87 kgf*cm, 75 in.*lbf) 

    6. Perform the linear valve offset learning
      NOTE: Do not depress the brake pedal while performing the linear valve offset learning, as this may cause a DTC to be stored.
  35. RESET MEMORY (with Intelligent tester or Techstream) 
    1. Turn the power switch OFF.
    2. Connect the Intelligent tester or Techstream to the DLC3.
    3. Turn the power switch ON (IG) and the tester ON.
    4. Enter the following menus:
      1. Intelligent tester - Select: DIAGNOSIS / OBD/ MOBD / CHASSIS / ELECTRIC PKB / UTILITY / RESET MEMORY.
      2. Techstream - Select: Chassis / Electric Parking Brake / Utility / Reset Memory.
    5. Follow the tester display and perform reset memory.

      HINT.

      When the reset memory is completed, the parking brake indicator light (RED) will blink at 0.5 seconds intervals

    6. Fig 32: Identifying Parking Brake Indicator Light
      G05782109Courtesy of © TOYOTA, LICENSE AGREEMENT TMS1002
  36. RESET MEMORY (without Intelligent tester or Techstream) 
    1. Turn the power switch OFF.
    2. Using SST, connect terminals 13 (TC) and 4 (CG) of the DLC3

      SST 09843-18040 

      NOTE: Do not connect the wrong terminals, as this will cause parts to be damaged.
      Fig 33: Identifying TC And CG Terminals Of DLC3 Connector
      G05629753Courtesy of © TOYOTA, LICENSE AGREEMENT TMS1002
    3. Turn the power switch ON (IG).

      HINT:

      The parking brake indicator light (RED) will blink at 0.25 seconds intervals.

    4. Perform both of the following procedures within 8 seconds.
      1. Perform the following with the electric parking brake switch twice. lock condition → off → release condition → off.
      2. Perform the following with the brake pedal: depress → release → depress → release.
        Fig 34: Blinking Pattern Of Brake Pedal
        G05782111Courtesy of © TOYOTA, LICENSE AGREEMENT TMS1002
    5. With the power switch ON (IG), disconnect the connection of terminals 13 (TC) and 4 (CG) of the DLC3.
    6. Check that the parking brake indicator light (RED) blinks at 0 5 seconds intervals.
      NOTE: If terminals 13 (TC) and 4 (CG) of the DLC3 are not disconnected, the blinking pattern (0.5 seconds intervals) cannot be checked.

      HINT.

      If the parking brake indicator light (RED) blinking pattern (0.5 seconds intervals) is confirmed, the clear procedure is completed. If not confirmed, repeat the procedures above.

  37. ACQUIRE TENSION SENSOR ZERO POINT 
    1. After performing reset memory, perform the release control. Check that the parking brake indicator light (RED) turns off.
  38. PARKING BRAKE BEDDING 
    CAUTION: Performing parking brake bedding forms the friction surfaces of the parking brake shoe and rear disc, which creates the basic braking force of the parking brake. If bedding is not performed, the parking brake performance may not be normal.
    NOTE: If one of the following is performed, perform parking brake bedding.
    • Rear disc is replaced or removed and installed
    • Parking brake shoe is replaced or removed and installed
    • Electric parking brake actuator is replaced or removed and installed
    1. Turn the power switch OFF.
    2. Using SST, connect terminals 12 (TS) and 4 (CG) of the DLC3.

      SST 09843-18040 

      NOTE: Do not connect the wrong terminals, as this will cause parts to be damaged.
      Fig 35: Identifying TS And CG Terminals Of DLC3 Connector
      G05770230Courtesy of © TOYOTA, LICENSE AGREEMENT TMS1002
    3. Turn the power switch ON (IG).
    4. Perform the following procedures with the electric parking brake switch within 8 seconds:
      1. Turning the lock switch ON and OFF 3 times.
      2. Turn the release switch ON and OFF 3 times.
        Fig 36: Blinking Pattern Of Release Switch
        G05782113Courtesy of © TOYOTA, LICENSE AGREEMENT TMS1002
    5. Check that the system is in test mode.

      HINT:

      • When the system enters test mode, the parking brake indicator light (RED) starts blinking.
      • The multi-information display shows "EPB TEST" (*). If it is not displayed, repeat the procedures above.
      • *. EPB stands for electric parking brake.
      Fig 37: Identifying Parking Brake Indicator Light
      G05782114Courtesy of © TOYOTA, LICENSE AGREEMENT TMS1002
    6. Perform parking brake bedding.
      1. Drive the vehicle at 30 km/h (19 mph)
      2. Push the parking brake switch to the lock side for 5 seconds.
        NOTE: The braking power is generated from the parking brake while driving the vehicle. This will cause the vehicle speed to decrease. Depress the acceleration pedal to maintain the speed at 30 km/h (19 mph).

        HINT.

        • The parking brake indicator light (RED) stops blinking at 0.125 seconds intervals, and illuminates.
        • The buzzer turns ON (beeping sound).
        • The tension is automatically adjusted.
      3. After 5 seconds, check that the buzzer and the parking brake indicator light (RED) turn off.

        HINT.

        The brake force decreases

      4. Release the parking brake lock switch
  39. STEERING ANGLE SENSOR INITIALIZATION (to obtain a tire angle (during straight-ahead driving) signal) 
    1. Turn the power switch ON (IG), and check that the master warning light illuminates for a few seconds
      NOTE: If the warning light remains on or blinks, repair the applicable system.
      Fig 38: Identifying Master Warning Light
      G05782326Courtesy of © TOYOTA, LICENSE AGREEMENT TMS1002
    2. Drive the vehicle on a straight road at 35 km/h (22 mph) or more for 5 seconds or longer

      HINT:

      • At this point, the steering wheel will still remain off-center by 5 to 10°.
      • In this step, the neutral position of the steering wheel is restored from the steering control ECU memory
    3. Confirm that steering angle sensor initialization is completed (using the tester)
      1. Intelligent tester - Enter the VGRS menu using the tester. Select "STRAIGH ANG FLG" from "DATA LIST" Check if the steering angle sensor has obtained a tire angle (during straight-ahead driving) signal.

        Standard: 

        "VALID" is displayed on the tester screen. 

      2. Techstream - Enter the VGRS menu using the tester. Select "Straight Angle Valid Flag" from "Data List". Check if the steering angle sensor has obtained a tire angle (during straight-ahead driving) signal.

        Standard: 

        "Valid" is displayed on the tester screen. 

    4. Confirm that steering angle sensor initialization is completed (not using the tester).
      1. Stop the vehicle (power switch turned to ON (READY)).
      2. Slowly turn the steering wheel from lock to lock.
      3. If it turns approximately 2.7 turns, steering angle sensor initialization is completed. If it turns approximately 3.2 turns, steering angle sensor initialization is not completed.
        NOTE: If the steering wheel turns approximately 3.2 turns, drive the vehicle on a straight road at 35 km/h (22 mph) or more for 5 seconds or longer. Then confirm the initialization again.
  40. VGRS SYSTEM CALIBRATION PROCEDURE (USING SST CHECK WIRE) 
    1. FACE TIRES STRAIGHT AHEAD 
      NOTE: Drive the vehicle to confirm that the steering wheel is centered.
    2. CHECK DTC 
      1. Check for DTCs.

        Result 

        RESULT REFERENCE

        Result Proceed to
        DTC C1591/51 is not output A
        DTC C1591/51 is output B

      B:  Go to step  4

      A: Go to Next Step 

    3. PERFORM ACTUATOR ANGLE INITIALIZATION 

      SST 09843-18040 

      NOTE: If the procedures from *1 to *2 are not completed within 1 minute, or if errors are made during these procedures, perform the initialization again from the beginning.
      1. Turn the power switch ON (READY).
      2. Center the steering wheel.
      3. Using SST, connect terminals 12 (TS) and 4 (CG), and 13 (TC) and 4 (CG) of the DLC3. (*1)
      4. Disconnect SST from terminal 12 (TS) of the DLC3, and turn the steering wheel to the left 180° or more.
      5. Connect SST to terminal 12 (TS) of the DLC3.
      6. Disconnect SST from terminal 13 (TC) of the DLC3, and turn the steering wheel to the right 180° or more.
      7. Connect SST to terminal 13 (TC) of the DLC3. (*2)
        Fig 39: Identifying TC, CG And TS Terminals Of DLC3 Connector
        G04944114Courtesy of © TOYOTA, LICENSE AGREEMENT TMS1002

        HINT:

        When the master warning light comes on, DTC C1591/51 is memorized.

      8. Disconnect SST from the DLC3.
      9. Turn the power switch OFF.
    4. FACE TIRES STRAIGHT AHEAD 
      1. Confirm that the steering wheel is centered when facing the tires straight ahead.
        NOTE: Drive the vehicle to confirm that the steering wheel is centered.

        Result 

        RESULT REFERENCE

        Result Proceed to
        Steering wheel is off-center A
        Steering wheel is centered B

      B:  Go to step  8

      A: Go to Next Step 

    5. UNLOCK STEERING ACTUATOR 
      NOTE: Do not turn the power switch ON (READY).
      1. Turn the power switch OFF.
      2. Disconnect the negative (-) terminal cable from the auxiliary battery.
      3. Disconnect the z16 connector from the steering actuator.
      4. Connect a jumper wire from terminal LV to the positive (+) 12 V battery terminal and another jumper wire from terminal LG to the negative (-) 12 V battery terminal.
        NOTE: Do not apply voltage for more than 3 minutes.
        Fig 40: Identifying Terminals Of Z16 Steering Actuator Connector
        G05782328Courtesy of © TOYOTA, LICENSE AGREEMENT TMS1002
    6. STEERING CENTER ADJUSTMENT 
      1. Center the steering wheel.
        NOTE: If the centering of the spiral cable was not confirmed when the steering wheel was installed, confirm the centering of the spiral cable.
    7. LOCK STEERING ACTUATOR 
      1. Disconnect the positive (+) and negative (-) 12 V battery terminal cables from the steering actuator.
      2. Connect the z16 connector to the steering actuator.
      3. Connect the negative (-) terminal cable to the auxiliary battery.
      4. Turn the steering wheel approximately 3° to the left and right. Confirm that the reaction force can be felt.
        NOTE:
        • If the above procedures are not followed correctly, a DTC will be detected. If a DTC is detected, perform the above procedures again and then check for DTCs.
        • Perform these procedures with the power switch OFF.
    8. ADJUST ACTUATOR ANGLE 

      HINT:

      Activating and ending test mode will complete actuator angle adjustment.

      1. Make sure the power switch is OFF
        NOTE: Do not touch the steering wheel during these procedures.
      2. Using SST, connect terminals 12 (TS) and 4 (CG) of the DLC3.

        SST 09843-18040 

      3. Turn the power switch ON (IG)
      4. Confirm that the "VGRS TEST MODE" is displayed on the multi-information display when test mode is activated.

        HINT

        Wait approximately 5 seconds.

      5. Turn the power switch OFF
      6. Disconnect SST from terminals 12 (TS) and 4 (CG) of the DLC3.
      7. Turn the power switch ON (IG) again
        Fig 41: Identifying TS And CG Terminals Of DLC3 Connector
        G05770236Courtesy of © TOYOTA, LICENSE AGREEMENT TMS1002
    9. CHECK MASTER WARNING LIGHT 
      1. Confirm that the master warning light is off
      2. Turn the power switch OFF, then ON (IG).
      3. Confirm that the master warning light is operating normally.
    10. CHECK STEERING WHEEL OPERATION 
      1. Turn the power switch ON (READY).
      2. Perform the steering angle sensor initialization.
      3. Turn the steering wheel from lock to lock and check that it rotates approximately 2 7 turns.
      4. Drive the vehicle and confirm that the steering wheel is centered.

      NEXT: END 

  41. VGRS SYSTEM CALIBRATION PROCEDURE (USING INTELLIGENT TESTER) 
    1. FACE TIRES STRAIGHT AHEAD 
      NOTE: Drive the vehicle to confirm that the steering wheel is centered.
    2. PERFORM VGRS SYSTEM CALIBRATION 
      1. Connect the Intelligent tester to the DLC3.
      2. Turn the power switch ON (IG).
      3. Turn the tester on.
      4. Enter the menu items in this order: DIAGNOSIS / OBD/ MOBD / CHASSIS / VGRS. Then, select the "STEER ANGLE ADJ" item, and press "ENTER" to move to next screen.
      5. "NOTICE" screen is displayed. Then, press "ENTER".
        NOTE: Press the "ENTER" key even if DTC C15B4/71 is output.
      6. "NOTICE" screen is displayed Then, press "ENTER".
        NOTE: Ensure that the power switch is OFF.
        Fig 42: Intelligent tester Display - Diagnosis Menu VGRS
        G04950174Courtesy of © TOYOTA, LICENSE AGREEMENT TMS1002
      7. "STEERING ANGLE ADJ" screen is displayed. Then, press "YES".
      8. "STEERING ANGLE ADJ" screen is displayed. Then, press "ENTER"
        NOTE: If the centering of the spiral cable was not confirmed when the steering wheel was installed, confirm the centering of the spiral cable.
      9. "NOTICE" screen is displayed. Then, press "ENTER".
        NOTE: Do not touch the steering wheel during these procedures.
      10. "NOTICE" screen is displayed. Then, press "ENTER".
      11. "NOTICE" screen is displayed. Then, press "ENTER"
        NOTE: Do not touch the steering wheel during these procedures.
      12. The remaining time is displayed and the display switches automatically to the next screen.
        NOTE: Do not touch the steering wheel during these procedures.
      13. Check that the VGRS system calibration is completed normally.
      14. Select "ENTER" to return the display to the "MENU" screen.
        Fig 43: Intelligent tester Display - Steering Angle ADJ ECU VGRS
        G04950175Courtesy of © TOYOTA, LICENSE AGREEMENT TMS1002
    3. CHECK MASTER WARNING LIGHT 
      1. Confirm that the master warning light is off.
      2. Turn the power switch OFF.
      3. Disconnect the Intelligent tester from the DLC3.
      4. Turn the power switch ON (IG).
      5. Confirm that the master warning light is operating normally.
    4. CHECK STEERING WHEEL OPERATION 
      1. Turn the power switch ON (READY).
      2. Perform the steering angle sensor initialization.
      3. Turn the steering wheel from lock to lock and check that it rotates approximately 2 7 turns.
      4. Drive the vehicle and confirm that the steering wheel is centered

      NEXT: END 

  42. VGRS SYSTEM CALIBRATION PROCEDURE (USING TECHSTREAM) 
    1. FACE TIRES STRAIGHT AHEAD 
      NOTE: Drive the vehicle to confirm that the steering wheel is centered.
    2. PERFORM VGRS SYSTEM CALIBRATION 
      1. Connect Techstream to the DLC3
      2. Turn the power switch ON (IG)
      3. Turn the tester on.
      4. Enter the menu items in this order Chassis / VGRS / Utility / Steering Angle Adjust.
      5. Perform the following procedures displayed on the tester.
    3. CHECK MASTER WARNING LIGHT 
      1. Confirm that the master warning light is off.
      2. Turn the power switch OFF
      3. Disconnect Techstream from the DLC3
      4. Turn the power switch ON (IG).
      5. Confirm that master warning light is operating normally
    4. CHECK STEERING WHEEL OPERATION 
      1. Turn the power switch ON (READY).
      2. Perform the steering angle sensor initialization.
      3. Turn the steering wheel from lock to lock and check that it rotates approximately 2.7 turns.
      4. Drive the vehicle and confirm that the steering wheel is centered.

      NEXT: END 

  43. ROTATION ANGLE SENSOR VALUE INITIALIZATION AND TORQUE SENSOR ZERO POINT CALIBRATION 
    NOTE: Clear the rotation angle sensor calibration value, initialize the rotation angle sensor value, and calibrate the torque sensor zero point if any of the following has occurred:
    • The power steering ECU has been replaced.
    • The power steering gear assembly has been replaced.
    • Steering effort differs between left and right.
    1. Inspection before calibration.
      1. Connect the Intelligent tester or Techstream to the DLC3
      2. Turn the power switch ON (IG).
      3. Turn the Intelligent tester or Techstream on. Intelligent tester - Select "IG SUPPLY" from the Data List.

        Techstream - Select "IG Supply" from the Data List.

      4. Check the IG power supply voltage on the tester screen.
        1. Intelligent tester

          EMPS 

          EMPS REFERENCE

          Tester Display Measurement Item/Range Normal Condition Diagnostic Note
          IG SUPPLY ECU power source voltage/ Mm 0V, Max 25 5 V Power switch ON (IG) 11 to 14 V When malfunction occurs, problem may be ECU power supply
        2. Techstream

          EMPS 

          EMPS REFERENCE

          Tester Display Measurement Item/Range Normal Condition Diagnostic Note
          IG Supply ECU power source voltage/ Mm 0V, Max 25 5V Power switch ON (IG) 11 to 14 V When malfunction occurs, problem may be ECU power supply

          Standard voltage: 

          11 to 14 V 

          NOTE: If the IG power supply voltage is less than 11 V, calibration cannot be performed. In this case, charge or replace the auxiliary battery, and then perform calibration.
    2. Clearing rotation angle sensor calibration value, rotation angle sensor value initialization, and torque sensor zero point calibration.
      NOTE:
      • If DTC C1516 (Torque Sensor Zero Point Adjustment Incomplete) is stored, the torque sensor zero point cannot be calibrated. Clear the DTC before starting calibration.
      • If DTC C1526 (Motor Rotation Angle Sensor Initialization Incomplete) is stored, the rotation angle sensor value cannot be initialized. Clear the DTC before starting initialization.
      1. Connect the Intelligent tester or Techstream to the DLC3.
      2. Turn the power switch ON (IG).
      3. Turn the Intelligent tester or Techstream on Intelligent tester - Select "TRQ SENSOR ADJ". Techstream - Select "Torque Sensor Adjustment"
      4. Follow the procedures on the tester display to clear the rotation angle sensor calibration value, initialize the rotation angle sensor value, and calibrate the torque sensor zero point
        NOTE:
        • When initializing the rotation angle sensor value, observe the following to stabilize sensor voltage:

          After turning the power switch ON (IG), wait for at least 2.5 seconds before turning the steering wheel. Do not turn the steering wheel quickly.

        • The steering wheel will vibrate during torque sensor zero point calibration. Do not touch the steering wheel while it is vibrating or for 2 seconds after it stops.
  44. ZERO POINT CALIBRATION 
    1. Zero point calibration procedures
      1. Check that all of the following conditions are met:
        • The vehicle is parked on a level surface.
        • No objects are placed on the front passenger seat.
        • The front passenger seat belt buckle switch is OFF
      2. Adjust the seat position according to the table below.
        SEAT POSITION REFERENCE

        Adjustment Item Position
        Slide Direction Rearmost position
        Reclining Angle Upright position
        Headrest Height Lowest position
        Lifter Height Lowest position
      3. Connect the Intelligent tester or Techstream to the DLC3
      4. Turn the power switch ON (IG).
      5. Perform zero point calibration by following the prompts on the tester screen

        HINT:

        • Refer to the Intelligent tester or Techstream operator's manual for further details.
        • If the zero point calibration is performed when the calibration conditions are not satisfied, DTC B1797 is output.
        • If the zero point calibration has failed, DTC B1797 is output.
        • If After Exchange is selected before the previous ECU data are stored in the Intelligent tester or Techstream, the display screen returns to CONDITION SELECT ECU. Occupant Detect.
        ITEM PROCEDURE CHART

        Item Procedure
        DTC Perform DTC check and repair
        Write error Replace front seat set (with occupant classification ECU and occupant detection sensor)
        Temperature Check value of THERMISTOR TEMP in ECU DATA LIST
        Pressure Check value of FILTERED PRESS in ECU DATA LIST
        Crash counter -
  45. SENSITIVITY CHECK 
    1. Sensitivity check procedures
      1. Turn the power switch OFF.
      2. Place a weight of 20 kg (44.0 lb) on the front passenger seat.
        NOTE:
        • Do not allow the weight to come into contact with the seatback when placing it on the seat cushion.
        • Place the weight in the area shown in the illustration.
          Fig 44: Placing Weight Of 20 Kg On Front Passenger Seat
          G04947418Courtesy of © TOYOTA, LICENSE AGREEMENT TMS1002
      3. Turn the power switch ON (IG), and wait for at least 6 seconds.
      4. Check that the passenger airbag ON/OFF indicator indicates OFF

        OK: Passenger airbag ON/OFF indicator indicates OFF. 

      5. Add a weight of 30 kg (66.1 lb) to the front passenger seat (total 50 kg (110.2 lb)).
        NOTE:
        • Do not allow the weight to come into contact with the seatback when placing it on the seat cushion.
        • Place the weight in the area shown in the illustration.
      6. Check that the passenger airbag ON/OFF indicator indicates ON.

        OK: Passenger airbag ON/OFF indicator indicates ON. 

  46. REGISTRATION 
    NOTE:
    • After the power switch is turned OFF, the HDD navigation system requires approximately 6 minutes to record various types of memory and settings. As a result, after turning the power switch OFF, wait 6 minutes or more before disconnecting the cable from the negative (-) battery terminal.
    • If any DTCs related to the occupant classification ECU are output, troubleshoot those DTCs by referring to the DIAGNOSTIC TROUBLE CODE CHART.
    • When ECU data saving or loading operations cannot be performed, replace the front seat set (with occupant classification ECU and occupant detection sensor).

    HINT.

    • When the front seat set (occupant classification ECU) is replaced, the previous ECU data must be saved in the Intelligent tester or Techstream and loaded into the new ECU by following the flowchart below.
    • Until the data from the previous ECU are loaded into the new occupant classification ECU, these data are not erased even when the tester is turned off.
    • ECU EXCHANGE procedure (Before Exchange) describes the procedure to save the data in the Intelligent tester or Techstream from the occupant classification ECU which was installed on the vehicle. ECU EXCHANGE procedure (After Exchange) describes the procedure to load the data from the previous ECU, stored in the Intelligent tester or Techstream, into the new ECU.
    1. Connect the Intelligent tester or Techstream to the DLC3
    2. Turn the power switch ON (IG).
    3. Store the occupant classification ECU data in the Intelligent tester or Techstream by following the prompts on the tester screen.

      HINT:

      If the ECU data cannot be stored in the Intelligent tester or Techstream, replace the front seat set (with occupant classification ECU and occupant detection sensor)

    4. Turn the power switch ON (IG)
    5. Disconnect the negative (-) terminal cable from the battery, and wait for at least 90 seconds.
    6. Replace the front seat set (occupant classification ECU).
    7. Connect the negative (-) terminal cable to the battery
    8. Turn the power switch ON (IG).
    9. Load the data from the previous ECU stored in the tester into the newly installed ECU by following the prompts on the tester screen
    10. Turn the power switch OFF.
    11. Turn the power switch ON (IG).
    12. Clear the DTCs stored in the memory.

      HINT.

      If DTCs are not cleared at this time, past DTCs will remain

  47. DESCRIPTION OF CODE REGISTRATION 

    HINT:

    • The engine immobilizer function's ID code is the same as the recognition code for the smart access system with push-button start and wireless transmitter. Registering an ID code enables the smart access with push-button start, wireless door lock control function and engine immobilizer function to be operated.
    • Code registration is needed when the certification ECU, ID code box, steering lock ECU, hybrid vehicle control ECU or key is replaced with a new one.
    • This vehicle does not have a key slot Therefore, touch the logo of the key to the power switch to register the key, as shown in the illustration.
  48. PART REPLACEMENT AND KEY REGISTRATION PROCEDURES 
    1. If a malfunctioning ECU is discovered through troubleshooting of the smart access system with push-button start, use the ECU replacement and key registration procedures in the table below.

      HINT

      • The following procedures require the use of the Intelligent tester or Techstream:
        Fig 45: Identifying Power Switch And Key
        G05782538Courtesy of © TOYOTA, LICENSE AGREEMENT TMS1002
        • New key ID registration
        • Additional key ID registration
        • Key ID erasure
        • ECU code registration
      • When simply adding a new key (without losing or replacing any existing keys), refer to "3. KEY REGISTRATION PROCEDURES (c) Additional key ID registration".
      • If all of the registered keys are not available, replacement of the ID code box, certification ECU and steering lock ECU is also required.
      • A maximum of 7 keys can be registered.
      KEY REGISTRATION PROCEDURES

      Part to be replaced Condition Procedure
      Certification ECU Customer has brought all keys
      1. Replace certification ECU
      2. Reregister all keys (new key ID registration)
      Some keys are lost Key ID codes can be registered and erased
      1. Erase key codes (key ID erasure)
      2. Perform additional key registration procedure (additional key ID registration)
      3. Replace certification ECU
      4. Reregister all keys (new key ID registration)

      HINT
      If some keys are not registered during above steps, they will be disabled because they cannot be registered later
      Key ID codes cannot be either registered or erased
      1. Replace certification ECU
      2. Replace ID code box
      3. Reregister all keys (new key ID registration)

      HINT
      If key codes cannot be erased or additional keys cannot be registered due to a malfunction in certification ECU, replace ID code box and certification ECU If some keys are not registered during above steps, they will be disabled because they cannot be registered later
      All keys are lost
      1. Replace certification ECU
      2. Replace ID code box
      3. Replace steering lock ECU
      4. Register ail keys (new key ID registration)
      5. ECU communication ID registration
      ID code box At least 1 key is available
      1. Replace ID code box
      2. ECU communication ID registration
      All keys are lost
      1. Replace ID code box
      2. Replace certification ECU
      3. Replace steering lock ECU
      4. Register all keys (new key ID registration)
      5. ECU communication ID registration
      Steering lock ECU Customer has brought at least 1 key
      1. Replace steering lock ECU
      2. Register recognition codes in ECUs (ECU code registration)
      All keys are lost
      1. Replace certification ECU
      2. Replace ID code box
      3. Replace steering lock ECU
      4. Register all keys (new key ID registration)
      5. ECU communication ID registration
      Main body ECU No condition required Replace main body ECU
      Hybrid vehicle control ECU No condition required
      1. Replace hybrid vehicle control ECU
      2. ECU communication ID registration

      HINT
      Only perform procedure above when replacing with used hybrid vehicle control ECU
      Key Customer has brought at least 1 key
      HINT
      After key ID erasure, any remaining keys that are not registered at this time cannot be used Therefore, after key ID erasure, register all remaining keys
      1. Using remaining key, erase lost key (key ID erasure)
      2. Register additional keys as necessary (additional key ID registration)
      All keys are lost
      1. Replace certification ECU
      2. Replace ID code box
      3. Replace steering lock ECU
      4. Register all keys (new key ID registration)
      5. ECU communication ID registration
  49. KEY REGISTRATION PROCEDURES 
    1. New key ID registration (when replacing certification ECU and ID code box, or certification ECU, ID code box and steering lock ECU)
      KEY REGISTRATION PROCEDURES

      Process Procedure
      1 Start of registration
      1. Connect Intelligent tester or Techstream to DLC3
      2. Turn power switch ON (IG)
      3. Select "SMART ACCESS/ID UTILITY/SMART CODE REG" (for intelligent tester) or "Smart Access/Utility/Key Code Registration" (for Techstream) from tester menu

      HINT
      Power switch cannot be turned ON (IG) more than 10 times After connecting tester, turn tester on while turning driver side door courtesy light switch on and off repeatedly at 1 5 seconds intervals or less to continue key registration procedure
      2 Confirmation of ECU code Perform operation according to prompts on tester screen
      HINT
      Mode is automatically selected by tester (new registration mode or add mode)
      3 Verification of unregistered key*
      1. Touch logo of unregistered key to power switch
      2. Confirm that wireless door lock buzzer sounds once (short beep)
      3. Place unregistered key on front passenger side seat
      4. Confirm that wireless door lock buzzer sounds once (short beep)
      4 Registration of ID code Perform operation according to prompts on tester screen
      5 End of registration Finish new key ID code registration
      HINT
      *. Repeat this process for each key which is to be registered for the vehicle. Finish the procedure for each key within 30 seconds. If the procedure for any of the keys has not been finished within the specified time, perform registration procedures from process 1 again Make sure that only 1 key is in the cabin during registration procedures. If 2 or more keys are in the cabin simultaneously, electric waves will interfere with each other, preventing normal registration.
    2. New key ID registration (when replacing certification ECU)
      KEY REGISTRATION PROCEDURES

      Process Procedure
      1 Start of registration
      1. Connect Intelligent tester or Techstream to DLC3
      2. Turn power switch ON (IG)
      3. Select "SMART ACCESS/ID UTILITY/SMART CODE REG" (for intelligent tester) or "Smart Access/Utility/Key Code Registration" (for Techstream) from tester menu

      HINT
      Power switch cannot be turned ON (IG) more than 10 times After connecting tester, turn tester on while turning driver side door courtesy light switch on and off repeatedly at 1 5 seconds intervals or less to continue key registration procedure
      2 Confirmation of ECU code Perform operation according to prompts on tester screen
      HINT
      Mode is automatically selected by tester (new registration mode or add mode)
      3 Confirmation of all registered keys*1
      1. Touch logo of unregistered key to power switch
      2. Confirm that wireless door lock buzzer sounds once (short beep)
      4. Confirmation of ECU code Perform operation according to prompts on tester screen
      5 Verification of unregistered key*2
      1. Touch logo of unregistered key to power switch
      2. Confirm that wireless door lock buzzer sounds once (short beep)
      3. Place unregistered key on front passenger side seat
      4. Confirm that wireless door lock buzzer sounds once (short beep)
      6 Registration of ID code Perform operation according to prompts on tester screen
      7 End of registration Finish new key ID code registration
      HINT.
      • *1: Repeat this process for each key registered for the vehicle. Finish the procedure for each key within 30 seconds. If the procedure for any of the keys has not been finished within the specified time, perform registration procedures from process process 1 again. If performing the key confirmation procedure for a key, the security indicator light comes on and remains on until all the keys are confirmed.
      • *2: Repeat this process for each key which is to be registered for the vehicle. Finish the procedure for each key within 30 seconds. If the procedure for any of the keys has not been finished within the specified time, perform registration procedures from process 1 again. Make sure that only 1 key is in the cabin during registration procedures. If 2 or more keys are in the cabin simultaneously, electric waves will interfere with each other, preventing normal registration.
    3. Additional key ID registration
      KEY REGISTRATION PROCEDURES

      Process Procedure
      1 Start of registration
      1. Connect Intelligent tester or Techstream to DLC3
      2. Turn power switch ON (IG)
      3. Select "SMART ACCESS/ID UTILITY/SMART CODE REG" (for intelligent tester) or "Smart Access/Utility/Key Code Registration" (for Techstream) from tester menu
      2 Confirmation of ECU code
      1. Perform operation according to prompts on tester screen
      2. Touch logo of registered key to power switch
      3. Confirm that wireless door lock buzzer sounds once (short beep)
      3. Confirmation of ECU code Perform operation according to prompts on tester screen
      4 Verification of unregistered key*2
      1. Touch logo of unregistered key to power switch
      2. Confirm that wireless door lock buzzer sounds once (short beep)
      3. Place unregistered key on front passenger side seat
      4. Confirm that wireless door lock buzzer sounds once (short beep)
      5 Registration of ID code Perform operation according to prompts on tester screen
      6 End of registration Finish key ID code registration
      HINT.
      • *1. Perform this process for one of the keys registered for the vehicle. Finish the procedure within 30 seconds. If the procedure has not been finished within the specified time, perform registration procedures from process 1 again.
      • *2: Repeat this process for each key which is to be registered for the vehicle. Finish the procedure for each key within 30 seconds. If the procedure for any of the keys has not been finished within the specified time, perform registration procedures from process 1 again Make sure that only 1 key is in the cabin during registration procedures. If 2 or more keys are in the cabin simultaneously, electric waves will interfere with each other, preventing normal registration.
    4. Key ID erasure (Erase all registered key codes except one)
      KEY REGISTRATION PROCEDURES

      Process Procedure
      1 Start of erasure
      1. Connect Intelligent tester or Techstream to DLC3
      2. Turn power switch ON (IG)
      3. Select "SMART ACCESS/ID UTILITY/SMART CODE ERS" (for intelligent tester) or "Smart Access/Utility/Key Code Erasure" (for Techstream) from tester menu
      2 Confirmation of registered key*
      1. Perform operation according to prompts on tester screen
      2. Touch logo of registered key to power switch
      3. Confirm that wireless door lock buzzer sounds once (short beep)
      3 Erasure of ID code Perform operation according to prompts on tester screen
      4 End of erasure Finish key ID code erasure
      HINT.
      * Perform this process for one of the keys registered for the vehicle Finish the procedure within 30 seconds. If the procedure has not been finished within the specified time, perform erasure procedures from process 1 again
    5. All keys ID erasure
      KEY REGISTRATION PROCEDURES

      Process Procedure
      1 Start of erasure
      1. Connect Intelligent tester or Techstream to DLC3
      2. Turn power switch ON (IG)
      3. Turn tester on while turning driver side door courtesy light switch on and off repeatedly at 1 5 seconds intervals or less
      4. Select "SMART ACCESS/ID UTILITY/SMART CODE RESET" (for intelligent tester) or "Smart Access/Utility/Key Code Reset" (for Techstream) from tester menu
      5. Read "SEED NUMBER" sent from TIS according to tester screen
      2 Confirmation of registered key* Touch logo of registered key to power switch
      3 Erasure of ID code Perform operation according to prompts on tester screen
      4 End of erasure Finish key ID code erasure
      HINT:
      *. Perform this process for one of the keys registered for the vehicle. Finish the procedure within 30 seconds. If the procedure has not been finished within the specified time, perform erasure procedures from process 1 again.
    6. ECU code registration
      ECU CODE REGISTRATION PROCEDURES

      Process Procedure
      1 Start of erasure
      1. Connect Intelligent tester or Techstream to DLC3
      2. Turn power switch ON (IG)
      3. Select "SMART ACCESS/ID UTILITY/ECU COMM ID REG/ID Code Box and Steering Lock" (for intelligent tester) or "Smart Access/Utility/ECU Communication ID Registration/ID code box and Steering Lock" (for Techstream) from tester menu
      4. Read "SEED NUMBER" sent from TIS according to tester screen
      2 Confirmation of registered key*
      1. Touch logo of registered key to power switch
      2. Confirm that wireless door lock buzzer sounds once (short beep)
      3 Erasure of ECU code Perform operation according to prompts on tester screen
      4 End of registration Finish ECU code registration
      HINT
      *. Perform this process for one of the keys registered to the vehicle Finish the procedure within 30 seconds If the procedure has not been finished within the specified time, perform registration procedures from process 1 again.
    7. ECU communication ID registration
      NOTE:
      • The ECU communication ID should be registered when the ID code box is replaced in order to match the ECU communication ID.
      • The hybrid control system cannot be started unless ECU communication ID is registered.
      • After the registration, pressing the power switch may not start the hybrid control system on the first try. If so, press the power switch again.
      • After the hybrid control system is started, erase DTC B2799-790 (code for hybrid vehicle control ECU's immobilizer communication error) using either of the following methods:
        • Use the Intelligent tester or Techstream.
        • Disconnect the battery for 30 seconds.
          Fig 46: Identifying TC And CG Terminals Of DLC3 Connector
          G05782539Courtesy of © TOYOTA, LICENSE AGREEMENT TMS1002
      1. Using SST, connect terminal 13 (TC) and 4 (CG) of the DLC3

        SST 09843-18040 

      2. Turn the power switch ON (IG) (do not start the hybrid control system) and leave it as is for 30 minutes.
      3. Turn the power switch OFF and disconnect terminals 13 (TC) and 4 (CG).
      4. Check that the hybrid control system starts for more than 3 seconds
    8. ECU communication ID reregistration
      NOTE: The ECU communication ID should be registered when the hybrid vehicle control ECU is replaced in order to match the ECU communication ID.
      ECU COMMUNICATION ID REREGISTRATION PROCEDURES

      Procedure Time Security Indicator Light Condition
      1 Start - OFF
      2 While holding already registered key, turn the power switch ON (IG) with brake pedal depressed
      3 Check that hybrid control system starts and stays on for more than 3 seconds
      4 End
  50. ADJUST OBJECT RECOGNITION CAMERA 

    HINT:

    If the object recognition camera sensor is replaced or removed/installed, or the toe-in is adjusted, perform the object recognition camera sensor and object recognition camera ECU adjustment

    NOTE:
    • Make sure there are no black and white patterned objects in front of the vehicle.
    • Be sure to perform the measurement on a level surface that is free of obstacles and extends 1.5 m (4.92 ft.) or more in front of the vehicle.
    • Make sure that there is no wind when performing the measurement.
    • Check that there are no reflective materials in the surroundings or on the ground within a 3 m (9.84 ft.) or more x 3 m (9.84 ft.) or more area in front of the vehicle.
    • Perform the inspection in a bright area.
      Fig 47: Identifying Object Recognition Camera Range
      G04951445Courtesy of © TOYOTA, LICENSE AGREEMENT TMS1002
    1. Beam axis learning preparation
      1. Move the vehicle to a level surface.
      2. Make sure the engine oil in the vehicle is at the specified amount.
      3. Make sure the engine coolant in the vehicle is at the specified amount.
      4. Make sure the fuel tank is full.
      5. Make sure the spare tire is in the vehicle.
      6. Make sure the standard tools are in the vehicle.
      7. Make sure nobody is in the vehicle.
      8. Make sure no extra loads are in the vehicle.
      9. Adjust the tire pressures to the specified pressure
      10. Clean the front glass
      11. If the lens of the object recognition camera sensor is dirty, apply a small amount of lens cleaner to a clean, soft cloth and clean the lens.
    2. Perform adjustment suspension control system
      1. Perform adjustment of suspension control system.
        NOTE: Perform this procedure as accurately as possible.
    3. Perform the front wheel alignment adjustment
      1. Perform the front wheel alignment adjustment.
        NOTE: Perform this procedure as accurately as possible.
    4. Perform the rear wheel alignment adjustment
      1. Perform the rear wheel alignment adjustment
        NOTE:
        • Perform this procedure as accurately as possible.
        • Press the height control switch and change the vehicle height to HIGH and return it to NORM. Then repeat.
    5. Target sheet creation
      1. Print or copy the illustration below. Check that the dimensions are +/- 5 mm (0.197 in.) of the ones in the table below.
        TARGET SHEET AREA SPECIFICATION

        Area Specification
        A 160 mm (6 30 in)
        B 160 mm (6 30 in)
        C 80 mm (3 15 in)
        D 16 mm (0 63 in)
        Fig 48: Identifying Target Sheet Creation Dimension
        G04951446Courtesy of © TOYOTA, LICENSE AGREEMENT TMS1002
        NOTE:
        • Make sure that the black areas of the target sheets are not glossy.
        • Make sure that the borders of the black and white areas on the target sheets are straight, and are not warped or blurry.

        If the print or copy's dimensions are not as specified, adjust settings and reprint or recopy so that the print or copy's dimensions are as specified.

        Fig 49: Identifying Target Sheet Creation
        G04951447Courtesy of © TOYOTA, LICENSE AGREEMENT TMS1002
    6. Target sheet attachment

      If the print or copy's dimensions are not as specified, adjust settings and reprint or recopy so that the print or copy's dimensions are as specified.

      1. Place the prepared target sheet on a piece of cardboard of the same size with the black area on the top right, as shown in the illustration. Then use double-sided tape to fix the target sheet in place.
        Fig 50: Identifying Target Sheet Attachment With Cardboard
        G04951448Courtesy of © TOYOTA, LICENSE AGREEMENT TMS1002
        NOTE: Do not attach reflective tape, such as scotch tape, etc. to the target face, as this may affect target recognition.
      2. Hang a weight with a pointed tip from the center of the target sheet. Then, with double-sided tape, attach the target sheet to the reflector so that the weight aligns with the mark-off line of SST (laser radar adjusting reflector).

        SST 09870-60000 (09870-60010,09870-60020) 

        NOTE:
        • Perform this procedure as accurately as possible.
        • Attach the target sheet so that it is horizontal with the ground.
          Fig 51: Attaching Target Sheet To Laser Radar Adjusting Reflector
          G04951449Courtesy of © TOYOTA, LICENSE AGREEMENT TMS1002
      3. Move the reflector up and down to position the center of the target at the height shown in the illustration, and fix it in place

        Dimension A: 

        1270mm (50 in.) 

        SST 09870-60000 (09870-60010,09870-60020) 

        NOTE: Perform this procedure as accurately as possible.
        Fig 52: Identifying Center Of Reflector And Target Height
        G04951450Courtesy of © TOYOTA, LICENSE AGREEMENT TMS1002
    7. Target placement point measurement
      NOTE:
      • Do not place black and white patterned objects near the target.
      • Face the vehicle toward a wall with no patterns, or make sure the background behind the target has no patterns.
      • Perform this procedure as accurately as possible.
      • Do not place reflective materials in the area behind the target.
      • Make sure there are no patterns on the wall behind the target.
      • Make sure the distance between the target and wall is within 3 m (9.84 ft.).
      • Make sure the target's shadow is not on the wall, as the camera may have a recognition error.
      1. From the center of the front and back bumpers (center of the emblems), hang a weight with a pointed tip, and mark the front bumper center point A and the rear bumper center point B on the ground.
      2. Draw a line that connects points A and B, and extend the line approximately 2 m (6.56 ft.) beyond the front of the vehicle.

        HINT.

        Secure the end of a string to point B. Then hold the other end of the string approximately 2 m (6.56 ft.) in front of the vehicle, and move it to the left or right to align the string with point A to make a straight line

      3. Mark point C 990 mm (39.0 in.) from the front bumper center point A (placement point 1).
        Fig 53: Identifying Front And Rear Bumper Center Points
        G04951451Courtesy of © TOYOTA, LICENSE AGREEMENT TMS1002
        Fig 54: Identifying Placement Point
        G04951452Courtesy of © TOYOTA, LICENSE AGREEMENT TMS1002
      4. From point C, move 700 mm (27.6 in.) towards the front bumper center point A and mark point D.
      5. From point C, place marking tape at the point 700 mm (27.6 in.) perpendicular to the line that connects points A and B.
        NOTE: Place the tape so that there is plenty of surface area along the perpendicular line.
      6. Using a measuring tape of 5 m (16.41 ft.) or more, and point D as the center point, draw the part of a 900 mm (38.98 in.) circle that overlaps the marking tape (line E).
      7. Mark point F where the following intersect: 1) from point C, the point that is 700 mm (27.6 in.) perpendicular from the line that connects point A and B; and 2) line E.
      8. Set the measuring tape from point C to F. Then mark point G 740 mm (29.1 in.) from point C (line extending from point C to F) (placement point 2).
      9. Set the measuring tape from point F to C. Then mark point H 740 mm (29.1 in.) beyond point C (placement point 3).
      10. Set a string between points G and H, and draw a line on the ground (target placement line).
    8. Object recognition camera sensor height measurement
      NOTE:
      • Do not place black and white patterned objects near the target.
      • Face the vehicle toward a wall with no patterns, or make sure the background behind the target has no patterns.
      • Perform this procedure as accurately as possible.
      • Do not place reflective materials in the area behind the target.
      • Make sure there are no patterns on the wall behind the target.
      • Make sure the distance between the target and wall is within 3 m (9.84 ft.).
      • Make sure the target's shadow is not on the wall, as the camera may have a recognition error.
      1. Measure the distance (X mm or in) from the ground to point H for the front left wheel arch.
      2. Measure the distance (Y mm or in.) from the ground to point H for the front right wheel arch.
      3. The average of the 2 distances (X mm or in, Y mm or in.) plus 599 mm (23.6 in) is the height of the object recognition camera sensor.
      Fig 55: Measuring Distance From Ground To Point H For Front Left Wheel Arch
      G04951453Courtesy of © TOYOTA, LICENSE AGREEMENT TMS1002
    9. Memorize camera/target position
      NOTE:
      • Close all doors.
      • Perform the procedure with no one in the vehicle.
      • During the procedure, do not lean on the vehicle.
      • Illuminate the clearance lights.
      • Do not illuminate the headlights.
      1. When using intelligent tester:
        1. Connect the Intelligent tester to the DLC3.
        2. Turn the power switch ON (IG).*1
        3. Turn the Intelligent tester main switch ON.
        4. Follow the instructions on the screen menu-select "Lane Keeping Assist", then select "CAMERA POSITION" and press "Enter"

          HINT.

          A buzzer will sound for 1 second.

        5. Follow the tester display, and continue with the adjustment.
      2. When using Techstream:
        1. Connect Techstream to the DLC3
        2. Turn the power switch ON (IG)
        3. Turn the Techstream main switch ON, and turn the LKA main switch ON.
        4. Select "Connect to Vehicle".
        5. Under "Option", select "LKA System".
        6. Under "System Selection Menu", select "Powertrain".
        7. Select "Object Recognition Camera".

          HINT:

          A buzzer will sound for 1 seconds.

        8. Follow the tester display, and continue with the adjustment
      3. Input the measured height of the object recognition camera sensor and the horizontal position of the camera "175 mm (6.89 in.)" into the input screen. Then press the "Enter" button on the display screen.
      4. Input "3000 mm (118 in.)" for the distance from the camera to the target and "1270 mm (50.0 in.)" for the height of the target into the input screen. Then press the "Enter" button on the display screen
      5. Press the "Exit" button to finish the camera/ target position memory mode.
        NOTE: If "Error Camera/target position memory" is displayed on the screen, press the "Try Again" button, and repeat procedures *1 again.
    10. Beam axis learning
      1. Select "LKA System" from the display screen.*1
      2. Select "Utility" from the display screen.
      3. Select "Camera axis adjust" from the display screen.
      4. Follow the tester display, and continue with the adjustment.
      5. Align the target sheet with the target placement line, and align the mark-off line with placement point 1 (point C).
      6. Check that the screen displays beam axis learning for target 1, then press the "Enter" button on the display screen.
        Fig 56: Aligning Target Sheet With Target Placement Line
        G04951454Courtesy of © TOYOTA, LICENSE AGREEMENT TMS1002
      7. Align the target sheet with the target placement line, and align the mark-off line with placement point 2 (point G).
      8. Check that the screen displays beam axis learning for target 2, then press the "Enter" button on the display screen.
        NOTE: Within 3 minutes after the screen displays the beam axis learning for target 2, move the target and press the "Enter" button on the display screen.
        Fig 57: Aligning Target Sheet With Target Placement Line
        G04951455Courtesy of © TOYOTA, LICENSE AGREEMENT TMS1002
      9. Align the target sheet with the target placement line, and align the mark-off line with placement point 3 (point H).
      10. Fig 58: Aligning Target Sheet With Target Placement Line
        G04951456Courtesy of © TOYOTA, LICENSE AGREEMENT TMS1002
      11. Check that the screen displays beam axis learning for target 3, then press the "Enter" button on the display screen.
        NOTE: Within 3 minutes after the screen displays the beam axis learning for target 3, move the target and press the "Next" button on the display screen.
      12. Press the "Exit" button to finish the beam axis learning mode.
        NOTE: If "Error camera axis adjust" is displayed on the screen, press the "Exit" button. Then after checking the conditions below, turn the power switch ON (IG) and OFF, and repeat from procedure *1 again.
        • Height of the target.
        • Distance from object recognition camera sensor to target.
        • Orientation of target (black area positioned on top right).
        • If surrounding area is bright enough.
        • If black and white patterned objects are placed near the target.
  51. ADJUST MILLIMETER WAVE RADAR SENSOR ASSEMBLY 
    CAUTION: Exposure to radio frequency emissions is hazardous to your health. It is hazardous to your health to be within 20 cm (7.87 in.) of the device's radio frequency aperture.
    Fig 59: Identifying Millimeter Wave Radar Sensor Range
    G04951470Courtesy of © TOYOTA, LICENSE AGREEMENT TMS1002
    NOTE:
    • This device complies with FCC radio frequency emission regulations.
    • Perform measurements on a level surface.
    • Make sure that no large pieces of metal are within a 10 m (32.8 ft.) x 14 m (45.9 ft.) area in front of the vehicle. If possible, the surrounding area should also be free of large metal objects.
    1. Before adjusting the radar beam axis, prepare the vehicle as follows.
      1. Check the tire pressure and adjust it if necessary.
      2. Remove all excess weight from the vehicle (luggage, heavy objects, etc.).
    2. w/Air Suspension:

      Adjust the vehicle's height to the standard height.

    3. Check and adjust the vertical direction of the radar sensor.
      1. Remove dust, oil and foreign matter from the radar sensor's level rack.
      2. Set a level on the radar sensor's level rack.
        Fig 60: Identifying Radar Sensor's Level
        G04951471Courtesy of © TOYOTA, LICENSE AGREEMENT TMS1002
      3. Check that the level's air bubble is within the red frame.

        OK: Level's air bubble is within red frame. 

        If the bubble is not within the red frame, use a screwdriver to adjust bolt A until the air bubble is within the red frame.

        HINT:

        Fig 61: Checking Level's Air Bubble
        G05776086Courtesy of © TOYOTA, LICENSE AGREEMENT TMS1002
        • The adjustable range within the level's red frame is +/-0.2°.
        • The target angle is +0.2° (upward angle of 0.2°).

        Result 

        ADJUSTMENT PROCEDURE REFERENCE

        Adjustment Direction Adjustment Procedure Adjustment Angle
        Vertical adjustment Upward direction: Turn bolt A to negative (-) side For every 8.4 rotations of adjustment bolt, sensor moves about 1°
        Downward direction: Turn bolt A to positive (+) side
    4. Adjust the reflector height.
      1. Adjust the reflector so that the center of SST reflector is the same height as the millimeter wave radar sensor.

        SST 09870-60000 

        HINT:

        Prepare a 10 m (32.8 ft.) string, a string with a sharp-pointed weight (plumb bob), and a 5 m (16.4 ft.) tape measure.

        Fig 62: Adjusting Reflector Height
        G05776087Courtesy of © TOYOTA, LICENSE AGREEMENT TMS1002
    5. Place the reflector.
      1. Hang the string (with weight) from the center of the vehicle rear's emblem. Mark the vehicle rear's center point on the ground. Repeat for the front of the vehicle.
        Fig 63: Adjusting Vehicle Front's Center Point
        G04951474Courtesy of © TOYOTA, LICENSE AGREEMENT TMS1002
      2. Set one end of the 10 m (32.8 ft.) string on the vehicle rear's center point. Run the string over the vehicle front's center point to a position 5 m (16.4 ft.) beyond the vehicle front's center point, as shown in the illustration. Mark the 5 m (16.4 ft.) position.
      3. Using a tape measure, measure 12 mm (0.472 in.) to the left of the 5 m (16.4 ft.) position. Place the reflector at that position.
        NOTE: Perform the operation as precisely as possible.
        Fig 64: Identifying Millimeter Wave Radar Sensor Position
        G04951475Courtesy of © TOYOTA, LICENSE AGREEMENT TMS1002
    6. Check the radar beam axis
      1. When using intelligent tester
        1. Connect the Intelligent tester to the DLC3.
        2. Turn the power switch ON (IG).
        3. Turn the Intelligent tester main switch ON, and turn the cruise control main switch ON.
        4. Follow the instructions on the screen menu. Select "RADAR CRUISE", then select "BEAM AXIS ADJ", and press "Enter".
        5. Continue the procedure according to the instructions on the tester screen
        6. After the CRUISE main indicator light illuminates, press "ENTER".

          HINT.

          A buzzer will sound for 1 second.

      2. When using Techstream
        1. Connect Techstream to the DLC3.
        2. Turn the power switch ON (IG).
        3. Turn the Techstream main switch ON, and turn the cruise control main switch ON.
        4. Select "Connect to Vehicle".
        5. Select each item on the display screen and proceed to the next screen.
        6. Under "System Selection Menu", select "Radar Cruise"
        7. Select "Utility"
        8. Select "Beam Axis Adjustment" and proceed to the next screen.

          HINT.

          A buzzer will sound for 1 second.

        9. Follow the tester display, and continue with the adjustment.
      3. Check the following items on the laser cruise divergence data screen.
        NOTE: While using the intelligent tester's beam axis adjustment mode, the actual direction and angle of the radar sensor may be different from the intelligent tester's data. In such a case, the deviation is displayed on the combination meter's multi-information display.
        1. Confirm that the distance value is approximately 5 m (16.4 ft.).

          HINT

          • A value between 0.0 and 6.3 m (20.7 ft) is indicated.
          • If the distance is 0 m (0 ft.), the sensor cannot detect the target. Reconfirm that there is no metal in the specified area in front of the vehicle (refer to the NOTICE at the beginning of this adjustment procedure).
        2. Confirm that the left/right side value is between 0.0 and 6.3.

          HINT:

          If the distance is 0 m (0 ft.), the sensor cannot detect the target. Reconfirm that there is no metal in the specified area in front of the vehicle (refer to the NOTICE at the beginning of this adjustment procedure).

    7. Check and adjust the horizontal direction of the radar sensor.
      1. Check that the divergence of the radar beam axis is 0°.

        Standard: 

        0° (Both right and left) 

        If the axis is not as specified, use a screwdriver to adjust bolt B until the divergence of the radar beam axis is 0°.

      2. Based on the measured divergence of the beam axis, turn and adjust bolt B for horizontal adjustment of the millimeter wave radar sensor using a screwdriver.

        Result 

        ADJUSTMENT PROCEDURE REFERENCE

        Adjustment Direction Adjustment Procedure Adjustment Angle
        Horizontal adjustment Right direction Turn bolt B to positive (+) side For every 18 6 rotations of adjustment bolt, sensor moves about 1 °
        Left direction Turn bolt B to negative (-) side
        Fig 65: Turning Adjust Bolt
        G05776090Courtesy of © TOYOTA, LICENSE AGREEMENT TMS1002

        HINT:

        • If "LEFT SIDE: 1.0°" is displayed, the divergence is 1.0° in the left direction. Turn bolt B approximately 18.6 turns to the negative (-) side.
        • If the value does not change to 0°, it is possible that the sensor is aiming at something different. Reconfirm that there are no reflective materials in the surrounding area.
      3. Select "Next". The driving learning value is automatically reset.

        HINT:

        A buzzer will sound for 10 seconds or more.

      4. Disconnect the Intelligent tester or Techstream from the DLC3.
    8. Recheck and readjust the vertical direction of the radar sensor.
      1. Set a level on the radar sensor's level rack.
        Fig 66: Identifying Radar Sensor's Level
        G04951471Courtesy of © TOYOTA, LICENSE AGREEMENT TMS1002
      2. Check that the level's air bubble is within the red frame.

        OK: Level's air bubble is within the red frame. If the bubble is not within the red frame, use a screwdriver to adjust bolt A until the level's air bubble is within the red frame. 

        HINT:

        • The adjustable range within the red frame is +/-0.2°.
        • The target angle is +0.2° (upward angle of 0.2°).
          Fig 67: Checking Level's Air Bubble
          G05776086Courtesy of © TOYOTA, LICENSE AGREEMENT TMS1002

        Result 

        ADJUSTMENT PROCEDURE REFERENCE

        Adjustment Direction Adjustment Procedure Adjustment Angle
        Vertical adjustment Upward direction: Turn bolt A to negative (-) side For every 8.4 rotations of adjustment bolt, sensor moves about 1°
        Downward direction: Turn bolt A to positive (+) side
  52. INITIALIZATION WITH DIAGNOSIS SYSTEM 
    1. Start the diagnostic system.
    2. Perform STEERING CENTER MEMORIZE and MAX STEERING ANGLE MEMORIZE on the STEERING ANGLE SETTING screen.
    3. Finish the diagnostic system.
  53. INITIALIZATION WITH MANUAL OPERATION 
    1. Turn the power switch ON (IG) or start the hybrid control system.
    2. Fully turn the steering wheel to the right.*
    3. Fully turn the steering wheel to the left.*

      HINT:

      *: These procedures can be performed as shown or in reverse.

  54. SYSTEM ADJUSTMENT 
    1. If the following operations are performed, the adjustments shown below are required.
      ADJUSTMENT ITEM REFERENCE

      Part name Operation Adjustment Item
      Television camera
      • Replace
      • Installation angle of television camera is deviated because of removal and installation of television camera, etc
      Television camera optical axis (camera position setting)
      Parking assist ECU Replace
      • Steering angle neutral point
      • Store left and right maximum steering angle
      • television camera optical axis (camera position setting)

      HINT

      If the parking assist ECU is replaced, screen noise adjustment is automatically performed when steering angle setting and camera position setting are performed.

  55. PREPARATION FOR ADJUSTMENT 
    Fig 68: Television Camera Adjustment Chart
    G05770263Courtesy of © TOYOTA, LICENSE AGREEMENT TMS1002

    HINT:

    Only when adjusting the optical axis of the camera, set the target bar for adjustment.

    1. Park the vehicle with its wheels facing straight ahead and the steering wheel centered.
    2. Set the target bar for adjustment

      HINT.

      • Adjust the tire pressure to the specification.
      • The target bar for adjustment is a piece of tape attached to the floor. Check the color on the screen and choose a tape color which can be easily seen
      • Before parking the vehicle, move the vehicle back and forth to check that the wheels are facing straight ahead and that the steering wheel is centered.
  56. BOOT DIAGNOSIS MODE 
    1. Start the hybrid control system.
    2. Start the diagnostic system.
    3. Select "Camera Check" on the Diagnosis Menu.
  57. SET VEHICLE HEIGHT 
    1. At the "SIGNAL CHECK" screen, press "HT INIT" to display the "HEIGHT SET" screen

      HINT

      • Before performing the camera position setting, the vehicle height setting must be performed in the "HEIGHT SET" screen.
      • If the vehicle height setting is not completed, the "HT INIT" display will change to "CHECKING".
    2. Measure the distance A between the ground and television camera in the illustration.
    3. Calculate the difference between the distance A and the standard height below.

      Standard: 

      944 mm (37.2 in.) 

      Fig 69: Measuring Distance A Between Ground And Television Camera
      G04947443Courtesy of © TOYOTA, LICENSE AGREEMENT TMS1002
    4. Press "UP" and "DOWN" to input the calculated difference
      Fig 70: System Check Screen - Height Set
      G04947444Courtesy of © TOYOTA, LICENSE AGREEMENT TMS1002
    5. After inputting the calculated difference, press "OK". The vehicle height setting will be recorded.

      HINT:

      • Press "OK" with the vehicle in the same condition as when the vehicle height was measured.
      • If a person was in the driver's seat when the vehicle height was measured, press "OK" with the same person in the driver's seat.
      • On the "SIGNAL CHECK" screen, check that the "HT INIT" display is "INPUT OK".
  58. SET PARALLEL PARKING OFFSET 
    1. Select "PARALLEL OFFSET" on the SIGNAL CHECK screen.
    2. Perform the parallel parking offset.
      1. Press the UP or DOWN switches to adjust

        HINT:

        • Positive numbers are displayed in green. Negative numbers are displayed in red.
        • When the value is changed in the "+" direction, the vehicle moves toward the road shoulder
          Fig 71: Signal Check Screen - Parallel Parking Offset
          G04947445Courtesy of © TOYOTA, LICENSE AGREEMENT TMS1002
  59. SET VOLUME 
    1. Select "VOLUME" on the SIGNAL CHECK screen.
    2. Select the volume level on the VOLUME screen.
      Fig 72: Signal Check Screen - SET VOLUME
      G04947446Courtesy of © TOYOTA, LICENSE AGREEMENT TMS1002
  60. SET CAMERA POSITION SETTING 
    1. Select the "NEXT" button on the SIGNAL MENU screen.

      HINT.

      If DTC C1650 (5C-74) is output, pushing the "NEXT" button does not advance the screen to the CAMERA POSITION SETTING screen.

    2. Perform the roll angle adjustment.
      1. Press the directional switches to rotate the target adjustment bars.
        Fig 73: Signal Menu Screen - CAMERA POSITION SETTING
        G04947447Courtesy of © TOYOTA, LICENSE AGREEMENT TMS1002
    3. Perform the vertical and horizontal position adjustment.
      1. Press the directional switches to move the target adjustment boxes.
        Fig 74: Signal Menu Screen - CAMERA POSITION SETTING
        G04947448Courtesy of © TOYOTA, LICENSE AGREEMENT TMS1002
  61. SET BUMPER POSITION 
    1. Press the directional switches to move the target adjustment.
    2. If the right and left bumper need to be adjusted individually, press the "L/R" button on the BUMPER.
      Fig 75: Signal Check Screen - Directional Switches (Bumper)
      G04947449Courtesy of © TOYOTA, LICENSE AGREEMENT TMS1002
    3. Press the directional switches to move the target adjustment on the LEFT BUMPER and RIGHT BUMPER screen.
      Fig 76: Signal Check Screen - Directional Switches (Left Bumper)
      G04947450Courtesy of © TOYOTA, LICENSE AGREEMENT TMS1002
  62. CHECK VERIFY MODE 
    1. Check that A and the target adjustment bar are overlapping
      • If A and the target adjustment bar are not aligned even if the tires are aligned straight ahead, perform the CAMERA POSITION SETTING operation.
      Fig 77: System Check Screen - Verify Mode
      G04947451Courtesy of © TOYOTA, LICENSE AGREEMENT TMS1002
    2. Selecting "NEXT" will move to the STEERING ANGLE SETTING screen, and complete the adjustment

      HINT:

      The update is not completed until the "NEXT" key is pressed.

  63. SET STEERING ANGLE SETTING 
    1. Perform the STEERING CENTER MEMORIZE operation.
      1. Check that the steering wheel is centered, and then press "STEERING CENTER MEMORIZE"
        Fig 78: System Check Screen - Set Steering Angle Setting
        G04947452Courtesy of © TOYOTA, LICENSE AGREEMENT TMS1002

        HINT:

        • When performing removal and installation, or replacement of the television camera, steering angle adjustment is not required. Press "OK" on the steering angle setting screen. However, the current steering angle is automatically stored as the steering angle neutral point when the steering angle setting screen is displayed. Make sure that the steering wheel is centered before changing the display to the steering angle setting screen.
        • Even when storing the steering angle neutral point only, the system cannot store it unless the operation is completed by following the prompts from "NEXT" to "OK".
    2. Perform the MAX STEERING ANGLE MEMORIZE operation.
      1. After adjusting the steering angle neutral point, turn the steering wheel to the left and right lock positions and press "MAX STEERING ANGLE MEMORIZE" The maximum steering angle is then stored

        HINT

        The key "OK" does not respond until the system stores the steering angle neutral point and maximum steering angle.

  64. FINISH DIAGNOSIS MODE 
    1. Turn the power switch OFF.
  65. MAYDAY ECU INITIALIZATION 

    HINT

    This procedure is for switching a new Mayday ECU from the Factory Mode into Demo Mode.

    1. Turn the power switch from OFF to ON (IG) (engine does not have to be running)
    2. The Mayday ECU will perform the Factory Mode Start Sequence for approximately 30 seconds.

      HINT

      • In Factory Mode, for each power switch cycle OFF to ON (IG), or after checking or clearing DTCs, the ECU will perform a start sequence that includes a Japanese prompt and flashing LEDs (approximately 30 seconds) Then the LEDs will turn off. Do not push any buttons during this start sequence
      • If there is a DTC detected during this Factory Mode Start Sequence, after the start sequence, the red LED will remain on and a Japanese prompt will repeat 5 times Do not press any buttons during these prompts.
    3. BUTTON SEQUENCE

      While pressing and holding the VOL+ button, press and release the PHONE button 5 times within 15 seconds, then release the VOL+ button. When switched to Demo Mode, each LED will flash one time then turn off (approximately 5 seconds).

    4. CONFIRMATION.

      Confirm Demo Mode by pressing the SERVICES button and listening for the demo prompt "Hello and welcome to LEXUS Link..." (the power switch must be ON (IG) for the SERVICES button to function) Additionally, after each power switch cycle OFF to ON (IG), the LEDs will each flash one time each. This start sequence takes approximately 5 seconds If Demo Mode is not confirmed, repeat the initialization procedure

      HINT.

      • Before troubleshooting a DTC, attempt to initialize the ECU into Demo Mode with the button sequence. Then access DTCs and troubleshoot the ECU in Demo Mode If necessary, DTCs can still be accessed in Factory Mode However, the 30 second Factory Mode Start Sequence (and the Japanese prompt, which will repeat 5 times if a DTC is set) will occur after each power switch cycle OFF to ON (IG), and after each DTC check or clear. Do not press any buttons during this start sequence.
      • A red LED continuously on in any mode indicates that there is a current DTC set. Refer to the DTC chart.
      • Do not push any buttons during any start sequences (LED flashing or voice prompts).
  66. MAYDAY ECU REGISTRATION / ENROLLMENT 
    1. Turn the power switch ON (IG) and wait for the 5 second LED flash start sequence Press the SERVICES button when the Mayday ECU is set normally and confirm that the following demo message is provided

      "Hello and welcome to LEXUS Link..." If the message is not provided, perform the "MAYDAY ECU INITIALIZATION BUTTON SEQUENCE" again.

    2. As the message states, press the SERVICES button again during the prompt to connect to the LEXUS Link call center

      HINT:

      Usually this call will connect within 15 to 30 seconds. However, it may take several minutes depending on cellular service in the area. A progression tone (i.e., beep) will be heard every 5 seconds to indicate that the connection attempt is in progress.

    3. A LEXUS Link call center advisor will answer and instruct the technician on how to register/enroll the new Mayday ECU. The ESN, STID and VIN may be required at this time

      HINT

      • If the LEXUS Link call center cannot be reached after several attempts using the SERVICES button, or a cell tower message is heard, such as "Welcome to Verizon Wireless, your phone is not active at this time...", call the LEXUS Link call center by pushing the EMERGENCY button.
      • The LED flash start sequence (approximately 5 seconds) after the power switch is cycled or after checking/clearing DTCs remains present after enrollment A green LED continuously on after this sequence indicates that the LEXUS Link System is activity enrolled
  67. MAYDAY BATTERY REGISTRATION 

    HINT:

    • This procedure is required to register a new Mayday battery and clear DTC 6-1. This procedure matches the new Mayday battery with the new or used ECU
    • A new Mayday ECU always requires a new Mayday battery (used Mayday batteries should not be reused in a new ECU).
    • If the new replacement ECU is packaged and already connected to the new Mayday battery when it arrives from the factory, and current DTC 6-1 is not set, do not perform the new Mayday battery registration (the battery is already registered to the ECU that it is connected to).
    1. Turn the power switch from OFF to ON (IG) and wait for the start up sequence of LED flashing to complete. Do not press any buttons during this start up sequence

      (Note that Demo Mode and active enrolled ECUs have an approximately 5 second LED flashing start sequence. Factory Mode has approximately 30 seconds of LED flashing with a Japanese voice prompt Also note if a current DTC is set in Factory Mode after this start sequence This can be confirmed if the red LED remains on and an additional Japanese prompt repeats 5 times.)

    2. BUTTON SEQUENCE

      Press and hold the PTT button while completing the following sequence of button presses.

      VOL+, VOL+, VOL-, VOL-, VOL+, VOL+, VOL-, VOL-, VOL+, VOL+, VOL-, VOL-

      Release all buttons. This button press sequence should be performed within 15 seconds.

    3. The system will then perform the same start sequence as described above After this start sequence completes, cycle the power switch to OFF then ON (IG). Wait for the start sequence to complete. The new Mayday battery is now registered to the Mayday ECU and DTC 6-1 should be cleared

      HINT:

      The Mayday battery registration can be done in any mode (Factory Mode, Demo Mode or active enrolled)

  68. MAYDAY BATTERY CONFIRMATION 
    1. After Mayday battery replacement and completion of the "MAYDAY BATTERY REGISTRATION BUTTON SEQUENCE", turn the power switch OFF and ON (IG), and wait for the start sequence described in the "MAYDAY BATTERY REGISTRATION" Then check that current DTC 6-1 is cleared
      NOTE: If the "MAYDAY BATTERY REGISTRATION BUTTON SEQUENCE" has not been completed correctly, current DTC 6-1 will continue to be detected even if the Mayday battery is replaced with a new one. In this case, check to be sure the old battery is removed and the new battery is installed. Then perform the "MAYDAY BATTERY REGISTRATION BUTTON SEQUENCE" again.
  69. INITIALIZE POWER WINDOW CONTROL SYSTEM (POWER WINDOW REGULATOR MOTOR (ALL DOORS)) 
    CAUTION: When the power window regulator motor is reinstalled or replaced, the power window control system must be initialized. Functions such as the AUTO UP/DOWN, jam protection and key-off do not operate if the initialization is not performed.

    HINT

    When the battery is replaced, it is not necessary to initialize the power window regulator motor.

    NOTE:
    • When the power window regulator motor assembly is replaced, DTC B2313 is output. Clear the DTC after the initialization.
    • When performing initialization, do not perform any other procedures.
    • After a door glass or a door glass run has been replaced, the jam protection function may operate unexpectedly when the AUTO UP function is used, due to detection of the different operation learned value of the door glass movement speed. In such cases, the AUTO UP function can be resumed by repeating the following operation at least 5 times:
      1. Open the power window by fully pushing down the switch.
      2. Close the power window by fully pulling up the power window switch and holding it at the AUTO UP position.
    • If the initialization is not completed properly, the LIN communication system may have a malfunction.
    1. Initialization procedures when replacing the power window regulator motor with new one
      1. Connect the battery and turn the power switch ON (IG). (At this time, the LED on the power window regulator switch blinks to indicate that it is ready for initialization.)
      2. Fully open the window by fully pushing the power window regulator switch, and hold the switch for 1 second or more after the window is fully opened
      3. Fully close the power window by fully pulling the power window regulator switch, and hold the switch for 1 second or more after the window is fully closed to reset the glass position. The LED on the power window regulator switch changes from blinking to illuminated to indicate that the initialization is complete.
    2. Initialization procedures when removing/installing the power window regulator motor assembly
      1. Connect the battery and turn the power switch ON (IG).
      2. Fully close the power window by fully pulling the power window regulator switch, and hold the switch for 6 seconds or more after the window is fully closed. (If the power window does not move or stops halfway even when the switch is fully pulled, release the switch and fully pull it again.)
      3. Fully open the window by pushing down the power window regulator switch, and hold the switch for 1 second or more after the window is fully opened
      4. Release the power window regulator switch Then fully push and hold the switch 4 seconds or more
      5. Fully close the power window by fully pulling the power window regulator switch, and hold the switch 1 second or more after the window is fully closed to reset the glass position the initialization is complete
    3. Initialization procedures when the power window does not fully open
      1. Connect the battery and turn the power switch ON (IG).
      2. Fully close the power window by fully pulling the power window regulator switch, and hold the switch for 6 seconds or more after the window is fully closed. (If the power window does not move or stops halfway even when the switch is fully pulled, release the switch and fully pull it again.)
      3. Fully open the window by pushing down the power window regulator switch, and hold the switch for 1 second or more after the window is fully opened.
      4. Release the power window regulator switch. Then fully push and hold the switch 4 seconds or more
      5. Fully close the power window by fully pulling the power window regulator switch, and hold the switch 1 second or more after the window is fully closed to reset the glass position the initialization is complete.
  70. INITIALIZE FRONT POWER SEAT CONTROL SYSTEM 
    NOTE: The position sensor initialization must be performed if one of the following occurs.
    • Front power seat switch (seat ECU) is replaced.
    • Front seat adjuster is replaced.
    • Initialization cancel operation is performed.
    • Power seat motor for the driver seat is operated when D/C CUT1 fuse or D MPX-B 1 fuse has an open circuit.
    • Power seat motor for the front passenger seat is operated when D/C CUT2 fuse or D MPX-B fuse has an open circuit.
    • Power seat motor inspection is performed.
    1. Initialization cancel operation for driver seat
      1. Turn the power switch ON (IG)
      2. Press the power seat switch front vertical switch downward 3 times.*1
      3. Within 10 seconds of the above operation, begin the following operation: perform the rearward reclining operation and upward lifter operation simultaneously for 10 seconds or more (buzzer sounds for 0.5 seconds). This will cancel the initialization.*2
        Fig 79: Identifying Power Driver Seat Switch Position
        G05770274Courtesy of © TOYOTA, LICENSE AGREEMENT TMS1002
    2. Initialization operation for driver seat
      1. Perform the initialization cancel operation.
      2. Use the slide operation to move the front power seat to the rearmost lock position *1

        HINT:

        • While performing the slide operation, the buzzer sounds.
        • After the slide operation initialization is complete, the headrest and cushion extender initialization occurs automatically. At this time, the headrest will move to the uppermost position, and the cushion extender will move rearward.
      3. Use the reclining operation to move the seatback to the foremost lock position (buzzer sounds for 0.5 seconds).*2
        Fig 80: Identifying Power Driver Seat Switch Position
        G05770275Courtesy of © TOYOTA, LICENSE AGREEMENT TMS1002
      4. Operate the power seat switch and check that the head restraint moves to the lowermost position.*1
      5. Operate the power seat switch and check that the seat slides forward and rearward and that the beeping sound is not emitted.*2

        HINT.

        After performing all of the procedures above, if the buzzer sounds while performing a manual operation, the initialization was not completed properly. Repeat all of the above procedures.

        Fig 81: Identifying Power Driver Seat Switch Position
        G04952415Courtesy of © TOYOTA, LICENSE AGREEMENT TMS1002
    3. Initialization cancel operation for passenger seat
      1. Turn the power switch ON (IG).
      2. Press the power seat switch front vertical switch downward 3 times.*1
      3. Within 10 seconds of the above operation, begin the following operation: perform the rearward reclining operation and upward lifter operation simultaneously for 10 seconds or more (buzzer sounds for 0.5 seconds). This will cancel the initialization.*2
        Fig 82: Identifying Power Passenger Seat Switch Position
        G05770277Courtesy of © TOYOTA, LICENSE AGREEMENT TMS1002
    4. Initialization operation for passenger seat

      HINT.

      *. for Ottoman

      1. Perform the initialization cancel operation.
      2. Use the slide operation to move the front power seat to the rearmost lock position.*1
        Fig 83: Identifying Power Passenger Seat Switch Position
        G05770278Courtesy of © TOYOTA, LICENSE AGREEMENT TMS1002

        HINT

        • While performing the slide operation, the buzzer sounds.
        • After the slide operation initialization is complete, the headrest and lifter initialization occurs automatically. At this time, the headrest will move to the lowermost position, and the lifter will move either upward or downward
      3. Use the reclining operation to move the seatback to the foremost lock position (buzzer sounds for 0.5 seconds) *2
      4. Operate the power seat switch and check that the head restraint moves to the uppermost position *1
      5. Operate the power seat switch and check that the seat slides forward and rearward and that the beeping sound is not emitted.*2

        HINT:

        • After performing all of the procedures above, if the buzzer sounds while performing a manual operation, perform the rear seat initialization*.
        • After performing all of the procedures above, if the buzzer sounds while performing a manual operation, the initialization was not completed properly. Repeat all of the above procedures.
          Fig 84: Identifying Power Passenger Seat Switch Position
          G04952418Courtesy of © TOYOTA, LICENSE AGREEMENT TMS1002
  71. REAR POWER SEAT INITIALIZATION 
    NOTE: The position sensor initialization must be performed if one of the following occurs.
    • Position control ECU is replaced.
    • Rear seat adjuster is replaced.
    • Initialization cancel operation is performed.
    • Power seat motor for the rear right side seat is operated when D/C CUT1 fuse or D MPX-B 1 fuse has an open circuit.
    • Power seat motor for the rear left side seat is operated when D/C CUT2 fuse or RR MPX-B 2 fuse has an open circuit.
    • Power seat motor inspection is performed.

    HINT:

    The initialization is only performed for the seat selected with the left / right selection switch.

    1. Initialization cancel operation
      1. Turn the power switch ON (IG).
      2. Press the rear power seat switch upper lumbar switch rearward 3 times.
        Fig 85: Identifying Rear Power Seat Switch Position
        G04952505Courtesy of © TOYOTA, LICENSE AGREEMENT TMS1002
      3. Within 10 seconds of the above operation, begin the following operation: perform the downward headrest operation and forward slide operation simultaneously for 10 seconds or more. This will cancel the initialization (buzzer sounds for 0.5 seconds).
        Fig 86: Identifying Rear Power Seat Switch Position
        G04952506Courtesy of © TOYOTA, LICENSE AGREEMENT TMS1002
    2. Initialization operation

      HINT:

      * for Ottoman

      1. Perform the initialization cancel operation.
      2. Use the slide operation to move the rear power seat to the rearmost lock position.

        HINT:

        While performing the slide operation, the buzzer sounds.

        Fig 87: Identifying Rear Power Seat Rearmost Lock Position
        G04952507Courtesy of © TOYOTA, LICENSE AGREEMENT TMS1002
      3. Use the reclining* operation to move the rear power seat to the rearmost lock position (buzzer sounds for 0.1 seconds).
        Fig 88: Identifying Rear Power Seat Rearmost Lock Position
        G04952508Courtesy of © TOYOTA, LICENSE AGREEMENT TMS1002
      4. Use the Ottoman* operation to move the rear power seat to the lowermost lock position (buzzer sounds for 0.1 seconds).
        Fig 89: Identifying Rear Power Seat Lowermost Lock Position
        G04952509Courtesy of © TOYOTA, LICENSE AGREEMENT TMS1002
      5. Use the upper lumbar operation to move the upper seatback to the rearmost lock position (buzzer sounds for 0.5 seconds). The initialization is complete.
      6. Operate the power seat switch and check that the seat slides forward and rearward and that the beeping sound is not emitted.

        HINT

        Fig 90: Identifying Upper Seatback Rearmost Lock Position
        G04952510Courtesy of © TOYOTA, LICENSE AGREEMENT TMS1002
        • After performing all of the procedures above, if the buzzer sounds while performing a manual operation, perform the front power seat initialization for the front passenger seat*.
        • After performing all of the procedures above, if the buzzer sounds while performing a manual operation, the initialization was not completed properly Repeat all of the above procedures.
  72. RESET POWER TRUNK LID SYSTEM 
    NOTE: Perform initialization of the power trunk lid system (power trunk lid control ECU initialization) if one of the following is performed: 1) The negative (-) battery cable is disconnected; 2) a wire harness, the luggage closer motor (power trunk lid control ECU) or luggage compartment door closer is replaced or removed/installed; or 3) the RR MPX-B1 fuse is replaced or removed/installed. If initialization is not performed, the power trunk lid system will not operate.
    1. Completely close the luggage compartment door by hand once.

      HINT:

      • It is not necessary to perform initialization if the negative (-) battery cable is disconnected while the luggage compartment door is closed.
      • If the power trunk lid system does not operate and/or the luggage compartment door does not open, disconnect the negative (-) battery cable. Then wait 10 seconds, reconnect the cable and perform initialization of the power trunk lid system again
  73. RESET REAR DOOR SUNSHADE SYSTEM 
    NOTE: The rear curtain position reset operation must be performed when one of the following occurs: 1) battery removal and installation; 2) ECU reset; or 3) jam protection related detachment.
    1. Turn the power switch ON (IG).
    2. Push the front or rear switch's rear door sunshade switch.

      HINT:

      The motor must be moved in the lowering direction.

    3. Push the front or rear switch's rear door sunshade switch

      HINT:

      Make sure that the rear curtain raises

  74. RESET REAR DOOR SUNSHADE POSITION AFTER DETACHMENT 
    NOTE:
    • If the curtain is operating and detaches as a result of the jam protection function, the motor must be operated in the raise direction in order to return it to normal.
    • If the motor is not returned to normal, the cover may not close properly during the lowering operation.
    1. After the rear curtain stops at the fully raised position, continue holding the switch for 5 seconds. Stopped → Raising → Stopped at fully raised position → 5 seconds.
  75. INITIALIZE SLIDING ROOF DRIVE GEAR 
    NOTE:
    • When the sliding roof glass is replaced or removed and installed, or the drive gear assembly is replaced, the sliding roof drive gear requires initialization (pulse sensor initial position setting), as the glass position cannot be determined. If initialization is not performed, the AUTO slide open and close / tilt up and down function may not operate, or the sliding roof may move in reverse or become misaligned.
    • During initialization, do not apply a physical shock, such as opening/closing a door or driving the vehicle at 5 km/h (3.10 mph) or more, to the vehicle and do not perform the following electrical operations:
      1. Starting the hybrid control system (cranking the engine)
      2. Turning the power switch from ON (IG) to OFF
      3. Operating the power window switches
      4. Operating the window defogger switch
      5. Operating the blower switch
      6. Locking/Unlocking the door
      7. Operating the headlight dimmer switch

    HINT.

    When the cable is disconnected and reconnected to the negative (-) battery terminal or the drive gear connector is disconnected and reconnected, the sliding roof drive gear (pulse sensor initial position setting) initialization is not necessary.

    1. Perform initialization according to the table below.
      SLIDING ROOF PROCEDURES

      Condition of Sliding Roof Proceed to
      AUTO slide open and close / tilt up and down function does not operate Procedure A
      Sliding roof moves in reverse direction during tilt down operation Procedure B
      Sliding roof moves in reverse direction during slide close operation Procedure C
      1. Procedure A
        1. Turn the power switch ON (IG)
        2. Close the sliding roof to the fully closed position
        3. Press and hold the TILT UP switch to perform the following operations: tilt up → approximately 1 second pause → tilt down → slide open → slide close.
          NOTE: Make sure not to release the switch during the initialization. If the switch is released, perform the initialization again.
        4. The initialization is completed.
      2. Procedure B
        1. Turn the power switch ON (IG).
        2. Press the TILT UP switch until the sliding roof stops

          HINT:

          If the glass becomes misaligned or does not fully tilt up, perform the following operations.

          1. Operate the SLIDE CLOSE switch until the sliding roof stops moving.
          2. Operate the TILT UP switch until the sliding roof stops moving, then proceed to the next step
        3. Release the switch.
        4. Press the TILT UP switch for 10 seconds or more to perform the following operations: tilt up → approximately 1 second pause → tilt down → slide open → slide close.
          NOTE: Make sure not to release the switch during the initialization. If the switch is released, perform the initialization again.
        5. The initialization is completed.
      3. Procedure C
        1. Turn the power switch ON (IG).
        2. Press and hold the SLIDE CLOSE switch to perform the following operations: slide close → move in reverse direction → 10 second pause → slide close.
          NOTE: Make sure not to release the switch during the initialization. If the switch is released, perform the initialization again.
        3. After the sliding roof stops in the fully closed position, release the switch.
        4. Perform procedure A.


(2007/08-)

  1. INITIALIZE DRIVING SUPPORT ECU 
    1. Turn the power switch from OFF to ON (IG) and back to OFF.

      Procedures necessary when battery terminal is disconnected / reconnected 

      INITIALIZE PROCEDURES CHART

      Necessary Procedures Procedure Details Effects / Inoperative Functions When Necessary Procedures are not Performed Notes
      Navigation system (for DVD) initialization After turning the power switch ON (IG), insert the map disc Navigation system (for DVD) If the map disc is inside when disconnecting the cable from the battery terminal, this procedure is not necessary
      Correction of steering angle neutral point Fully turn the steering wheel to the right and left Parking guidance function -
      Rear curtain position reset operation
      1. Turn the power switch ON (IG)
      2. Push the front or rear switch's rear door sunshade switch twice
      Rear curtain -
      Reset power trunk lid system Completely close the luggage compartment door by hand once Power trunk lid function It is not necessary to perform initialization if the negative (-) battery cable is disconnected while the luggage compartment door is closed
      NOTE: After the power switch is turned OFF, the HOD navigation system requires approximately 6 minutes to record various types of memory and settings. As a result, after turning the power switch OFF, wait 6 minutes or more before disconnecting the cable from the negative (-) battery terminal.

      Procedures necessary when ECU or other parts are replaced 

      INITIALIZE PROCEDURES CHART

      Replacement Part Necessary Procedures Effects / Inoperative Functions When Necessary Procedures are not Performed Notes
      Hybrid vehicle control ECU
      1. Perform clutch oil pressure value learning initialization
      2. Initialize radar cruise control system
      • Large shift shock
      • Radar cruise control system
      • Perform initialization with power switch ON (READY), shift lever on P and vehicle stopped
      • During learning operation, "T/M LEARNING" appears on meter's multi-information display
      Hybrid vehicle transmission assembly Perform clutch oil pressure value learning initialization Large shift shock
      • Perform initialization with power switch ON (READY), shift lever on P and vehicle stopped
      • During learning operation, "T/M LEARNING" appears on meter's multi-information display
      • Suspension control ECU
      • Height control sensor
      Vehicle height offset calibration Vehicle height sensor data may be affected due to installation position, or vehicle height recognition may be erroneous May also occur when vehicle height is uneven due to deterioration over time
      Tire pressure warning ECU
      1. Register transmitter IDs
      2. Initialize tire pressure warning system
      • When DTC detection conditions of "transmitter ID not received" DTC is met, TPMS indicator blinks for 1 minute, and then illuminates
      • Tire pressure monitoring function
      -
      Tire pressure warning valve and transmitter
      1. Register transmitter IDs
      2. Initialize tire pressure warning system
      • When DTC detection conditions of "transmitter ID not received" DTC is met, TPMS indicator blinks for 1 minute, and then illuminates
      • Tire pressure monitoring function of replaced wheel
      Even if only one wheel is replaced, IDs for all 5 wheels must be registered
      Skid control ECU
      • Initialize linear solenoid valve and perform calibration
      • Perform yaw rate and acceleration sensor zero point calibration
      • Brake warning light / yellow (minor malfunction) illumination
      • Brake warning light / red (malfunction)
      • ABS warning light illumination
      • VSC warning display of multi-information display
      • Master warning light illumination
      -
      Brake actuator
      1. Bleed air
      2. Clear stored value of linear solenoid valve and calibration data
      3. Initialize linear solenoid valve and perform calibration
      Brake does not operate properly -
      • Brake pedal stroke sensor
      • Brake pedal
      1. Inspect and adjust brake pedal height
      2. Adjust brake pedal stroke sensor
      3. Clear stored value of linear solenoid valve and calibration data
      4. Initialize linear solenoid valve and perform calibration
      • Brake warning light / yellow (minor malfunction) illumination
      • Brake warning light / red (malfunction)
      • ABS warning light illumination
      • Master warning light illumination
      -
      Yaw rate and acceleration sensor
      1. Clear zero point calibration data
      2. Perform yaw rate and acceleration sensor zero point calibration
      • Brake warning light / yellow (minor malfunction) illumination
      • Brake warning light / red (malfunction)
      • ABS warning light illumination
      • VSC warning display of multi-information display
      • Master warning light illumination
      • VSC control is prohibited or operation is incorrect
      • VGRS system
      -
      Electric parking brake ECU
      • Reset memory
      • Acquire tension sensor zero point
      Electric parking brake does not operate normally -
      Electric parking brake actuator
      • Reset memory
      • Acquire tension sensor zero point
      • Parking brake bedding
      • Electric parking brake does not operate normally
      • Parking brake performance may not be normal
      -
      • Rear disc
      • Parking brake shoe
      Parking brake bedding Parking brake performance may not be normal -
      • Steering control ECU
      • Steering column
      • Steering intermediate shaft
      Actuator angle neutral point calibration and initialization Steering wheel off-center -
      Power steering gear assembly
      • Actuator angle neutral point calibration and initialization
      • Rotation angle sensor value initialization
      • Torque sensor zero point calibration
      • VGRS system calibration procedure
      • Steering wheel off-center
      • Difference in amount of steering assist between left and right
      -
      Power steering ECU
      • Rotation angle sensor value initialization
      • Torque sensor zero point calibration
      • Steering wheel off-center
      • Difference in amount of steering assist between left and right
      -
      Occupant classification ECU
      • Perform zero point calibration
      • Registration ECU data
      • Occupant classification system
      • Passenger airbag ON/OFF indicator
      • Airbag system (Front passenger side)
      • Seat belt warning system (Front passenger side)
      -
      • ID code box
      • Steering lock
      • ECU
      • ECM
      • Key
      • Certification ECU
      Registration
      • Wireless door lock operation
      • Entry operation
      • Engine starting
      • Steering unlock
      -
      Front millimeter wave radar sensor Adjust front millimeter wave radar sensor DTC C1A11 or C1A14 is output -
      Steering angle sensor connector Correction of steering angle neutral point Parking guidance function -
      Television camera Television camera optical axis (Camera position setting) Vehicle width extension lines and expected course are deviated -
      Parking assist ECU
      • Correction of steering angle neutral point
      • Store left and right maximum steering angle
      • Television camera optical axis (Camera position setting)
      • Vehicle width extension lines and expected course are deviated
      • Parking assist function
      -
      Mayday ECU
      • Mayday ECU initialization
      • Mayday ECU registration / enrollment
      LEXUS link system -
      Mayday battery
      • Mayday battery registration
      • Mayday battery confirmation
      DTC 6-1 remains output -
      Power window regulator motor (All doors) Initialize power window control system
      • AUTO UP / DOWN
      • Jam protection
      • Key-off
      When the battery is replaced, it is not necessary to initialize the power window regulator motor
      Inner rear view mirror
      • Compass zone setting
      • Compass calibration
      Direction is not displayed correctly -
      • Front power seat switch (Seat ECU)
      • Front seat adjuster
      • Position control ECU
      • Rear seat adjuster
      Position sensor initialization
      • During manual operation, buzzer sounds
      • Memory function does not operate
      • Interference stop control does not operate normally
      • Linked control does not operate normally
      -
      • RR MPX-B1 fuse
      • Luggage closer motor assembly
      • Luggage door closer assembly
      Reset power trunk lid system Power trunk lid function -
      • Rear door ECU LH
      • Rear door ECU RH
      Rear curtain position reset operation Rear curtain -
      • Sliding roof drive gear (Sliding roof ECU)
      • Sliding roof housing
      • Sliding roof glass
      Initialize sliding roof system
      • Auto operation
      • Jam protection function
      • Sliding roof operation after power switch is turned OFF
      • Wireless door lock control function
      • Key-linked operation function (Driver's door only)
      • Entry lock switch-linked operation
      -
  2. RESET MEMORY 
    NOTE:
    • If either the hybrid vehicle transmission assembly or hybrid vehicle control ECU is replaced, initialize the learned value of RESET MEMORY.
    • Wait 1 minute after disconnecting the negative battery terminal before performing RESET MEMORY.
    • The RESET MEMORY can be performed only by using the Intelligent tester or Techstream.

    HINT.

    Disconnecting the negative battery terminal does not initialize (clear) the learned value.

    1. Connect the Intelligent tester or Techstream to the DLC3.
    2. Turn the power switch on (READY) and turn the Intelligent tester or Techstream on.
      NOTE: Check that the shift lever is in the P position and turn the power switch on (READY).
    3. Select the following menu items:
      1. Intelligent tester - Select. DIAGNOSIS / OBD/ MOBD / HV ECU / DATA LIST Read the data list before performing RESET MEMORY

        Check Item (Intelligent tester) 

        DATA LIST

        Item Specified Condition
        +B 9 to 16 V
        WOUT CTRL POWER 1000 W or more
        T/M OIL TEMP 10 to 100°C (50 to 212°F)
        NOTE:
        • Do not depress the accelerator pedal during RESET MEMORY.
        • Do not move the shift lever from the P position.
        • If the specified conditions above are not satisfied, warm up the hybrid system with the power switch on (READY) until each item meets the specified condition.
      2. Techstream - Select. Powertrain / Hybrid Control / Data List. Read the data list before performing Reset Memory.

        Check Item (Techstream) 

        DATA LIST

        Item Specified Condition
        +B 9 to 16 V
        WOUT Control Power 1000 W or more
        T/M Oil Temperature 10 to 100°C(50 to 212°F)
        NOTE:
        • Do not depress the accelerator pedal during Reset Memory.
        • Do not move the shift lever from the P position.
        • If the specified conditions above are not satisfied, warm up the hybrid system with the power switch on (READY) until each item meets the specified condition.
    4. Select the following menu items:
      1. Intelligent tester - Select: DIAGNOSIS / OBD/ MOBD / HV ECU / TRANSMISSION / RESET MEMORY.
        CAUTION: After performing RESET MEMORY, be sure to perform a road test described earlier.
        NOTE: During RESET MEMORY, do not turn off either the power switch or the intelligent tester.

        HINT.

        • Approximately 1 minute is required to complete RESET MEMORY.
        • The ECU is learned by performing a road test.
      2. Techstream - Select: Powertrain / Hybrid Control / Reset Memory
        CAUTION: After performing Reset Memory, be sure to perform a road test described earlier.
        NOTE: During Reset Memory, do not turn off either the power switch or the Techstream.

        HINT:

        • Approximately 1 minute is required to complete Reset Memory.
        • The ECU is learned by performing a road test.
  3. VEHICLE HEIGHT OFFSET CALIBRATION 
    NOTE:
    • Make sure that the pressure of the tires is normal.
    • Make sure that the vehicle is empty.
    • Make sure that the parking brake is released and that the shift lever is on N.
    1. PERFORM VEHICLE HEIGHT INSPECTION 
      1. Adjust the pressure of the tires
      2. Stabilize the suspension by releasing the parking brake and bouncing the corners of the vehicle up and down.
      3. Turn the power switch OFF.
      4. Connect the Intelligent tester or Techstream to the DLC3.
      5. Turn the power switch ON (READY) and the tester ON.
      6. Enter the following menus:
        1. Intelligent tester - Select: DIAGNOSIS / OBD/MOBD / CHASSIS / AIR SUSPENSION / DATA LIST.
        2. Techstream - Select: Chassis / Air suspension / Data List.
      7. Press the height control switch and adjust the vehicle height to "HEIGHT HIGH".
      8. Press the height control switch and return the vehicle height to NORMAL.
      9. Using the DATA LIST, confirm that the vehicle height control operation is complete.
        1. Intelligent tester

          AIR SUSPENSION 

          AIR SUSPENSION REFERENCE

          Tester Display Measurement item/Range Normal Condition Diagnosis Note
          HEIGHT CTRL Vehicle height control condition reading / ON or OFF ON Vehicle height control is operating
          OFF Vehicle height control is not operating
          -
        2. Techstream

          Air suspension 

          AIR SUSPENSION REFERENCE

          Tester Display Measurement Item/Range Normal Condition Diagnosis Note
          Height Control Vehicle height control condition reading / ON or OFF ON Vehicle height control is operating
          OFF Vehicle height control is not operating
          -
      10. Turn the power switch OFF.
      11. Move the shift lever to N and move the vehicle forward and rearward.
      12. Turn the power switch ON (IG).
      13. Using the Intelligent tester or Techstream, read the DATA LIST.
        1. Intelligent tester:

          Enter the following menus. DIAGNOSIS / OBD/ MOBD / CHASSIS / AIR SUSPENSION / DATA LIST. Then read and write the values for "ADJUST" and "AFTER ADJUST" for each wheel.

          AIR SUSPENSION 

          AIR SUSPENSION REFERENCE

          Tester Display Measurement Item/Range Normal Condition Diagnosis Note
          FR ADJUST Display of vehicle height offset recorded value of front right wheel / mm -3276 8 mm (-129 in)
          max: 3276 7 mm (129 in)
          - -
          FL ADJUST Display of vehicle height offset recorded value of front left wheel / mm -3276 8 mm (-129 in)
          max: 3276 7 mm (129 in)
          - -
          RR ADJUST Display of vehicle height offset recorded value of rear right wheel / mm -3276 8 mm (-129 in)
          max: 3276 7 mm (129 in)
          - -
          RL ADJUST Display of vehicle height offset recorded value of rear left wheel / mm -3276 8 mm (-129 in)
          max: 3276 7 mm (129 in)
          - -
          FR AFTER ADJUST Display of after-calibration vehicle height value of front right wheel / mm -3276 8 mm (-129 in)
          max: 3276 7 mm (129 in)
          When vehicle height is NORMAL 0 +/-20 mm (0 +/-0 787 in)
          When vehicle height is changing Varies based on vehicle height After HEIGHT HIGH adjustment 20 +/-20 mm (0 787 +/-0 787 in)
          -
          FL AFTER ADJUST Display of after-calibration vehicle height value of front left wheel / mm -3276 8 mm (-129 in)
          max: 3276 7 mm (129 in)
          When vehicle height is NORMAL 0 +/-20 mm (0 +/-0 787 in)
          When vehicle height is changing Varies based on vehicle height
          After HEIGHT HIGH adjustment 20 +/-20 mm (0 787 +/-0 787 in)
          -
          RR AFTER ADJUST Display of after-calibration vehicle height value of rear right wheel / mm -3276 8 mm (-129 in)
          max: 3276 7 mm (129 in)
          When vehicle height is NORMAL 0 +/-20 mm (0 +/-0 787 in)
          When vehicle height is changing Varies based on vehicle height
          After HEIGHT HIGH adjustment 20 +/-20 mm (0 787 +/-0 787 in)
          -
          RL AFTER ADJUST Display of after-calibration vehicle height value of rear left wheel / mm -3276 8 mm (-129 in)
          max: 3276 7 mm (129 in)
          When vehicle height is NORMAL 0 +/-20 mm (0 +/-0 787 in)
          When vehicle height is changing Vanes based on vehicle height
          After HEIGHT HIGH adjustment 20 +/-20 mm (0 787 +/-0 787 in)
          -
        2. Techstream:

          Enter the following menus: Chassis / Air suspension / Data List Then read and write the values for "After Height Adjust" and "Height Adjust" for each wheel.

          Air suspension 

          AIR SUSPENSION REFERENCE

          Tester Display Measurement Item/Range Normal Condition Diagnosis Note
          FR Height Adjust Display of vehicle height offset recorded value of front right wheel / mm -3276 8 mm (-129 in)
          max: 3276 7 mm (129 in)
          - -
          FL Height Adjust Display of vehicle height offset recorded value of front left wheel / mm -3276 8 mm (-129 in)
          max: 3276 7 mm (129 in)
          - -
          RR Height Adjust Display of vehicle height offset recorded value of rear right wheel / mm -3276 8 mm (-129 in)
          max: 3276 7 mm (129 in)
          - -
          RL Height Adjust Display of vehicle height offset recorded value of rear left wheel / mm -3276 8 mm (-129 in)
          max: 3276 7 mm (129 in)
          - -
          FR After Height Adjust Display of after-calibration vehicle height value of front right wheel / mm -3276 8 mm (-129 in)
          max: 3276 7 mm (129 in)
          When vehicle height is NORMAL 0 +/-20 mm (0 +/-0 787 in)
          When vehicle height is changing Varies based on vehicle height
          After HEIGHT HIGH adjustment 20 +/-20 mm (0 787 +/-0 787 in)
          -
          FL After Height Adjust Display of after-calibration vehicle height value of front left wheel / mm -3276 8 mm (-129 in)
          max: 3276 7 mm (129 in)
          When vehicle height is NORMAL 0 +/-20 mm (0 +/-0 787 in)
          When vehicle height is changing Varies based on vehicle height
          After HEIGHT HIGH adjustment 20 +/-20 mm (0 787 +/-0 787 in)
          -
          RR After Height Adjust Display of after-calibration vehicle height value of rear right wheel / mm -3276 8 mm (-129 in)
          max: 3276 7 mm (129 in)
          When vehicle height is NORMAL 0 +/-20 mm (0 +/-0 787 in)
          When vehicle height is changing Varies based on vehicle height
          After HEIGHT HIGH adjustment 20 +/-20 mm (0 787 +/-0 787 in)
          -
          RL After Height Adjust Display of after-calibration vehicle height value of rear left wheel / mm -3276 8 mm (-129 in)
          max: 3276 7 mm (129 in)
          When vehicle height is NORMAL 0 +/-20 mm (0 +/-0 787 in)
          When vehicle height is changing Varies based on vehicle height
          After HEIGHT HIGH adjustment 20 +/-20 mm (0 787 +/-0 787 in)
          -
      14. Turn the power switch OFF.
      15. Perform the vehicle height inspection.

        Standard vehicle height 

        VEHICLE HEIGHT SPECIFICATION

        Front (A - B) Rear (C - D)
        146 mm (5.75 in.) 83 mm (3.27 in.)

        Measuring points: 

        A: Ground clearance of front wheel center 

        B: Ground clearance of head center of bolt used to install front No. 1 suspension lower arm to front suspension member 

        C: Ground clearance of rear wheel center 

        D: Ground clearance of pit center of attachment rear suspension arm 

        Fig 1: Checking Vehicle Height
        G05773700Courtesy of © TOYOTA, LICENSE AGREEMENT TMS1002
    2. PERFORM VEHICLE HEIGHT OFFSET CALIBRATION 
      NOTE: The possible vehicle height automatic adjustment value is 20 mm (0.787 in.). If the "ADJUST"*1 or "Height Adjust"*2 value + (Standard value - Measurement value - "AFTER ADJUST"*1 or "After Height Adjust"*2 value) is 20 mm (0.78 in.) or more, first perform the vehicle height adjustment (height control link adjustment).

      HINT.

      • *1: Intelligent tester
      • *2: Techstream
      1. Turn the power switch OFF.
      2. Connect the Intelligent tester or Techstream to the DLC3.
      3. Turn the power switch ON (IG) and the tester ON
      4. Enter the following menus:
        1. Intelligent tester-Select: DIAGNOSIS / OBD/MOBD / CHASSIS / AIR SUSPENSION / HEIGHT OFFSET.
        2. Techstream - Select: Chassis / Air suspension / Utility / Height Offset.
      5. For each wheel, follow the instructions on the tester screen and input the input value to complete the vehicle height offset calibration.

        HINT.

        Input value = Measurement value

      6. Turn the power switch ON (READY).
      7. In the DATA LIST, enter "HEIGHT CTRL" or "Height Control".
      8. Press the height control switch and adjust the vehicle height to "HEIGHT HIGH"
      9. Press the height control switch and return the vehicle height to NORMAL
      10. Using the DATA LIST, confirm that the vehicle height control operation is complete
        1. Intelligent tester

          AIR SUSPENSION 

          AIR SUSPENSION SPECIFICATION

          Tester Display Measurement Item/Range Normal Condition Diagnosis Note
          HEIGHT CTRL Vehicle height control condition reading / ON or OFF ON Vehicle height control is operating
          OFF Vehicle height control is not operating
          -
        2. Techstream

          Air suspension 

          AIR SUSPENSION SPECIFICATION

          Tester Display Measurement Item/Range Normal Condition Diagnosis Note
          Height Control Vehicle height control condition reading / ON or OFF ON Vehicle height control is operating
          OFF Vehicle height control is not operating
          -
      11. Turn the power switch OFF
      12. Perform the vehicle height inspection. Check that the result is within +/-14.3 mm (+/-0.563 in.) of the standard value

      NEXT: END 

  4. DESCRIPTION OF CODE REGISTRATION 

    It is necessary to register the transmitter ID in the tire pressure warning ECU when replacing the tire pressure warning valve and transmitter and/or tire pressure warning ECU.

    Prepare all transmitter ID data before starting registration.

    1. Before registration
      1. In case of tire pressure warning ECU replacement:
        • Read the registered transmitter IDs that are stored in the old ECU using the Techstream and note them down.
        • If reading the stored transmitter IDs is impossible due to malfunctions of components such as the tire pressure warning antenna and receiver, remove the tires from the wheels and check the IDs located on the tire pressure warning valve and transmitters.
      2. In case of tire pressure warning valve and transmitter replacement.
        • Take a note of the 7 digit number (transmitter ID) written on the tire pressure warning valve and transmitter.
          Fig 2: Identifying Tire Pressure Warning Valve And Transmitter
          G05781858Courtesy of © TOYOTA, LICENSE AGREEMENT TMS1002
          NOTE: The transmitter ID is written on the tire pressure warning valve and transmitter. It will be unable to be read after installing the tire pressure warning valve and transmitter the tire and wheel. Therefore, take a note of the transmitter ID before installing the tire pressure warning valve and transmitter.
  5. REGISTER TRANSMITTER ID 
    1. Set the tire pressures of all wheels to the specified values
    2. Turn the power switch off.
    3. Connect the Techstream to the DLC3.
    4. Turn the power switch on (IG) and the Techstream on.
    5. Enter the following menus: Chassis / Tire Pressure Monitor/ Utility / ID Registration.
    6. Perform the procedures displayed on the Techstream.
    7. Confirmation of transmitter ID registration:
      1. Enter the following menus: Chassis / Tire Pressure Monitor/ Data List.
      2. Read the "ID Tire Inflation Pressure" values.
      3. Confirm that the tire pressure data of all tires (including the spare tire) is displayed on the Techstream screen.
        NOTE:
        • It may take up to about 2 or 3 minutes to update the tire pressure data. If the values are not displayed after a few minutes, perform troubleshooting according to the inspection procedure for DTCs C2121/21 to C2125/25
        • If the IDs have not been registered, DTC C2171/71 is set in the tire pressure warning ECU after 3 minutes or more.
        • If normal pressure values are displayed, the IDs have been registered correctly.
        • If the tire pressure values are not displayed after a few minutes, the IDs may be incorrect or the system may have a malfunction.
        • The tire pressure information reception condition can also be confirmed through the multi-information display's tire pressure display screen.
        • After all IDs are registered, DTC C2126/26 is set in the tire pressure warning ECU and the tire pressure warning light blinks for 1 minute and then comes on. When the tire pressure warning ECU successfully receives radio waves from all the transmitters whose IDs are stored in the ECU, DTC C2126/26 is deleted and the tire pressure warning light goes off.
  6. INITIALIZATION PROCEDURE 
    1. Turn the power switch on (IG).
    2. Press and hold the tire pressure warning reset switch for 3 seconds or more so that the tire pressure warning light blinks 3 times.
      Fig 3: Identifying Tire Pressure Warning Light And Reset Switch
      G04944280Courtesy of © TOYOTA, LICENSE AGREEMENT TMS1002
    3. Turn the power switch off.
    4. Connect the Techstream to the DLC3.
    5. Turn the power switch on (IG) and the Techstream on.
    6. Enter the following menus: Chassis / Tire Pressure Monitor / Data List.
    7. Check that the initialization has been completed.
    8. Confirm that the tire pressure data of all tires is displayed on the Techstream screen.
      NOTE:
      • The initialization is normally completed within 2 to 3 minutes.
      • If the initialization has not been completed successfully, DTC C2177/77 is set after a vehicle speed of 8 km/h (5 mph) or more continues for 20 minutes or more.
      • While in test mode, the system will not change to initialization mode even if the tire pressure warning reset switch is pushed.
      • The initialization can be terminated by connecting terminals 13 (TC) and 4 (CG) of the DLC3.
      1. Techstream
        Fig 4: Identifying TC And CG Terminals Of DLC3 Connector
        G05629753Courtesy of © TOYOTA, LICENSE AGREEMENT TMS1002

        Tire Pressure Monitor 

        TIRE PRESSURE MONITOR REFERENCE

        Tester Display Measurement Item/Range Normal Condition Diagnostic Note
        ID1 Tire Inflation Pressure ID1 tire inflation pressure / mm Absolute pressure / 0 kPa (0 kgf/cm2 , 0 psi), Relative pressure / -100 kPa (-1 0 kgf/cm2 , -14 psi)
        max: Absolute pressure / 637 5 kPa (6 5 kgf/cm2 , 92 5 psi), Relative pressure / 537 5 kPa (5 4 kgf/cm2 , 78 psi)
        Actual tire inflation pressure If 0 kPa (0 kgf/cm2 , 0 psi) is displayed for absolute pressure or -100 kPa (-1 0 kgf/cm2 , -14 psi) is displayed for relative pressure, data has not been received *
        ID2 Tire Inflation Pressure ID2 tire inflation pressure / mm Absolute pressure / 0 kPa (0 kgf/cm2 , 0 psi), Relative pressure / -100 kPa (-1 0 kgf/cm2 , -14 psi)
        max: Absolute pressure / 637 5 kPa (6 5 kgf/cm2 , 92 5 psi), Relative pressure/537 5 kPa (5 4 kgf/cm2 , 78 psi)
        Actual tire inflation pressure If 0 kPa (0 kgf/cm2 , 0 psi) is displayed for absolute pressure or -100 kPa (-1 0 kgf/cm2 , -14 psi) is displayed for relative pressure, data has not been received *
        ID3 Tire Inflation Pressure ID3 tire inflation pressure / mm Absolute pressure / 0 kPa (0 kgf/cm2 , 0 psi), Relative pressure / -100 kPa (-1 0 kgf/cm2 , -14 psi)
        max: Absolute pressure / 637 5 kPa (6 5 kgf/cm2 , 92 5 psi), Relative pressure / 537 5 kPa (5 4 kgf/cm2 , 78 psi)
        Actual tire inflation pressure If 0 kPa(0 kgf/cm2 , 0 psi) is displayed for absolute pressure or -100 kPa (-1 0 kgf/cm2 , -14 psi) is displayed for relative pressure, data has not been received *
        ID4 Tire Inflation Pressure ID4 tire inflation pressure / mm Absolute pressure / 0 kPa (0 kgf/cm2 , 0 psi), Relative pressure /-100 kPa (-1 0 kgf/cm2 , -14 psi)
        max: Absolute pressure / 637 5 kPa (6 5 kgf/cm2 , 92 5 psi), Relative pressure / 537 5 kPa (5 4 kgf/cm2 , 78 psi)
        Actual tire inflation pressure If 0 kPa (0 kgf/cm2 , 0 psi) is displayed for absolute pressure or -100 kPa (-1 0 kgf/cm2 , -14 psi) is displayed for relative pressure, data has not been received *
        ID5 Tire Inflation Pressure ID5 tire inflation pressure / mm Absolute pressure / 0 kPa (0 kgf/cm2 , 0 psi), Relative pressure / -100 kPa (-1 0 kgf/cm2 , -14 psi)
        max: Absolute pressure / 637 5 kPa (6 5 kgf/cm2 , 92 5 psi), Relative pressure / 537 5 kPa (5 4 kgf/cm2 , 78 psi)
        Actual tire inflation pressure If 0 kPa (0 kgf/cm2 , 0 psi) is displayed for absolute pressure or -100 kPa (-1 0 kgf/cm2 , -14 psi) is displayed for relative pressure, data has not been received *
        HINT:
        • The initialization is complete when the Data List "ID Tire Inflation Pressure" display shows the correct pressures.
        • *. It may take about 2 or 3 minutes until the values are displayed. If the values are not displayed after a few minutes, perform troubleshooting according to the inspection procedure for DTCs C2121/21 to C2125/25
  7. INITIALIZATION PROCEDURE (MULTI-INFORMATION DISPLAY) 
    1. Turn the power switch on (IG).
    2. Press and hold the tire pressure warning reset switch for 3 seconds or more so that the tire pressure warning light blinks 3 times.
      Fig 5: Identifying Tire Pressure Warning Light And Reset Switch
      G04944280Courtesy of © TOYOTA, LICENSE AGREEMENT TMS1002

      HINT

      • The initialization can be confirmed through the multi-information display.
        Fig 6: Identifying Multi-Information Display Screen Flow
        G05781877Courtesy of © TOYOTA, LICENSE AGREEMENT TMS1002
      • The order in which the data is received is random.
      • If the signals from all the wheels are received, the initialization is complete.
      • It may take about 2 or 3 minutes until the values are displayed. If the values are not displayed after a few minutes, perform troubleshooting according to the inspection procedure for DTCs C2121/21 to C2125/25
      NOTE:
      • If the initialization has not been completed successfully, DTC C2177/77 is set after a vehicle speed of 8 km/h (5 mph) or more continues for 20 minutes or more.
      • The initialization can be terminated by connecting terminals 13 (TC) and 4 (CG) of the DLC3.
  8. CLEAR STORED VALUE OF INITIALIZATION OF LINEAR SOLENOID VALVE AND CALIBRATION (WHEN USING Intelligent tester OR TECHSTREAM) 
    1. Connect the Intelligent tester or Techstream to the DLC3.
    2. Move the shift lever to the P position.
    3. Turn the power switch ON (IG) with the brake pedal released.
    4. Clear the stored value of initialization of linear solenoid valve and calibration following the screen.
      Fig 7: Identifying TC And CG Terminals Of DLC3 Connector
      G05629753Courtesy of © TOYOTA, LICENSE AGREEMENT TMS1002

      HINT:

      Refer to the Intelligent tester or Techstream operator's manual for further details.

  9. PERFORM INITIALIZATION OF LINEAR SOLENOID VALVE AND CALIBRATION (WHEN USING Intelligent tester OR TECHSTREAM) 
    1. Connect the Intelligent tester or Techstream (with CAN VIM) to the DLC3.
    2. Move the shift lever to the P position.
    3. Turn the power switch ON (IG) with the brake pedal released.
      NOTE:
      • If the linear solenoid valve offset learning is performed without turning the power switch ON (IG), the learning process may not be completed properly because of insufficient battery voltage.
      • When the linear solenoid valve offset learning is interrupted, or the learning process is performed with the shift lever not in the P position, DTC C1345/66 will be stored.
    4. Set the Intelligent tester or Techstream to Test Mode (select "ABS/VSC/TRAC", "Utility").

      HINT:

      Refer to the Intelligent tester or Techstream operator's manual for further details.

    5. Leave the vehicle stationary without depressing the brake pedal for 1 or 2 minutes.
    6. Check that the interval between blinks of the brake warning light / yellow (minor malfunction) changes from 1 second to 0.25 second.

      HINT.

      • The time needed to complete initialization of linear solenoid valve and calibration varies depending on battery voltage.
      • The brake warning light / yellow (minor malfunction) blinks at 1 second intervals during the initialization of linear solenoid valve and calibration. After it is complete, the brake warning light / yellow (minor malfunction) changes to the Test Mode display, and blinks at 0.25 second intervals
        Fig 8: Identifying Brake Warning Light Blinking Pattern
        G05773936Courtesy of © TOYOTA, LICENSE AGREEMENT TMS1002
    7. When the brake warning light / yellow (minor malfunction) changes to the Test Mode display, check that DTC C1345/66, which indicates trouble with stroke sensor zero point learning, is not output.
    8. Enter the normal mode from the Test Mode following the Intelligent tester or Techstream prompts.

      HINT:

      Refer to the Intelligent tester or Techstream operator's manual for further details.

  10. CLEAR STORED VALUE OF INITIALIZATION OF LINEAR SOLENOID VALVE AND CALIBRATION (WHEN USING SST CHECK WIRE) 
    1. Move the shift lever to the P position.
    2. Turn the power switch ON (IG) with the brake pedal released.
    3. Using SST, connect and disconnect terminals 12 (TS) and 4 (CG) of the DLC3 4 times or more within 8 seconds.

      SST 09843-18040 

      Fig 9: Identifying TS And CG Terminals Of DLC3 Connector
      G05770294Courtesy of © TOYOTA, LICENSE AGREEMENT TMS1002
    4. Check that no codes other than ABS code 42, VSC code 45 and electronically controlled brake system code 48, 66, or 95 are stored in the diagnostic system
      Fig 10: Blinking Pattern Of ABS Code
      G05773938Courtesy of © TOYOTA, LICENSE AGREEMENT TMS1002

      HINT:

      The ABS warning light and multi-information display do not indicate the normal system code

  11. PERFORM INITIALIZATION OF LINEAR SOLENOID VALVE AND CALIBRATION (WHEN USING SST CHECK WIRE) 
    1. Turn the power switch OFF
    2. Using SST, connect terminals 12 (TS) and 4 (CG) of the DLC3.
      Fig 11: Identifying TS And CG Terminals Of DLC3 Connector
      G05770296Courtesy of © TOYOTA, LICENSE AGREEMENT TMS1002

      SST 09843-18040 

    3. Move the shift lever to the P position.
    4. Turn the power switch ON (IG) with the brake pedal released.
      NOTE:
      • If the linear solenoid valve offset learning is performed without turning the power switch ON (IG), the learning process may not be completed properly because of insufficient battery voltage.
      • When the linear solenoid valve offset learning is interrupted, or the learning process is performed with the shift lever not in the P position, DTC C1345/66 will be stored.
    5. Leave the vehicle stationary without depressing the brake pedal for 1 or 2 minutes.
    6. Check that the interval between blinks of the brake warning light / yellow (minor malfunction) changes from 1 second to 0 25 seconds.

      HINT:

      • The time needed to complete initialization of linear solenoid valve and calibration varies depending on the battery voltage.
      • The brake warning light / yellow (minor malfunction) blinks at 1 second intervals during the initialization of linear solenoid valve and calibration After it is complete, the brake warning light / yellow (minor malfunction) changes to the Test Mode display, and blinks at 0.25 second intervals.
        Fig 12: Identifying Brake Warning Light Blinking Pattern
        G05773936Courtesy of © TOYOTA, LICENSE AGREEMENT TMS1002
    7. When the brake warning light / yellow (minor malfunction) changes to the Test Mode display, check that DTC C1345/66, which indicates trouble with stroke sensor zero point learning, is not output.
    8. Turn the power switch OFF and disconnect SST from the DLC3.
  12. CLEAR ZERO POINT CALIBRATION (WHEN USING Intelligent tester OR TECHSTREAM) 
    1. Connect the Intelligent tester or Techstream to the DLC3.
    2. Turn the power switch ON (IG).
    3. Operate the Intelligent tester or Techstream to erase the codes (select "Reset Memory").

      HINT.

      Refer to the Intelligent tester or Techstream operator's manual for further details.

  13. PERFORM ZERO POINT CALIBRATION OF YAW RATE AND ACCELERATION SENSOR (WHEN USING Intelligent tester OR TECHSTREAM) 
    NOTE:
    • While obtaining the zero point, do not vibrate the vehicle by tilting, moving, or shaking it. Keep it in a stationary condition and do not start the engine (hybrid).
    • Choose a level surface with an inclination of less than 1°.
    1. Procedures for Test Mode.
      1. Ensure that the steering wheel is centered, move the shift lever to the P position, and apply the parking brake.
        NOTE: DTC C1210/36 and C1336/98 will be recorded if the shift lever is not in the P position.
      2. Connect the Intelligent tester or Techstream to the DLC3
      3. Turn the power switch ON (IG).
      4. Set the Intelligent tester or Techstream to Test Mode (select "Test Mode").

        HINT.

        Refer to the Intelligent tester or Techstream operator's manual for further details.

    2. Obtain the zero point of the yaw rate and acceleration sensor.
      1. Keep the vehicle stationary on a level surface for 2 seconds or longer.
      2. Check that the ABS warning light and brake warning light / yellow (minor malfunction) blink and "VSC TEST" is indicated on the multi-information display (Test Mode).
        Fig 13: Blinking Pattern Of ABS Warning Light
        G05773941Courtesy of © TOYOTA, LICENSE AGREEMENT TMS1002

        HINT.

        • If the ABS warning light and brake warning light / yellow (minor malfunction) do not blink and "VSC TEST" is not indicated on the multi-information display, perform zero point calibration again.
        • The zero point calibration is performed only once after the system enters the Test Mode.
        • Calibration cannot be performed again until the stored data is cleared.
    3. Turn the power switch OFF and disconnect the Intelligent tester or Techstream
  14. CLEAR ZERO POINT CALIBRATION (WHEN USING SST CHECK WIRE) 
    1. Turn the power switch ON (IG).
    2. Using SST, connect and disconnect terminals 12 (TS) and 4 (CG) of the DLC3 4 times or more within 8 seconds

      SST 09843-18040 

      Fig 14: Identifying TS And CG Terminals Of DLC3 Connector
      G05770299Courtesy of © TOYOTA, LICENSE AGREEMENT TMS1002
    3. Check that no codes other than ABS code 42, VSC code 45 and electronically controlled brake system code 48, 66, or 95 are stored in the diagnostic system
      Fig 15: Blinking Pattern Of ABS Code
      G05773938Courtesy of © TOYOTA, LICENSE AGREEMENT TMS1002

      HINT.

      The ABS warning light and multi-information display do not indicate the normal system code

  15. PERFORM ZERO POINT CALIBRATION OF YAW RATE AND ACCELERATION SENSOR (WHEN USING SST CHECK WIRE) 
    NOTE:
    • While obtaining the zero point, do not vibrate the vehicle by tilting, moving, or shaking it. Keep it in a stationary condition and do not start the engine (hybrid).
    • Choose a level surface with an inclination of less than 1°.
    1. Procedures for Test Mode.
      1. Turn the power switch OFF
      2. Using SST, connect terminals 12 (TS) and 4 (CG) of the DLC3.

        SST 09843-18040 

      3. Check that the steering wheel is in the centered position and move the shift lever to the P position.
        NOTE: DTC C1210/36 and C1336/98 will be recorded if the shift lever is not in the P position.
        Fig 16: Identifying TS And CG Terminals Of DLC3 Connector
        G05770301Courtesy of © TOYOTA, LICENSE AGREEMENT TMS1002
    2. Obtain the zero point of the yaw rate and acceleration sensor
      1. Turn the power switch ON (IG)
      2. Keep the vehicle in a stationary condition on a level surface for 2 seconds or more
      3. Check that the ABS warning light and brake warning light / yellow (minor malfunction) blink and "VSC TEST" is indicated on the multi-information display (Test Mode)
        Fig 17: Blinking Pattern Of ABS Warning Light
        G05773941Courtesy of © TOYOTA, LICENSE AGREEMENT TMS1002

        HINT:

        • If the ABS warning light and brake warning light / yellow (minor malfunction) do not blink and "VSC TEST" is not indicated on the multi-information display, perform zero point calibration again.
        • The zero point calibration is performed only once after the system enters the Test Mode
        • Calibration cannot be performed again until the stored data is cleared.
    3. Turn the power switch OFF and disconnect SST from the DLC3.
  16. DISCONNECT BRAKE ACCUMULATOR PUMP CONNECTORS 
    NOTE: If the brake accumulator pump operates while air remains inside the No. 2 brake actuator hose, air will enter the brake accumulator pump, resulting in difficulty in bleeding. Keep the 2 brake accumulator pump connectors disconnected before bleeding.
    1. Disconnect the 2 brake accumulator pump connectors.
  17. FILL RESERVOIR WITH BRAKE FLUID 
    NOTE:
    • As brake fluid may overflow when bleeding air, do not place the fluid can on the reservoir filler opening.
    • If brake fluid leaks onto any painted surface, clean it off completely.
      Fig 18: Locating Brake Accumulator Pump Connectors
      G04949820Courtesy of © TOYOTA, LICENSE AGREEMENT TMS1002
    1. Add brake fluid into the reservoir.

      Fluid: 

      SAE J1703 or FMVSS No. 116 DOT 3 

  18. DISABLE BRAKE CONTROL 

    HINT

    Using the Intelligent tester or Techstream to disable brake control causes the master pressure cut solenoid to turn off and the line from the master cylinder to the front disc brake caliper to open

    Fig 19: Adding Brake Fluid Into Reservoir
    G04949821Courtesy of © TOYOTA, LICENSE AGREEMENT TMS1002
    1. Check that the parking brake is set.
    2. Connect the Intelligent tester or Techstream to the DLC3 with the power switch OFF
    3. Turn the power switch ON (IG)
      NOTE: Do not start the engine.
    4. Enter the following menus
      1. Intelligent tester - select: DIAGNOSIS / ABS/ VSC / ELECTRONICALLY CONTROLLED BRAKE SYSTEM UTILITY/ ELECTRONICALLY CONTROLLED BRAKE SYSTEM INVALID
      2. Techstream - select. Chassis / ABS/VSC/TRC / Utility / Electronically Controlled Brake system Utility / Electronically Controlled Brake system Invalid.
  19. BLEED AIR FROM FRONT BRAKE SYSTEM 

    HINT.

    After replacing the brake master cylinder with simulator assembly, perform air bleeding on it (same as for common master cylinders) so that bleeding air from the front brake system is easier.

    NOTE:
    • Bleed air from the wheel furthest from the master cylinder.
    • Repeat the bleeding procedures until all the air in the fluid is completely bled out.
    1. Connect a vinyl tube to the bleeder plug on the front disc brake caliper LH and RH
    2. Depress the brake pedal several times, then loosen the bleeder plug with the pedal depressed.
      Fig 20: Loosening Bleeder Plug
      G05781963Courtesy of © TOYOTA, LICENSE AGREEMENT TMS1002
    3. When fluid stops coming out, temporarily tighten the bleeder plug, then release the brake pedal.
    4. Repeat the above procedures until all the air in the fluid is completely bled out.
    5. Tighten the bleeder plug.
      Fig 21: Tightening Bleeder Plug
      G05781964Courtesy of © TOYOTA, LICENSE AGREEMENT TMS1002

      Torque: 11 N*m (110 kgf*cm, 8 ft.*lbf) 

  20. CANCEL DISABLE BRAKE CONTROL 
    1. Cancel "DISABLE BRAKE CONTROL" on the Intelligent tester or Techstream.
  21. CONNECT BRAKE ACCUMULATOR PUMP CONNECTORS 
    Fig 22: Locating Brake Accumulator Pump Connectors
    G04949820Courtesy of © TOYOTA, LICENSE AGREEMENT TMS1002
    1. Turn the power switch OFF.
    2. Connect the 2 brake accumulator pump connectors.
    3. Turn the power switch ON (IG).
  22. BLEED AIR FROM PUMP SUCTION SYSTEM (RR) 
    NOTE:
    • If work is not performed from "PERFORM ACCUMULATOR ZERO DOWN", air cannot be bled from the pump suction system (RR). Perform the procedure from "PERFORM ACCUMULATOR ZERO DOWN", then perform this step.
    • The accumulator pressure is at zero down.

    HINT:

    Loosening the rear disc brake caliper's RH bleeder plug and using the Intelligent tester or Techstream causes the pump motor and solenoid to operate and pressurize the rear brake line.

    1. Check that the parking brake is set.
    2. Connect the Intelligent tester or Techstream to the DLC3 with the power switch OFF.
    3. Turn the power switch ON (IG).
      NOTE: Do not start the engine..
    4. Connect a vinyl tube to the bleeder plug on the rear disc brake caliper RH.
    5. Loosen the bleeder plug.
    6. Enter the following menus:
      1. Intelligent tester - select. DIAGNOSIS / ABS/ VSC / ELECTRONICALLY CONTROLLED BRAKE SYSTEM UTILITY / ZERO DOWN RR.
      2. Techstream - select. Chassis / ABS/VSC/TRC / Utility / Electronically Controlled Brake system Utility / Zero Down Rear.
        NOTE: Do not depress the brake pedal.

        HINT

        The solenoid operates for approximately 30 seconds

    7. Tighten the bleeder plug.

      Torque: 11 N*m (110 kgf*cm, 8 ft.*lbf) 

  23. DISABLE BRAKE CONTROL 
    1. Enter the following menus:
      1. Intelligent tester - select: DIAGNOSIS / ABS/ VSC / ELECTRONICALLY CONTROLLED BRAKE SYSTEM UTILITY/ ELECTRONICALLY CONTROLLED BRAKE SYSTEM INVALID.
      2. Techstream - select: Chassis / ABS/VSC/TRC / Utility / Electronically Controlled Brake system Utility / Electronically Controlled Brake system Invalid.
  24. BLEED AIR FROM REAR BRAKE SYSTEM 
    1. Connect a vinyl tube to the bleeder plug on the rear disc brake caliper LH and RH.
    2. With the brake pedal depressed, loosen the bleeder plug
      NOTE: Keep the fluid inside the reservoir above the MIN line by replenishing.

      HINT.

      Fig 23: Loosening Bleeder Plug
      G04949817Courtesy of © TOYOTA, LICENSE AGREEMENT TMS1002
      • Depress and hold the brake pedal.
      • After the solenoid operates for approximately 30 seconds, release the brake pedal to stop the solenoid
      • Repeat the above procedures until air is completely bled from the rear brake system.
      • The brake control warning light comes on and the buzzer sounds while bleeding, but they do not indicate a malfunction.
    3. Tighten the bleeder plug after bleeding

      Torque: 11 N*m (110 kgf*cm, 8 ft.*lbf) 

      HINT

      The fluid amount adjustment is easier to perform if fuel bleeding is completed with the brake fluid reservoir's fluid level at approximately 5 mm (0.197 in.) below the MAX level.

      Fig 24: Tightening Bleeder Plug
      G04949818Courtesy of © TOYOTA, LICENSE AGREEMENT TMS1002
  25. CANCEL DISABLE BRAKE CONTROL 
    1. Cancel "DISABLE BRAKE CONTROL" on the Intelligent tester or Techstream.
  26. PERFORM ACCUMULATOR ZERO DOWN 
    1. Connect the Intelligent tester or Techstream to the DLC3 with the power switch OFF.
    2. Perform the accumulator pressure zero down.

      HINT:

      Using the Techstream to perform accumulator zero down causes the pressurized fluid in the actuator's accumulator to be returned to the brake fluid reservoir.

      1. Check that the parking brake is set, and turn the power switch ON (IG)
      2. Enter the following menus of Intelligent tester - select: DIAGNOSIS / ABS/VSC / ELECTRONICALLY CONTROLLED BRAKE SYSTEM UTILITY /ZERO DOWN.
      3. Enter the following menus of Techstream - select: Chassis / ABS/VSC/TRC / Utility / Electronically Controlled Brake system Utility / Zero Down
      4. When the buzzer sounds, turn the power switch OFF.
    3. Perform the accumulator fluid circulation.
      1. Perform the accumulator pressure zero down 5 times repeatedly.

        HINT.

        • Accumulator pressure is released and accumulated repeatedly, which circulates the fluid inside the accumulator every time accumulator zero down (accumulator depressurizing) is performed
        • The pump motor rotates and the accumulator is pressurized every time the power switch is turned from OFF to ON (IG)
  27. CHECK AND ADJUST BRAKE FLUID LEVEL IN RESERVOIR 
    1. After performing accumulator zero down (accumulator depressurizing), adjust the fluid level in the master cylinder reservoir to the MAX level.
      NOTE: If using a dropper to adjust the fluid amount, make sure the dropper has not been used with mineral oils, water or deteriorated brake fluid. Sealed areas may deteriorate and lead to fluid leaks, or the fluid may deteriorate and lead to decreased efficiency.
      Fig 25: Identifying Fluid Level In Master Cylinder Reservoir
      G04949819Courtesy of © TOYOTA, LICENSE AGREEMENT TMS1002

      HINT.

      • After performing accumulator zero down (accumulator depressurizing), if the power switch is turned ON (IG), the fluid level in the accumulator increases, and the fluid level in the reservoir decreases
      • If the fluid level is adjusted without performing accumulator zero down (accumulator depressurizing), fluid is sent from the accumulator to the reservoir. The fluid level may exceed the MAX level, but it is normal.
    2. After turning the power switch ON (IG), check that the fluid level in the brake fluid reservoir is slightly lower than the MAX level
  28. CLEAR DTC 
    1. Clear the DTCs.
  29. PERFORM LINEAR VALVE OFFSET LEARNING 
    1. When the brake actuator is replaced, perform linear valve offset learning
  30. CHECK DTC 
    1. Check for DTC If any DTC is output, perform the troubleshooting for that DTC
  31. READ VALUE OF ACCUMULATOR PRESSURE SENSOR OUTPUT VOLTAGE 
  32. CHECK AND ADJUST BRAKE PEDAL HEIGHT 
    NOTE: Fold back the carpet below the brake pedal for this inspection adjustment.
    1. Check the brake pedal height.

      Standard pedal height from tibia pad: 

      144.2 to 154.2 mm (5.68 to 6.07 in.) 

    2. Adjust the pedal height.
      1. Disconnect the connector from the stop light switch.
      2. Loosen the stop light switch lock nut and turn the switch so that the pedal has free play.
      3. Loosen the push rod clevis lock nut
      4. Adjust the pedal height by turning the push rod.

        Standard pedal height from tibia pad: 

        144.2 to 154.2 mm (5.68 to 6.07 in.) 

      5. Tighten the push rod clevis lock nut.

        Torque: 26 N*m (265 kgf*cm, 19 ft.*lbf) 

        Fig 26: Adjusting Pedal Height
        G04949839Courtesy of © TOYOTA, LICENSE AGREEMENT TMS1002
      6. Turn the stop light switch so that its protrusion is between 1.5 and 2 6 mm (0 0591 and 0.102 in.). Then tighten the lock nut.

        Torque: 17 N*m (170 kgf*cm, 12 ft.*lbf) 

        Fig 27: Checking Stop Light Switch Clearance
        G05781989Courtesy of © TOYOTA, LICENSE AGREEMENT TMS1002
      7. Connect the stop light switch connector.
      8. Without depressing the brake pedal, check that the stop light does not illuminate. If it illuminates, adjust the brake pedal height again.
      9. Push the brake pedal in 5 to 10 mm (0.197 to 0.394 in), and check that the stop light illuminates.

        If the stop light does not illuminate, adjust the brake pedal height again.

  33. ADJUST BRAKE PEDAL STROKE SENSOR 
    1. Connect the Intelligent tester or Techstream to the DLC3 with the power switch OFF
    2. Loosen the 2 bolts.
    3. Turn the power switch ON (IG). While reading the stroke sensor 1 value shown on the Intelligent tester or Techstream, turn the stroke sensor slowly to the right and left to adjust it to the standard voltage.

      Standard voltage: 

      0.8 to 1.2 V 

    4. Tighten the 2 bolts

      Torque: 8.5 N*m (87 kgf*cm, 75 in.*lbf) 

    5. Perform the linear valve offset learning.
      Fig 28: Turning Power Switch
      G04949841Courtesy of © TOYOTA, LICENSE AGREEMENT TMS1002
      NOTE: Do not depress the brake pedal while performing the linear valve offset learning, as this may cause a DTC to be stored.
  34. RESET MEMORY (with Intelligent tester or Techstream) 
    1. Turn the power switch OFF.
    2. Connect the Intelligent tester or Techstream to the DLC3.
    3. Turn the power switch ON (IG) and the tester ON
    4. Enter the following menus:
      1. Intelligent tester - Select DIAGNOSIS / OBD/ MOBD / CHASSIS / ELECTRIC PKB / UTILITY / RESET MEMORY.
      2. Techstream - Select. Chassis / Electric Parking Brake / Utility / Reset Memory
    5. Follow the tester display and perform reset memory.

      HINT

      When the reset memory is completed, the parking brake indicator light (RED) will blink at 0.5 seconds intervals

      Fig 29: Identifying Parking Brake Indicator Light
      G05782109Courtesy of © TOYOTA, LICENSE AGREEMENT TMS1002
  35. RESET MEMORY (without Intelligent tester or Techstream) 
    1. Turn the power switch OFF.
    2. Using SST, connect terminals 13 (TC) and 4 (CG) of the DLC3
      Fig 30: Identifying TC And CG Terminals Of DLC3 Connector
      G05629753Courtesy of © TOYOTA, LICENSE AGREEMENT TMS1002

      SST 09843-18040 

      NOTE: Do not connect the wrong terminals, as this will cause parts to be damaged.
    3. Turn the power switch ON (IG).

      HINT.

      The parking brake indicator light (RED) will blink at 0 25 seconds intervals.

    4. Perform both of the following procedures within 8 seconds:
      1. Perform the following with the electric parking brake switch twice: lock condition → off → release condition → off.
      2. Perform the following with the brake pedal. depress → release → depress → release
        Fig 31: Blinking Pattern Of Brake Pedal
        G05782111Courtesy of © TOYOTA, LICENSE AGREEMENT TMS1002
    5. With the power switch ON (IG), disconnect the connection of terminals 13 (TC) and 4 (CG) of the DLC3
    6. Check that the parking brake indicator light (RED) blinks at 0.5 seconds intervals.
      NOTE: If terminals 13 (TC) and 4 (CG) of the DLC3 are not disconnected, the blinking pattern (0.5 seconds intervals) cannot be checked.

      HINT.

      If the parking brake indicator light (RED) blinking pattern (0.5 seconds intervals) is confirmed, the clear procedure is completed. If not confirmed, repeat the procedures above.

  36. ACQUIRE TENSION SENSOR ZERO POINT 
    1. After performing reset memory, perform the release control. Check that the parking brake indicator light (RED) turns off.
  37. PARKING BRAKE BEDDING 
    CAUTION: Performing parking brake bedding forms the friction surfaces of the parking brake shoe and rear disc, which creates the basic braking force of the parking brake. If bedding is not performed, the parking brake performance may not be normal.
    NOTE: If one of the following is performed, perform parking brake bedding.
    • Rear disc is replaced or removed and installed
    • Parking brake shoe is replaced or removed and installed
    • Electric parking brake actuator is replaced or removed and installed
    1. Turn the power switch OFF.
    2. Using SST, connect terminals 12 (TS) and 4 (CG) of the DLC3.
      Fig 32: Identifying TS And CG Terminals Of DLC3 Connector
      G05770317Courtesy of © TOYOTA, LICENSE AGREEMENT TMS1002

      SST 09843-18040 

      NOTE: Do not connect the wrong terminals, as this will cause parts to be damaged.
    3. Turn the power switch ON (IG).
    4. Perform the following procedures with the electric parking brake switch within 8 seconds
      1. Turning the lock switch ON and OFF 3 times.
      2. Turn the release switch ON and OFF 3 times.
        Fig 33: Blinking Pattern Of Release Switch
        G05782113Courtesy of © TOYOTA, LICENSE AGREEMENT TMS1002
    5. Check that the system is in test mode.

      HINT:

      • When the system enters test mode, the parking brake indicator light (RED) starts blinking.
      • The multi-information display shows "EPB TEST" (*). If it is not displayed, repeat the procedures above
      • * EPB stands for electric parking brake.
      Fig 34: Identifying Parking Brake Indicator Light
      G05782114Courtesy of © TOYOTA, LICENSE AGREEMENT TMS1002
    6. Perform parking brake bedding
      1. Drive the vehicle at 30 km/h (19 mph).
      2. Push the parking brake switch to the lock side for 5 seconds.
        NOTE: The braking power is generated from the parking brake while driving the vehicle. This will cause the vehicle speed to decrease. Depress the acceleration pedal to maintain the speed at 30 km/h (19 mph).

        HINT.

        • The parking brake indicator light (RED) stops blinking at 0 125 seconds intervals, and illuminates
        • The buzzer turns ON (beeping sound).
        • The tension is automatically adjusted
      3. After 5 seconds, check that the buzzer and the parking brake indicator light (RED) turn off.

        HINT

        The brake force decreases

      4. Release the parking brake lock switch.
  38. STEERING ANGLE SENSOR INITIALIZATION (to obtain a tire angle (during straight-ahead driving) signal) 
    1. Turn the power switch ON (IG), and check that the master warning light illuminates for a few seconds.
      NOTE: If the warning light remains on or blinks, repair the applicable system.
    2. Drive the vehicle on a straight road at 35 km/h (22 mph) or more for 5 seconds or longer

      HINT

      • At this point, the steering wheel will still remain off-center by 5 to 10°
      • In this step, the neutral position of the steering wheel is restored from the steering control ECU memory.
        Fig 35: Identifying Master Warning Light
        G05782326Courtesy of © TOYOTA, LICENSE AGREEMENT TMS1002
    3. Confirm that steering angle sensor initialization is completed (using the tester)
      1. Intelligent tester - Enter the VGRS menu using the tester. Select "STRAIGH ANG FLG" from "DATA LIST" Check if the steering angle sensor has obtained a tire angle (during straight-ahead driving) signal.

        Standard: 

        "VALID" is displayed on the tester screen. 

      2. Techstream - Enter the VGRS menu using the tester Select "Straight Angle Valid Flag" from "Data List" Check if the steering angle sensor has obtained a tire angle (during straight-ahead driving) signal.

        Standard: 

        "Valid" is displayed on the tester screen. 

    4. Confirm that steering angle sensor initialization is completed (not using the tester)
      1. Stop the vehicle (power switch turned to ON (READY))
      2. Slowly turn the steering wheel from lock to lock.
      3. If it turns approximately 2 7 turns, steering angle sensor initialization is completed. If it turns approximately 3.2 turns, steering angle sensor initialization is not completed
        NOTE: If the steering wheel turns approximately 3.2 turns, drive the vehicle on a straight road at 35 km/h (22 mph) or more for 5 seconds or longer. Then confirm the initialization again.
  39. VGRS SYSTEM CALIBRATION PROCEDURE (USING SST CHECK WIRE) 
    1. FACE TIRES STRAIGHT AHEAD 
      NOTE: Drive the vehicle to confirm that the steering wheel is centered.
    2. CHECK DTC 
      1. Check for DTCs.

        Result 

        RESULT REFERENCE

        Result Proceed to
        DTC C1591/51 is not output A
        DTC C1591/51 is output B

      B:  Go to step  4

      A: Go to Next Step 

    3. PERFORM ACTUATOR ANGLE INITIALIZATION 

      SST 09843-18040 

      NOTE: If the procedures from *1 to *2 are not completed within 1 minute, or if errors are made during these procedures, perform the initialization again from the beginning.
      1. Turn the power switch ON (READY).
      2. Center the steering wheel.
      3. Using SST, connect terminals 12 (TS) and 4 (CG), and 13 (TC) and 4 (CG) of the DLC3. (*1)
      4. Disconnect SST from terminal 12 (TS) of the DLC3, and turn the steering wheel to the left 180° or more.
      5. Connect SST to terminal 12 (TS) of the DLC3.
      6. Disconnect SST from terminal 13 (TC) of the DLC3, and turn the steering wheel to the right 180° or more.
      7. Connect SST to terminal 13 (TC) of the DLC3. (*2)
        Fig 36: Identifying TC, CG And TS Terminals Of DLC3 Connector
        G05770321Courtesy of © TOYOTA, LICENSE AGREEMENT TMS1002

        HINT:

        When the master warning light comes on, DTC C1591/51 is memorized.

      8. Disconnect SST from the DLC3.
      9. Turn the power switch OFF
    4. FACE TIRES STRAIGHT AHEAD 
      1. Confirm that the steering wheel is centered when facing the tires straight ahead
        NOTE: Drive the vehicle to confirm that the steering wheel is centered.

        Result 

        RESULT REFERENCE

        Result Proceed to
        Steering wheel is off-center A
        Steering wheel is centered B

      B:  Go to step  8

      A: Go to Next Step 

    5. UNLOCK STEERING ACTUATOR 
      NOTE: Do not turn the power switch ON (READY).
      1. Turn the power switch OFF.
      2. Disconnect the negative (-) terminal cable from the auxiliary battery.
      3. Disconnect the z16 connector from the steering actuator
        Fig 37: Identifying Terminals Of Z16 Steering Actuator Connector
        G05782328Courtesy of © TOYOTA, LICENSE AGREEMENT TMS1002
      4. Connect a jumper wire from terminal LV to the positive (+) 12 V battery terminal and another jumper wire from terminal LG to the negative (-) 12 V battery terminal.
        NOTE: Do not apply voltage for more than 3 minutes.
    6. STEERING CENTER ADJUSTMENT 
      1. Center the steering wheel.
        NOTE: If the centering of the spiral cable was not confirmed when the steering wheel was installed, confirm the centering of the spiral cable.
    7. LOCK STEERING ACTUATOR 
      1. Disconnect the positive (+) and negative (-) 12 V battery terminal cables from the steering actuator.
      2. Connect the z16 connector to the steering actuator
      3. Connect the negative (-) terminal cable to the auxiliary battery
      4. Turn the steering wheel approximately 3° to the left and right. Confirm that the reaction force can be felt
        NOTE:
        • If the above procedures are not followed correctly, a DTC will be detected. If a DTC is detected, perform the above procedures again and then check for DTCs.
        • Perform these procedures with the power switch OFF.
    8. ADJUST ACTUATOR ANGLE 

      HINT.

      Activating and ending test mode will complete actuator angle adjustment.

      1. Make sure the power switch is OFF.
        NOTE: Do not touch the steering wheel during these procedures.
      2. Using SST, connect terminals 12 (TS) and 4 (CG) of the DLC3.
        Fig 38: Identifying CG And TS Terminals Of DLC3 Connector
        G04944107Courtesy of © TOYOTA, LICENSE AGREEMENT TMS1002

        SST 09843-18040 

      3. Turn the power switch ON (IG)
      4. Confirm that the "VGRS TEST MODE" is displayed on the multi-information display when test mode is activated.

        HINT:

        Wait approximately 5 seconds.

      5. Turn the power switch OFF.
      6. Disconnect SST from terminals 12 (TS) and 4 (CG) of the DLC3.
      7. Turn the power switch ON (IG) again.
    9. CHECK MASTER WARNING LIGHT 
      1. Confirm that the master warning light is off.
      2. Turn the power switch OFF, then ON (IG).
      3. Confirm that the master warning light is operating normally
    10. CHECK STEERING WHEEL OPERATION 
      1. Turn the power switch ON (READY).
      2. Perform the steering angle sensor initialization.
      3. Turn the steering wheel from lock to lock and check that it rotates approximately 2.7 turns.
      4. Drive the vehicle and confirm that the steering wheel is centered.

      NEXT: END 

  40. VGRS SYSTEM CALIBRATION PROCEDURE (USING INTELLIGENT TESTER) 
    1. FACE TIRES STRAIGHT AHEAD 
      NOTE: Drive the vehicle to confirm that the steering wheel is centered.
    2. PERFORM VGRS SYSTEM CALIBRATION 
      1. Connect the Intelligent tester to the DLC3.
      2. Turn the power switch ON (IG).
      3. Turn the tester on.
      4. Enter the menu items in this order: DIAGNOSIS / OBD/ MOBD / CHASSIS / VGRS Then, select the "STEER ANGLE ADJ" item, and press "ENTER" to move to next screen.
        Fig 39: Intelligent tester Display - Diagnosis Menu VGRS
        G04950174Courtesy of © TOYOTA, LICENSE AGREEMENT TMS1002
      5. "NOTICE" screen is displayed Then, press "ENTER".
        NOTE: Press the "ENTER" key even if DTC C15B4/71 is output.
      6. "NOTICE" screen is displayed Then, press "ENTER"
        NOTE: Ensure that the power switch is OFF.
      7. "STEERING ANGLE ADJ" screen is displayed Then, press "YES".
      8. "STEERING ANGLE ADJ" screen is displayed Then, press "ENTER".
        NOTE: If the centering of the spiral cable was not confirmed when the steering wheel was installed, confirm the centering of the spiral cable.
      9. "NOTICE" screen is displayed Then, press "ENTER".
        NOTE: Do not touch the steering wheel during these procedures.
      10. "NOTICE" screen is displayed. Then, press "ENTER".
      11. "NOTICE" screen is displayed Then, press "ENTER"
        NOTE: Do not touch the steering wheel during these procedures.
      12. The remaining time is displayed and the display switches automatically to the next screen.
        NOTE: Do not touch the steering wheel during these procedures.
      13. Check that the VGRS system calibration is completed normally.
      14. Select "ENTER" to return the display to the "MENU" screen.
        Fig 40: Intelligent tester Display - Steering Angle ADJ ECU VGRS
        G04950175Courtesy of © TOYOTA, LICENSE AGREEMENT TMS1002
    3. CHECK MASTER WARNING LIGHT 
      1. Confirm that the master warning light is off.
      2. Turn the power switch OFF.
      3. Disconnect the Intelligent tester from the DLC3.
      4. Turn the power switch ON (IG)
      5. Confirm that the master warning light is operating normally.
    4. CHECK STEERING WHEEL OPERATION 
      1. Turn the power switch ON (READY)
      2. Perform the steering angle sensor initialization
      3. Turn the steering wheel from lock to lock and check that it rotates approximately 2.7 turns
      4. Drive the vehicle and confirm that the steering wheel is centered

      NEXT: END 

  41. VGRS SYSTEM CALIBRATION PROCEDURE (USING TECHSTREAM) 
    1. FACE TIRES STRAIGHT AHEAD 
      NOTE: Drive the vehicle to confirm that the steering wheel is centered.
    2. PERFORM VGRS SYSTEM CALIBRATION 
      1. Connect Techstream to the DLC3
      2. Turn the power switch ON (IG).
      3. Turn the tester on
      4. Enter the menu items in this order Chassis / VGRS / Utility / Steering Angle Adjust.
      5. Perform the following procedures displayed on the tester.
    3. CHECK MASTER WARNING LIGHT 
      1. Confirm that the master warning light is off.
      2. Turn the power switch OFF
      3. Disconnect Techstream from the DLC3.
      4. Turn the power switch ON (IG)
      5. Confirm that master warning light is operating normally
    4. CHECK STEERING WHEEL OPERATION 
      1. Turn the power switch ON (READY).
      2. Perform the steering angle sensor initialization.
      3. Turn the steering wheel from lock to lock and check that it rotates approximately 2.7 turns.
      4. Drive the vehicle and confirm that the steering wheel is centered.

      NEXT: END 

  42. ROTATION ANGLE SENSOR VALUE INITIALIZATION AND TORQUE SENSOR ZERO POINT CALIBRATION 
    NOTE: Clear the rotation angle sensor calibration value, initialize the rotation angle sensor value, and calibrate the torque sensor zero point if any of the following has occurred:
    • The power steering ECU has been replaced.
    • The power steering gear assembly has been replaced.
    • Steering effort differs between left and right. (a) Inspection before calibration.
    1. Inspection before calibration.
      1. Connect the Intelligent tester or Techstream to the DLC3.
      2. Turn the power switch ON (IG).
      3. Turn the Intelligent tester or Techstream on. Intelligent tester - Select "IG SUPPLY" from the Data List.

        Techstream - Select "IG Supply" from the Data List.

      4. Check the IG power supply voltage on the tester screen.
        1. Intelligent tester

          EMPS 

          EMPS REFERENCE

          Tester Display Measurement Item/Range Normal Condition Diagnostic Note
          IG SUPPLY ECU power source voltage/ Mm 0V, Max 25 5 V Power switch ON (IG) 11 to 14 V When malfunction occurs, problem may be ECU power supply
        2. Techstream

          EMPS 

          EMPS REFERENCE

          Tester Display Measurement Item/Range Normal Condition Diagnostic Note
          IG Supply ECU power source voltage/ Min 0V, Max 25 5V Power switch ON (IG) 11 to 14 V When malfunction occurs, problem may be ECU power supply

          Standard voltage: 

          11 to 14 V 

          NOTE: If the IG power supply voltage is less than 11 V, calibration cannot be performed. In this case, charge or replace the auxiliary battery, and then perform calibration.
    2. Clearing rotation angle sensor calibration value, rotation angle sensor value initialization, and torque sensor zero point calibration.
      NOTE:
      • If DTC C1516 (Torque Sensor Zero Point Adjustment Incomplete) is stored, the torque sensor zero point cannot be calibrated. Clear the DTC before starting calibration.
      • If DTC C1526 (Motor Rotation Angle Sensor Initialization Incomplete) is stored, the rotation angle sensor value cannot be initialized. Clear the DTC before starting initialization.
      1. Connect the Intelligent tester or Techstream to the DLC3
      2. Turn the power switch ON (IG)
      3. Turn the Intelligent tester or Techstream on. Intelligent tester - Select "TRQ SENSOR ADJ". Techstream - Select "Torque Sensor Adjustment"
      4. Follow the procedures on the tester display to clear the rotation angle sensor calibration value, initialize the rotation angle sensor value, and calibrate the torque sensor zero point.
        NOTE:
        • When initializing the rotation angle sensor value, observe the following to stabilize sensor voltage:

          After turning the power switch ON (IG), wait for at least 2.5 seconds before turning the steering wheel. Do not turn the steering wheel quickly.

        • The steering wheel will vibrate during torque sensor zero point calibration. Do not touch the steering wheel while it is vibrating or for 2 seconds after it stops.
  43. ZERO POINT CALIBRATION 
    1. Zero point calibration procedures
      1. Check that all of the following conditions are met.
        • The vehicle is parked on a level surface.
        • No objects are placed on the front passenger seat.
        • The front passenger seat belt buckle switch is OFF.
      2. Adjust the seat position according to the table below.
        ADJUSTMENT ITEM REFERENCE

        Adjustment Item Position
        Slide Direction Rearmost position
        Reclining Angle Upright position
        Headrest Height Lowest position
        Lifter Height Lowest position
      3. Connect the Intelligent tester or Techstream to the DLC3.
      4. Turn the power switch ON (IG)
      5. Perform zero point calibration by following the prompts on the tester screen

        HINT:

        • Refer to the Intelligent tester or Techstream operator's manual for further details.
        • If the zero point calibration is performed when the calibration conditions are not satisfied, DTC B1797 is output.
        • If the zero point calibration has failed, DTC B1797 is output.
        • If After Exchange is selected before the previous ECU data are stored in the Intelligent tester or Techstream, the display screen returns to CONDITION SELECT ECU: Occupant Detect.
        ITEM PROCEDURES CHART

        Item Procedure
        DTC Perform DTC check and repair
        Write error Replace front seat set (with occupant classification ECU and occupant detection sensor)
        Temperature Check value of THERMISTOR TEMP in ECU DATA LIST
        Pressure Check value of FILTERED PRESS in ECU DATA LIST
        Crash counter -
  44. SENSITIVITY CHECK 
    1. Sensitivity check procedures
      1. Turn the power switch OFF
      2. Place a weight of 20 kg (44.0 lb) on the front passenger seat.
        NOTE:
        • Do not allow the weight to come into contact with the seatback when placing it on the seat cushion.
        • Place the weight in the area shown in the illustration.
          Fig 41: Placing Weight Of 20 Kg On Front Passenger Seat
          G04947418Courtesy of © TOYOTA, LICENSE AGREEMENT TMS1002
      3. Turn the power switch ON (IG), and wait for at least 6 seconds.
      4. Check that the passenger airbag ON/OFF indicator indicates OFF.

        OK: Passenger airbag ON/OFF indicator indicates OFF. 

      5. Add a weight of 30 kg (66.1 lb) to the front passenger seat (total 50 kg (110.2 lb))
        NOTE:
        • Do not allow the weight to come into contact with the seatback when placing it on the seat cushion.
        • Place the weight in the area shown in the illustration.
      6. Check that the passenger airbag ON/OFF indicator indicates ON.

        OK: Passenger airbag ON/OFF indicator indicates ON. 

  45. REGISTRATION 
    NOTE:
    • After the power switch is turned OFF, the HDD navigation system requires approximately 6 minutes to record various types of memory and settings. As a result, after turning the power switch OFF, wait 6 minutes or more before disconnecting the cable from the negative (-) battery terminal.
    • If any DTCs related to the occupant classification ECU are output, troubleshoot those DTCs by referring to the DIAGNOSTIC TROUBLE CODE CHART.
    • When ECU data saving or loading operations cannot be performed, replace the front seat set (with occupant classification ECU and occupant detection sensor).

    HINT.

    • When the front seat set (occupant classification ECU) is replaced, the previous ECU data must be saved in the Intelligent tester or Techstream and loaded into the new ECU by following the flowchart below.
    • Until the data from the previous ECU are loaded into the new occupant classification ECU, these data are not erased even when the tester is turned off.
    • ECU EXCHANGE procedure (Before Exchange) describes the procedure to save the data in the Intelligent tester or Techstream from the occupant classification ECU which was installed on the vehicle. ECU EXCHANGE procedure (After Exchange) describes the procedure to load the data from the previous ECU, stored in the Intelligent tester or Techstream, into the new ECU.
    1. Connect the Intelligent tester or Techstream to the DLC3.
    2. Turn the power switch ON (IG)
    3. Store the occupant classification ECU data in the Intelligent tester or Techstream by following the prompts on the tester screen.

      HINT.

      If the ECU data cannot be stored in the Intelligent tester or Techstream, replace the front seat set (with occupant classification ECU and occupant detection sensor).

    4. Turn the power switch ON (IG).
    5. Disconnect the negative (-) terminal cable from the battery, and wait for at least 90 seconds.
    6. Replace the front seat set (occupant classification ECU)
    7. Connect the negative (-) terminal cable to the battery.
    8. Turn the power switch ON (IG)
    9. Load the data from the previous ECU stored in the tester into the newly installed ECU by following the prompts on the tester screen.
    10. Turn the power switch OFF
    11. Turn the power switch ON (IG)
    12. Clear the DTCs stored in the memory.

      HINT.

      If DTCs are not cleared at this time, past DTCs will remain.

  46. DESCRIPTION OF CODE REGISTRATION 

    HINT.

    • The engine immobilizer function's ID code is the same as the recognition code for the smart access system with push-button start and wireless transmitter. Registering an ID code enables the smart access with push-button start, wireless door lock control function and engine immobilizer function to be operated.
    • Code registration is needed when the certification ECU, ID code box, steering lock ECU, hybrid vehicle control ECU or key is replaced with a new one.
    • This vehicle does not have a key slot. Therefore, touch the logo of the key to the power switch to register the key, as shown in the illustration.
  47. PART REPLACEMENT AND KEY REGISTRATION PROCEDURES 
    1. If a malfunctioning ECU is discovered through troubleshooting of the smart access system with push-button start, use the ECU replacement and key registration procedures in the table below.

      HINT

      • The following procedures require the use of the Intelligent tester or Techstream.
        Fig 42: Identifying Power Switch And Key
        G05782538Courtesy of © TOYOTA, LICENSE AGREEMENT TMS1002
        • New key ID registration
        • Additional key ID registration
        • Key ID erasure
        • ECU code registration
      • When simply adding a new key (without losing or replacing any existing keys), refer to "3. KEY REGISTRATION PROCEDURES (c) Additional key ID registration".
      • If all of the registered keys are not available, replacement of the ID code box, certification ECU and steering lock ECU is also required.
      • A maximum of 7 keys can be registered.
      KEY REGISTRATION PROCEDURES

      Part to be replaced Condition Procedure
      Certification ECU Customer has brought all keys
      1. Replace certification ECU
      2. Reregister all keys (new key ID registration)
      Some keys are lost Key ID codes can be registered are erased
      1. Erase key codes (key ID erasure)
      2. Perform additional key registration procedure (additional key ID registration)
      3. Replace certification ECU
      4. Reregister all keys (new key ID registration)

      HINT
      If some keys are not registered during above steps, they will be disabled because they cannot be registered later
      Key ID codes cannot be either registered or erased
      1. Replace certification ECU
      2. Replace ID code box
      3. Reregister all keys (new key ID registration)

      HINT
      If key codes cannot be erased or additional keys cannot be registered due to a malfunction in certification ECU, replace ID code box and certification ECU If some keys are not registered during above steps, they will be disabled because they cannot be registered later
      All keys are lost
      1. Replace certification ECU
      2. Replace ID code box
      3. Replace steering lock ECU
      4. Register all keys (new key ID registration)
      5. ECU communication ID registration
      ID code box At least 1 key is available
      1. Replace ID code box
      2. ECU communication ID registration
      All keys are lost
      1. Replace ID code box
      2. Replace certification ECU
      3. Replace steering lock ECU
      4. Register all keys (new key ID registration)
      5. ECU communication ID registration
      Steering lock ECU Customer has brought at least 1 key
      1. Replace steering lock ECU
      2. Register recognition codes in ECUs (ECU code registration)
      All keys are lost
      1. Replace certification ECU
      2. Replace ID code box
      3. Replace steering lock ECU
      4. Register all keys (new key ID registration)
      5. ECU communication ID registration
      Main body ECU No condition required Replace main body ECU
      Hybrid vehicle control ECU No condition required
      1. Replace hybrid vehicle control ECU
      2. ECU communication ID registration

      HINT
      Only perform procedure above when replacing with used hybrid vehicle control ECU
      Key Customer has brought at least 1 key
      HINT
      After key ID erasure, any remaining keys that are not registered at this time cannot be used Therefore, after key ID erasure, register all remaining keys
      1. Using remaining key, erase lost key (key ID erasure)
      2. Register additional keys as necessary (additional key ID registration)
      All keys are lost
      1. Replace certification ECU
      2. Replace ID code box
      3. Replace steering lock ECU
      4. Register all keys (new key ID registration)
      5. ECU communication ID registration
  48. KEY REGISTRATION PROCEDURES 
    1. New key ID registration (when replacing certification ECU and ID code box, or certification ECU, ID code box and steering lock ECU)
      KEY REGISTRATION PROCEDURES

      Process Procedure
      1 Start of registration
      1. Connect Intelligent tester or Techstream to DLC3
      2. Turn power switch ON (IG)
      3. Select "SMART ACCESS/ID UTILITY/SMART CODE REG" (for intelligent tester) or "Smart Access/Utility/Key Code Registration" (for Techstream) from tester menu

      HINT
      Power switch cannot be turned ON (IG) more than 10 times After connecting tester, turn tester on while turning driver side door courtesy light switch on and off repeatedly at 1 5 seconds intervals or less to continue key registration procedure
      2 Confirmation of ECU code Perform operation according to prompts on tester screen
      HINT
      Mode is automatically selected by tester (new registration mode or add mode)
      3 Verification of unregistered key*
      1. Touch logo of unregistered key to power switch
      2. Confirm that wireless door lock buzzer sounds once (short beep)
      3. Place unregistered key on front passenger side seat
      4. Confirm that wireless door lock buzzer sounds once (short beep)
      4 Registration of ID code Perform operation according to prompts on tester screen
      5 End of registration Finish new key ID code registration
      HINT:
      *: Repeat this process for each key which is to be registered for the vehicle Finish the procedure for each key within 30 seconds. If the procedure for any of the keys has not been finished within the specified time, perform registration procedures from process 1 again. Make sure that only 1 key is in the cabin during registration procedures. If 2 or more keys are in the cabin simultaneously, electric waves will interfere with each other, preventing normal registration.
    2. New key ID registration (when replacing certification ECU)
      KEY REGISTRATION PROCEDURES

      Process Procedure
      1 Start of registration
      1. Connect Intelligent tester or Techstream to DLC3
      2. Turn power switch ON (IG)
      3. Select "SMART ACCESS/ID UTILITY/SMART CODE REG" (for intelligent tester) or "Smart Access/Utility/Key Code Registration" (for Techstream) from tester menu

      HINT
      Power switch cannot be turned ON (IG) more than 10 times After connecting tester, turn tester on while turning driver side door courtesy light switch on and off repeatedly at 1 5 seconds intervals or less to continue key registration procedure
      2 Confirmation of ECU code Perform operation according to prompts on tester screen
      HINT
      Mode is automatically selected by tester (new registration mode or add mode)
      3 Confirmation of all registered keys*1
      1. Touch logo of unregistered key to power switch
      2. Confirm that wireless door lock buzzer sounds once (short beep)
      4 Confirmation of ECU code Perform operation according to prompts on tester screen
      5 Verification of unregistered key*2
      1. Touch logo of unregistered key to power switch
      2. Confirm that wireless door lock buzzer sounds once (short beep)
      3. Place unregistered key on front passenger side seat
      4. Confirm that wireless door lock buzzer sounds once (short beep)
      6 Registration of ID code Perform operation according to prompts on tester screen
      7 End of registration Finish new key ID code registration
      HINT:
      • *1: Repeat this process for each key registered for the vehicle. Finish the procedure for each key within 30 seconds. If the procedure for any of the keys has not been finished within the specified time, perform registration procedures from process process 1 again If performing the key confirmation procedure for a key, the security indicator light comes on and remains on until all the keys are confirmed.
      • *2: Repeat this process for each key which is to be registered for the vehicle. Finish the procedure for each key within 30 seconds. If the procedure for any of the keys has not been finished within the specified time, perform registration procedures from process 1 again. Make sure that only 1 key is in the cabin during registration procedures. If 2 or more keys are in the cabin simultaneously, electric waves will interfere with each other, preventing normal registration
    3. Additional key ID registration
      KEY REGISTRATION PROCEDURES

      Process Procedure
      1 Start of registration
      1. Connect Intelligent tester or Techstream to DLC3
      2. Turn power switch ON (IG)
      3. Select "SMART ACCESS/ID UTILITY/SMART CODE REG" (for intelligent tester) or "Smart Access/Utility/Key Code Registration" (for Techstream) from tester menu
      2 Confirmation of ECU code
      1. Perform operation according to prompts on tester screen
      2. Touch logo of registered key to power switch
      3. Confirm that wireless door lock buzzer sounds once (short beep)
      3 Confirmation of ECU code Perform operation according to prompts on tester screen
      4 Verification of unregistered key*2
      1. Touch logo of unregistered key to power switch
      2. Confirm that wireless door lock buzzer sounds once (short beep)
      3. Place unregistered key on front passenger side seat
      4. Confirm that wireless door lock buzzer sounds once (short beep)
      5 Registration of ID code Perform operation according to prompts on tester screen
      6 End of registration Finish key ID code registration
      HINT
      • *1: Perform this process for one of the keys registered for the vehicle. Finish the procedure within 30 seconds If the procedure has not been finished within the specified time, perform registration procedures from process 1 again.
      • *2: Repeat this process for each key which is to be registered for the vehicle. Finish the procedure for each key within 30 seconds. If the procedure for any of the keys has not been finished within the specified time, perform registration procedures from process 1 again. Make sure that only 1 key is in the cabin during registration procedures. If 2 or more keys are in the cabin simultaneously, electric waves will interfere with each other, preventing normal registration
    4. Key ID erasure (Erase all registered key codes except one)
      KEY REGISTRATION PROCEDURES

      Process Procedure
      1 Start of erasure
      1. Connect Intelligent tester or Techstream to DLC3
      2. Turn power switch ON (IG)
      3. Select "SMART ACCESS/ID UTILITY/SMART CODE ERS" (for intelligent tester) or "Smart Access/Utility/Key Code Erasure" (for Techstream) from tester menu
      2 Confirmation of registered key*
      1. Perform operation according to prompts on tester screen
      2. Touch logo of registered key to power switch
      3. Confirm that wireless door lock buzzer sounds once (short beep)
      3 Erasure of ID code Perform operation according to prompts on tester screen
      4 End of erasure Finish key ID code erasure
      HINT
      *. Perform this process for one of the keys registered for the vehicle Finish the procedure within 30 seconds If the procedure has not been finished within the specified time, perform erasure procedures from process 1 again
    5. All keys ID erasure
      KEY REGISTRATION PROCEDURES

      Process Procedure
      1 Start of erasure
      1. Connect Intelligent tester or Techstream to DLC3
      2. Turn power switch ON (IG)
      3. Turn tester on while turning driver side door courtesy light switch on and off repeatedly at 1 5 seconds intervals or less
      4. Select "SMART ACCESS/ID UTILITY/SMART CODE RESET" (for intelligent tester) or "Smart Access/Utility/Key Code Reset" (for Techstream) from tester menu
      5. Read "SEED NUMBER" sent from TIS according to tester screen
      2 Confirmation of registered key* Touch logo of registered key to power switch
      3 Erasure of ID code Perform operation according to prompts on tester screen
      4 End of erasure Finish key ID code erasure
      HINT.
      *. Perform this process for one of the keys registered for the vehicle Finish the procedure within 30 seconds. If the procedure has not been finished within the specified time, perform erasure procedures from process 1 again.
    6. ECU code registration
      ECU CODE REGISTRATION PROCEDURES

      Process Procedure
      1 Start of erasure
      1. Connect Intelligent tester or Techstream to DLC3
      2. Turn power switch ON (IG)
      3. Select "SMART ACCESS/ID UTILITY/ECU COMM ID REG/ID Code Box and Steering Lock" (for intelligent tester) or "Smart Access/Utility/ECU Communication ID Registration/ID code box and Steering Lock" (for Techstream) from tester menu
      4. Read "SEED NUMBER" sent from TIS according to tester screen
      2 Confirmation of registered key*
      1. Touch logo of registered key to power switch
      2. Confirm that wireless door lock buzzer sounds once (short beep)
      3 Erasure of ECU code Perform operation according to prompts on tester screen
      4 End of registration Finish ECU code registration
      HINT:
      * Perform this process for one of the keys registered to the vehicle Finish the procedure within 30 seconds If the procedure has not been finished within the specified time, perform registration procedures from process 1 again
    7. ECU communication ID registration
      NOTE:
      • The ECU communication ID should be registered when the ID code box is replaced in order to match the ECU communication ID.
      • The hybrid control system cannot be started unless ECU communication ID is registered.
      • After the registration, pressing the power switch may not start the hybrid control system on the first try. If so, press the power switch again.
      • After the hybrid control system is started, erase DTC B2799-790 (code for hybrid vehicle control ECU's immobilizer communication error) using either of the following methods:
        • Use the Intelligent tester or Techstream.
        • Disconnect the battery for 30 seconds.
          Fig 43: Identifying TC And CG Terminals Of DLC3 Connector
          G05782539Courtesy of © TOYOTA, LICENSE AGREEMENT TMS1002
      1. Using SST, connect terminal 13 (TC) and 4 (CG) of the DLC3.

        SST 09843-18040 

      2. Turn the power switch ON (IG) (do not start the hybrid control system) and leave it as is for 30 minutes.
      3. Turn the power switch OFF and disconnect terminals 13 (TC) and 4 (CG).
      4. Check that the hybrid control system starts for more than 3 seconds.
    8. ECU communication ID reregistration
      NOTE: The ECU communication ID should be registered when the hybrid vehicle control ECU is replaced in order to match the ECU communication ID.
      ECU COMMUNICATION ID REREGISTRATION PROCEDURES

      Procedure Time Security Indicator Light Condition
      1 Start - OFF
      2 While holding already registered key, turn the power switch ON (IG) with brake pedal depressed
      3 Check that hybrid control system starts and stays on for more than 3 seconds
      4 End
  49. ADJUST OBJECT RECOGNITION CAMERA 

    HINT:

    If the object recognition camera sensor is replaced or removed/installed, or the toe-in is adjusted, perform the object recognition camera sensor and object recognition camera ECU adjustment

    Fig 44: Identifying Object Recognition Camera Range
    G04951445Courtesy of © TOYOTA, LICENSE AGREEMENT TMS1002
    NOTE:
    • Make sure there are no black and white patterned objects in front of the vehicle.
    • Be sure to perform the measurement on a level surface that is free of obstacles and extends 1.5 m (4.92 ft.) or more in front of the vehicle.
    • Make sure that there is no wind when performing the measurement.
    • Check that there are no reflective materials in the surroundings or on the ground within a 3 m (9.84 ft.) or more x 3 m (9.84 ft.) or more area in front of the vehicle.
    • Perform the inspection in a bright area.
    1. Beam axis learning preparation
      1. Move the vehicle to a level surface
      2. Make sure the engine oil in the vehicle is at the specified amount.
      3. Make sure the engine coolant in the vehicle is at the specified amount
      4. Make sure the fuel tank is full.
      5. Make sure the spare tire is in the vehicle
      6. Make sure the standard tools are in the vehicle
      7. Make sure nobody is in the vehicle
      8. Make sure no extra loads are in the vehicle.
      9. Adjust the tire pressures to the specified pressure.
      10. Clean the front glass
      11. If the lens of the object recognition camera sensor is dirty, apply a small amount of lens cleaner to a clean, soft cloth and clean the lens.
    2. Perform adjustment suspension control system
      1. Perform adjustment of suspension control system.
        NOTE: Perform this procedure as accurately as possible.
    3. Perform the front wheel alignment adjustment
      1. Perform the front wheel alignment adjustment.
        NOTE: Perform this procedure as accurately as possible.
    4. Perform the rear wheel alignment adjustment
      1. Perform the rear wheel alignment adjustment
        NOTE:
        • Perform this procedure as accurately as possible.
        • Press the height control switch and change the vehicle height to HIGH and return it to NORM. Then repeat.
    5. Target sheet creation
      1. Print or copy the illustration below. Check that the dimensions are +/- 5 mm (0.197 in.) of the ones in the table below.
        TARGET SHEET AREA SPECIFICATION

        Area Specification
        A 160 mm (6 30 in)
        B 160 mm (6 30 in)
        C 80 mm (3 15 in)
        D 16 mm (0 63 in)
        Fig 45: Identifying Target Sheet Creation Dimension
        G04951446Courtesy of © TOYOTA, LICENSE AGREEMENT TMS1002
        NOTE:
        • Make sure that the black areas of the target sheets are not glossy.
        • Make sure that the borders of the black and white areas on the target sheets are straight, and are not warped or blurry.

        If the print or copy's dimensions are not as specified, adjust settings and reprint or recopy so that the print or copy's dimensions are as specified.

        Fig 46: Identifying Target Sheet Creation
        G04951447Courtesy of © TOYOTA, LICENSE AGREEMENT TMS1002
    6. Target sheet attachment

      If the print or copy's dimensions are not as specified, adjust settings and reprint or recopy so that the print or copy's dimensions are as specified.

      Fig 47: Identifying Target Sheet Attachment With Cardboard
      G04951448Courtesy of © TOYOTA, LICENSE AGREEMENT TMS1002
      1. Place the prepared target sheet on a piece of cardboard of the same size with the black area on the top right, as shown in the illustration. Then use double-sided tape to fix the target sheet in place.
        NOTE: Do not attach reflective tape, such as scotch tape, etc. to the target face, as this may affect target recognition.
      2. Hang a weight with a pointed tip from the center of the target sheet. Then, with double-sided tape, attach the target sheet to the reflector so that the weight aligns with the mark-off line of SST (laser radar adjusting reflector).

        SST 09870-60000 (09870-60010,09870-60020) 

        NOTE:
        • Perform this procedure as accurately as possible.
        • Attach the target sheet so that it is horizontal with the ground.
          Fig 48: Attaching Target Sheet To Laser Radar Adjusting Reflector
          G04951449Courtesy of © TOYOTA, LICENSE AGREEMENT TMS1002
      3. Move the reflector up and down to position the center of the target at the height shown in the illustration, and fix it in place.

        Dimension A: 

        1270mm (50 in.) 

        SST 09870-60000 (09870-60010,09870-60020) 

        Fig 49: Identifying Center Of Reflector And Target Height
        G04951450Courtesy of © TOYOTA, LICENSE AGREEMENT TMS1002
        NOTE: Perform this procedure as accurately as possible.
    7. Target placement point measurement
      NOTE:
      • Do not place black and white patterned objects near the target.
      • Face the vehicle toward a wall with no patterns, or make sure the background behind the target has no patterns.
      • Perform this procedure as accurately as possible.
      • Do not place reflective materials in the area behind the target.
      • Make sure there are no patterns on the wall behind the target.
      • Make sure the distance between the target and wall is within 3 m (9.84 ft.).
      • Make sure the target's shadow is not on the wall, as the camera may have a recognition error.
      1. From the center of the front and back bumpers (center of the emblems), hang a weight with a pointed tip, and mark the front bumper center point A and the rear bumper center point B on the ground.
      2. Draw a line that connects points A and B, and extend the line approximately 2 m (6 56 ft) beyond the front of the vehicle.
        Fig 50: Identifying Front And Rear Bumper Center Points
        G04951451Courtesy of © TOYOTA, LICENSE AGREEMENT TMS1002

        HINT

        Secure the end of a string to point B. Then hold the other end of the string approximately 2 m (6.56 ft) in front of the vehicle, and move it to the left or right to align the string with point A to make a straight line

      3. Mark point C 990 mm (39 0 in) from the front bumper center point A (placement point 1).
        Fig 51: Identifying Placement Point
        G04951452Courtesy of © TOYOTA, LICENSE AGREEMENT TMS1002
      4. From point C, move 700 mm (27.6 in.) towards the front bumper center point A and mark point D.
      5. From point C, place marking tape at the point 700 mm (27.6 in.) perpendicular to the line that connects points A and B.
        NOTE: Place the tape so that there is plenty of surface area along the perpendicular line.
      6. Using a measuring tape of 5 m (16.41 ft.) or more, and point D as the center point, draw the part of a 900 mm (38.98 in.) circle that overlaps the marking tape (line E).
      7. Mark point F where the following intersect. 1) from point C, the point that is 700 mm (27 6 in) perpendicular from the line that connects point A and B; and 2) line E.
      8. Set the measuring tape from point C to F. Then mark point G 740 mm (29 1 in.) from point C (line extending from point C to F) (placement point 2).
      9. Set the measuring tape from point F to C. Then mark point H 740 mm (29.1 in.) beyond point C (placement point 3).
      10. Set a string between points G and H, and draw a line on the ground (target placement line)
    8. Object recognition camera sensor height measurement
      NOTE:
      • Do not place black and white patterned objects near the target.
      • Face the vehicle toward a wall with no patterns, or make sure the background behind the target has no patterns.
      • Perform this procedure as accurately as possible.
      • Do not place reflective materials in the area behind the target.
      • Make sure there are no patterns on the wall behind the target.
      • Make sure the distance between the target and wall is within 3 m (9.84 ft.).
      • Make sure the target's shadow is not on the wall, as the camera may have a recognition error.
      Fig 52: Measuring Distance From Ground To Point H For Front Left Wheel Arch
      G04951453Courtesy of © TOYOTA, LICENSE AGREEMENT TMS1002
      1. Measure the distance (X mm or in) from the ground to point H for the front left wheel arch.
      2. Measure the distance (Y mm or in) from the ground to point H for the front right wheel arch.
      3. The average of the 2 distances (X mm or in, Y mm or in) plus 599 mm (23 6 in.) is the height of the object recognition camera sensor
    9. Memorize camera/target position
      NOTE:
      • Close all doors.
      • Perform the procedure with no one in the vehicle.
      • During the procedure, do not lean on the vehicle.
      • Illuminate the clearance lights.
      • Do not illuminate the headlights.
      1. When using intelligent tester:
        1. Connect the Intelligent tester to the DLC3.
        2. Turn the power switch ON (IG).*1
        3. Turn the Intelligent tester main switch ON.
        4. Follow the instructions on the screen menu: select "Lane Keeping Assist", then select "CAMERA POSITION" and press "Enter".

          HINT.

          A buzzer will sound for 1 second.

        5. Follow the tester display, and continue with the adjustment
      2. When using Techstream
        1. Connect Techstream to the DLC3
        2. Turn the power switch ON (IG)
        3. Turn the Techstream main switch ON, and turn the LKA main switch ON.
        4. Select "Connect to Vehicle".
        5. Under "Option", select "LKA System".
        6. Under "System Selection Menu", select "Powertrain"
        7. Select "Object Recognition Camera"

          HINT.

          A buzzer will sound for 1 seconds

        8. Follow the tester display, and continue with the adjustment
      3. Input the measured height of the object recognition camera sensor and the horizontal position of the camera "175 mm (6 89 in)" into the input screen. Then press the "Enter" button on the display screen
      4. Input "3000 mm (118 in.)" for the distance from the camera to the target and "1270 mm (50 0 in.)" for the height of the target into the input screen Then press the "Enter" button on the display screen.
      5. Press the "Exit" button to finish the camera/ target position memory mode.
        NOTE: If "Error Camera/target position memory" is displayed on the screen, press the "Try Again" button, and repeat procedures *1 again.
    10. Beam axis learning
      1. Select "LKA System" from the display screen.*1
      2. Select "Utility" from the display screen.
      3. Select "Camera axis adjust" from the display screen.
      4. Follow the tester display, and continue with the adjustment.
      5. Align the target sheet with the target placement line, and align the mark-off line with placement point 1 (point C).
      6. Check that the screen displays beam axis learning for target 1, then press the "Enter" button on the display screen.
        Fig 53: Aligning Target Sheet With Target Placement Line
        G04951454Courtesy of © TOYOTA, LICENSE AGREEMENT TMS1002
      7. Align the target sheet with the target placement line, and align the mark-off line with placement point 2 (point G).
      8. Check that the screen displays beam axis learning for target 2, then press the "Enter" button on the display screen.
        NOTE: Within 3 minutes after the screen displays the beam axis learning for target 2, move the target and press the "Enter" button on the display screen.
        Fig 54: Aligning Target Sheet With Target Placement Line
        G04951455Courtesy of © TOYOTA, LICENSE AGREEMENT TMS1002
      9. Align the target sheet with the target placement line, and align the mark-off line with placement point 3 (point H).
      10. Check that the screen displays beam axis learning for target 3, then press the "Enter" button on the display screen.
        NOTE: Within 3 minutes after the screen displays the beam axis learning for target 3, move the target and press the "Next" button on the display screen.
      11. Press the "Exit" button to finish the beam axis learning mode
        Fig 55: Aligning Target Sheet With Target Placement Line
        G04951456Courtesy of © TOYOTA, LICENSE AGREEMENT TMS1002
        NOTE: If "Error camera axis adjust" is displayed on the screen, press the "Exit" button. Then after checking the conditions below, turn the power switch ON (IG) and OFF, and repeat from procedure *1 again.
        • Height of the target.
        • Distance from object recognition camera sensor to target.
        • Orientation of target (black area positioned on top right).
        • If surrounding area is bright enough.
        • If black and white patterned objects are placed near the target.
  50. ADJUST MILLIMETER WAVE RADAR SENSOR ASSEMBLY 
    CAUTION: Exposure to radio frequency emissions is hazardous to your health. It is hazardous to your health to be within 20 cm (7.87 in.) of the device's radio frequency aperture.
    NOTE:
    • This device complies with FCC radio frequency emission regulations.
    • Perform measurements on a level surface.
    • Make sure that no large pieces of metal are within a 10 m (32.8 ft.) x 14 m (45.9 ft.) area in front of the vehicle. If possible, the surrounding area should also be free of large metal objects.
      Fig 56: Identifying Millimeter Wave Radar Sensor Range
      G04951470Courtesy of © TOYOTA, LICENSE AGREEMENT TMS1002
    1. Before adjusting the radar beam axis, prepare the vehicle as follows.
      1. Check the tire pressure and adjust it if necessary.
      2. Remove all excess weight from the vehicle (luggage, heavy objects, etc).
    2. w/Air Suspension:

      Adjust the vehicle's height to the standard height.

    3. Check and adjust the vertical direction of the radar sensor.
      1. Remove dust, oil and foreign matter from the radar sensor's level rack.
      2. Set a level on the radar sensor's level rack.
        Fig 57: Identifying Radar Sensor's Level
        G04951471Courtesy of © TOYOTA, LICENSE AGREEMENT TMS1002
      3. Check that the level's air bubble is within the red frame.

        OK: Level's air bubble is within red frame. 

        If the bubble is not within the red frame, use a screwdriver to adjust bolt A until the air bubble is within the red frame.

        HINT.

        • The adjustable range within the level's red frame is +/-0 2°
        • The target angle is +0.2° (upward angle of 0.2°).
          Fig 58: Checking Level's Air Bubble
          G05776086Courtesy of © TOYOTA, LICENSE AGREEMENT TMS1002

        Result 

        ADJUSTMENT PROCEDURE CHART

        Adjustment Direction Adjustment Procedure Adjustment Angle
        Vertical adjustment Upward direction: Turn bolt A to negative (-) side For every 8.4 rotations of adjustment bolt, sensor moves about 1°
        Downward direction: Turn bolt A to positive (+) side
    4. Adjust the reflector height.
      1. Adjust the reflector so that the center of SST reflector is the same height as the millimeter wave radar sensor.

        SST 09870-60000 

        HINT

        Prepare a 10 m (32.8 ft.) string, a string with a sharp-pointed weight (plumb bob), and a 5 m (16.4 ft) tape measure.

        Fig 59: Adjusting Reflector Height
        G05776087Courtesy of © TOYOTA, LICENSE AGREEMENT TMS1002
    5. Place the reflector.
      1. Hang the string (with weight) from the center of the vehicle rear's emblem. Mark the vehicle rear's center point on the ground. Repeat for the front of the vehicle.
      2. Set one end of the 10 m (32 8 ft) string on the vehicle rear's center point. Run the string over the vehicle front's center point to a position 5 m (16.4 ft.) beyond the vehicle front's center point, as shown in the illustration. Mark the 5 m (16.4 ft.) position.
      3. Using a tape measure, measure 12 mm (0 472 in.) to the left of the 5 m (16.4 ft.) position. Place the reflector at that position.
        Fig 60: Adjusting Vehicle Front's Center Point
        G04951474Courtesy of © TOYOTA, LICENSE AGREEMENT TMS1002
        NOTE: Perform the operation as precisely as possible.
        Fig 61: Identifying Millimeter Wave Radar Sensor Position
        G04951475Courtesy of © TOYOTA, LICENSE AGREEMENT TMS1002
    6. Check the radar beam axis.
      1. When using intelligent tester:
        1. Connect the Intelligent tester to the DLC3.
        2. Turn the power switch ON (IG).
        3. Turn the Intelligent tester main switch ON, and turn the cruise control main switch ON.
        4. Follow the instructions on the screen menu. Select "RADAR CRUISE", then select "BEAM AXIS ADJ", and press "Enter".
        5. Continue the procedure according to the instructions on the tester screen.
        6. After the CRUISE main indicator light illuminates, press "ENTER".

          HINT:

          A buzzer will sound for 1 second.

      2. When using Techstream.
        1. Connect Techstream to the DLC3.
        2. Turn the power switch ON (IG).
        3. Turn the Techstream main switch ON, and turn the cruise control main switch ON.
        4. Select "Connect to Vehicle"
        5. Select each item on the display screen and proceed to the next screen.
        6. Under "System Selection Menu", select "Radar Cruise".
        7. Select "Utility".
        8. Select "Beam Axis Adjustment" and proceed to the next screen

          HINT:

          A buzzer will sound for 1 second

        9. Follow the tester display, and continue with the adjustment
      3. Check the following items on the laser cruise divergence data screen.
        NOTE: While using the intelligent tester's beam axis adjustment mode, the actual direction and angle of the radar sensor may be different from the intelligent tester's data. In such a case, the deviation is displayed on the combination meter's multi-information display.
        1. Confirm that the distance value is approximately 5 m (16.4 ft)

          HINT.

          • A value between 0.0 and 6.3m (20.7 ft) is indicated.
          • If the distance is 0 m (0 ft.), the sensor cannot detect the target Reconfirm that there is no metal in the specified area in front of the vehicle (refer to the NOTICE at the beginning of this adjustment procedure).
        2. Confirm that the left/right side value is between 0.0 and 6.3.

          HINT

          If the distance is 0 m (0 ft.), the sensor cannot detect the target Reconfirm that there is no metal in the specified area in front of the vehicle (refer to the NOTICE at the beginning of this adjustment procedure).

    7. Check and adjust the horizontal direction of the radar sensor
      1. Check that the divergence of the radar beam axis is 0°.

        Standard: 

        0° (Both right and left) 

        If the axis is not as specified, use a screwdriver to adjust bolt B until the divergence of the radar beam axis is 0°.

      2. Based on the measured divergence of the beam axis, turn and adjust bolt B for horizontal adjustment of the millimeter wave radar sensor using a screwdriver.

        Result 

        ADJUSTMENT PROCEDURE CHART

        Adjustment Direction Adjustment Procedure Adjustment Angle
        Horizontal adjustment Right direction Turn bolt B to positive (+) side For every 18 6 rotations of adjustment bolt, sensor moves about 1 °
        Left direction Turn bolt B to negative (-) side
        Fig 62: Turning Adjust Bolt
        G05776090Courtesy of © TOYOTA, LICENSE AGREEMENT TMS1002

        HINT:

        • If "LEFT SIDE: 1.0°" is displayed, the divergence is 1.0° in the left direction. Turn bolt B approximately 18.6 turns to the negative (-) side.
        • If the value does not change to 0°, it is possible that the sensor is aiming at something different. Reconfirm that there are no reflective materials in the surrounding area.
      3. Select "Next". The driving learning value is automatically reset.

        HINT

        A buzzer will sound for 10 seconds or more.

      4. Disconnect the Intelligent tester or Techstream from the DLC3.
    8. Recheck and readjust the vertical direction of the radar sensor.
      1. Set a level on the radar sensor's level rack.
        Fig 63: Identifying Radar Sensor's Level
        G04951471Courtesy of © TOYOTA, LICENSE AGREEMENT TMS1002
      2. Check that the level's air bubble is within the red frame.

        OK: Level's air bubble is within the red frame. If the bubble is not within the red frame, use a screwdriver to adjust bolt A until the level's air bubble is within the red frame. 

        HINT.

        • The adjustable range within the red frame is +/-0.2°
        • The target angle is +0.2° (upward angle of 0 2°)

        Result 

        ADJUSTMENT PROCEDURE CHART

        Adjustment Direction Adjustment Procedure Adjustment Angle
        Vertical adjustment Upward direction: Turn bolt A to negative (-) side For every 8.4 rotations of adjustment bolt, sensor moves about 1°
        Downward direction: Turn bolt A to positive (+) side
        Fig 64: Checking Level's Air Bubble
        G05776086Courtesy of © TOYOTA, LICENSE AGREEMENT TMS1002
  51. INITIALIZATION WITH DIAGNOSIS SYSTEM 
    1. Start the diagnostic system.
    2. Perform STEERING CENTER MEMORIZE and MAX STEERING ANGLE MEMORIZE on the STEERING ANGLE SETTING screen.
    3. Finish the diagnostic system
  52. INITIALIZATION WITH MANUAL OPERATION 
    1. Turn the power switch ON (IG) or start the hybrid control system.
    2. Fully turn the steering wheel to the right *
    3. Fully turn the steering wheel to the left *

      HINT.

      *. These procedures can be performed as shown or in reverse

  53. SYSTEM ADJUSTMENT 
    1. If the following operations are performed, the adjustments shown below are required.
      ADJUSTMENT ITEM REFERENCE

      Part name Operation Adjustment Item
      Television camera
      • Replace
      • Installation angle of television camera is deviated because of removal and installation of television camera, etc
      Television camera optical axis (camera position setting)
      Parking assist ECU Replace
      • Steering angle neutral point
      • Store left and right maximum steering angle
      • television camera optical axis (camera position setting)

      HINT

      If the parking assist ECU is replaced, screen noise adjustment is automatically performed when steering angle setting and camera position setting are performed.

  54. PREPARATION FOR ADJUSTMENT 
    Fig 65: Television Camera Adjustment Chart
    G05770263Courtesy of © TOYOTA, LICENSE AGREEMENT TMS1002

    HINT:

    Only when adjusting the optical axis of the camera, set the target bar for adjustment

    1. Park the vehicle with its wheels facing straight ahead and the steering wheel centered.
    2. Set the target bar for adjustment.

      HINT:

      • Adjust the tire pressure to the specification.
      • The target bar for adjustment is a piece of tape attached to the floor. Check the color on the screen and choose a tape color which can be easily seen.
      • Before parking the vehicle, move the vehicle back and forth to check that the wheels are facing straight ahead and that the steering wheel is centered.
  55. BOOT DIAGNOSIS MODE 
    1. Start the hybrid control system.
    2. Start the diagnostic system
    3. Select "Camera Check" on the Diagnosis Menu.
  56. SET VEHICLE HEIGHT 
    1. At the "SIGNAL CHECK" screen, press "HTINIT" to display the "HEIGHT SET" screen.

      HINT

      • Before performing the camera position setting, the vehicle height setting must be performed in the "HEIGHT SET" screen.
      • If the vehicle height setting is not completed, the "HT INIT" display will change to "CHECKING".
    2. Measure the distance A between the ground and television camera in the illustration.
    3. Calculate the difference between the distance A and the standard height below.

      Standard: 

      944 mm (37.2 in.) 

      Fig 66: Measuring Distance A Between Ground And Television Camera
      G04947443Courtesy of © TOYOTA, LICENSE AGREEMENT TMS1002
    4. Press "UP" and "DOWN" to input the calculated difference.
    5. After inputting the calculated difference, press "OK".

      The vehicle height setting will be recorded.

      HINT:

      • Press "OK" with the vehicle in the same condition as when the vehicle height was measured.
      • If a person was in the driver's seat when the vehicle height was measured, press "OK" with the same person in the driver's seat
      • On the "SIGNAL CHECK" screen, check that the "HT INIT" display is "INPUT OK"
        Fig 67: System Check Screen - Height Set
        G04947444Courtesy of © TOYOTA, LICENSE AGREEMENT TMS1002
  57. SET PARALLEL PARKING OFFSET 
    1. Select "PARALLEL OFFSET" on the SIGNAL CHECK screen.
    2. Perform the parallel parking offset.
      1. Press the UP or DOWN switches to adjust.

        HINT:

        • Positive, numbers are displayed in green. Negative numbers are displayed in red.
        • When the value is changed in the "+" direction, the vehicle moves toward the road shoulder.
          Fig 68: Signal Check Screen - Parallel Parking Offset
          G04947445Courtesy of © TOYOTA, LICENSE AGREEMENT TMS1002
  58. SET VOLUME 
    1. Select "VOLUME" on the SIGNAL CHECK screen.
    2. Select the volume level on the VOLUME screen.
      Fig 69: Signal Check Screen - SET VOLUME
      G04947446Courtesy of © TOYOTA, LICENSE AGREEMENT TMS1002
  59. SET CAMERA POSITION SETTING 
    1. Select the "NEXT" button on the SIGNAL MENU screen

      HINT.

      If DTC C1650 (5C-74) is output, pushing the "NEXT" button does not advance the screen to the CAMERA POSITION SETTING screen.

    2. Perform the roll angle adjustment
      1. Press the directional switches to rotate the target adjustment bars.
    3. Perform the vertical and horizontal position adjustment
      1. Press the directional switches to move the target adjustment boxes.
        Fig 70: Signal Menu Screen - CAMERA POSITION SETTING
        G04947447Courtesy of © TOYOTA, LICENSE AGREEMENT TMS1002
        Fig 71: Signal Menu Screen - CAMERA POSITION SETTING
        G04947448Courtesy of © TOYOTA, LICENSE AGREEMENT TMS1002
  60. SET BUMPER POSITION 
    1. Press the directional switches to move the target adjustment
    2. If the right and left bumper need to be adjusted individually, press the "L/R" button on the BUMPER.
      Fig 72: Signal Check Screen - Directional Switches (Bumper)
      G04947449Courtesy of © TOYOTA, LICENSE AGREEMENT TMS1002
    3. Press the directional switches to move the target adjustment on the LEFT BUMPER and RIGHT BUMPER screen.
      Fig 73: Signal Check Screen - Directional Switches (Left Bumper)
      G04947450Courtesy of © TOYOTA, LICENSE AGREEMENT TMS1002
  61. CHECK VERIFY MODE 
    1. Check that A and the target adjustment bar are overlapping
      • If A and the target adjustment bar are not aligned even if the tires are aligned straight ahead, perform the CAMERA POSITION SETTING operation
    2. Selecting "NEXT" will move to the STEERING ANGLE SETTING screen, and complete the adjustment.

      HINT

      The update is not completed until the "NEXT" key is pressed.

      Fig 74: System Check Screen - Verify Mode
      G04947451Courtesy of © TOYOTA, LICENSE AGREEMENT TMS1002
  62. SET STEERING ANGLE SETTING 
    1. Perform the STEERING CENTER MEMORIZE operation
      1. Check that the steering wheel is centered, and then press "STEERING CENTER MEMORIZE"

        HINT.

        Fig 75: System Check Screen - Set Steering Angle Setting
        G04947452Courtesy of © TOYOTA, LICENSE AGREEMENT TMS1002
        • When performing removal and installation, or replacement of the television camera, steering angle adjustment is not required. Press "OK" on the steering angle setting screen However, the current steering angle is automatically stored as the steering angle neutral point when the steering angle setting screen is displayed. Make sure that the steering wheel is centered before changing the display to the steering angle setting screen.
        • Even when storing the steering angle neutral point only, the system cannot store it unless the operation is completed by following the prompts from "NEXT" to "OK"
    2. Perform the MAX STEERING ANGLE MEMORIZE operation
      1. After adjusting the steering angle neutral point, turn the steering wheel to the left and right lock positions and press "MAX STEERING ANGLE MEMORIZE". The maximum steering angle is then stored.

        HINT.

        The key "OK" does not respond until the system stores the steering angle neutral point and maximum steering angle.

  63. FINISH DIAGNOSIS MODE 
    1. Turn the power switch OFF.
  64. MAYDAY ECU INITIALIZATION 

    HINT

    This procedure is for switching a new Mayday ECU from the Factory Mode into Demo Mode

    1. Turn the power switch from OFF to ON (IG) (engine does not have to be running).
    2. The Mayday ECU will perform the Factory Mode Start Sequence for approximately 30 seconds.

      HINT.

      • In Factory Mode, for each power switch cycle OFF to ON (IG), or after checking or clearing DTCs, the ECU will perform a start sequence that includes a Japanese prompt and flashing LEDs (approximately 30 seconds). Then the LEDs will turn off Do not push any buttons during this start sequence.
      • If there is a DTC detected during this Factory Mode Start Sequence, after the start sequence, the red LED will remain on and a Japanese prompt will repeat 5 times. Do not press any buttons during these prompts
    3. BUTTON SEQUENCE:

      While pressing and holding the VOL+ button, press and release the PHONE button 5 times within 15 seconds, then release the VOL+ button When switched to Demo Mode, each LED will flash one time then turn off (approximately 5 seconds).

    4. CONFIRMATION:

      Confirm Demo Mode by pressing the SERVICES button and listening for the demo prompt "Hello and welcome to LEXUS Link " (the power switch must be ON (IG) for the SERVICES button to function). Additionally, after each power switch cycle OFF to ON (IG), the LEDs will each flash one time each. This start sequence takes approximately 5 seconds. If Demo Mode is not confirmed, repeat the initialization procedure.

      HINT

      • Before troubleshooting a DTC, attempt to initialize the ECU into Demo Mode with the button sequence. Then access DTCs and troubleshoot the ECU in Demo Mode. If necessary, DTCs can still be accessed in Factory Mode. However, the 30 second Factory Mode Start Sequence (and the Japanese prompt, which will repeat 5 times if a DTC is set) will occur after each power switch cycle OFF to ON (IG), and after each DTC check or clear. Do not press any buttons during this start sequence.
      • A red LED continuously on in any mode indicates that there is a current DTC set. Refer to the DTC chart.
      • Do not push any buttons during any start sequences (LED flashing or voice prompts).
  65. MAYDAY ECU REGISTRATION / ENROLLMENT 
    1. Turn the power switch ON (IG) and wait for the 5 second LED flash start sequence. Press the SERVICES button when the Mayday ECU is set normally and confirm that the following demo message is provided

      "Hello and welcome to LEXUS Link.." If the message is not provided, perform the "MAYDAY ECU INITIALIZATION BUTTON SEQUENCE" again

    2. As the message states, press the SERVICES button again during the prompt to connect to the LEXUS Link call center.

      HINT:

      Usually this call will connect within 15 to 30 seconds However, it may take several minutes depending on cellular service in the area A progression tone (i.e., beep) will be heard every 5 seconds to indicate that the connection attempt is in progress.

    3. A LEXUS Link call center advisor will answer and instruct the technician on how to register/enroll the new Mayday ECU The ESN, STID and VIN may be required at this time

      HINT.

      • If the LEXUS Link call center cannot be reached after several attempts using the SERVICES button, or a cell tower message is heard, such as "Welcome to Verizon Wireless, your phone is not active at this time...", call the LEXUS Link call center by pushing the EMERGENCY button.
      • The LED flash start sequence (approximately 5 seconds) after the power switch is cycled or after checking/clearing DTCs remains present after enrollment. A green LED continuously on after this sequence indicates that the LEXUS Link System is activity enrolled.
  66. MAYDAY BATTERY REGISTRATION 

    HINT:

    • This procedure is required to register a new Mayday battery and clear DTC 6-1. This procedure matches the new Mayday battery with the new or used ECU.
    • A new Mayday ECU always requires a new Mayday battery (used Mayday batteries should not be reused in a new ECU).
    • If the new replacement ECU is packaged and already connected to the new Mayday battery when it arrives from the factory, and current DTC 6-1 is not set, do not perform the new Mayday battery registration (the battery is already registered to the ECU that it is connected to)
    1. Turn the power switch from OFF to ON (1G) and wait for the start up sequence of LED flashing to complete Do not press any buttons during this start up sequence.

      (Note that Demo Mode and active enrolled ECUs have an approximately 5 second LED flashing start sequence. Factory Mode has approximately 30 seconds of LED flashing with a Japanese voice prompt Also note if a current DTC is set in Factory Mode after this start sequence This can be confirmed if the red LED remains on and an additional Japanese prompt repeats 5 times)

    2. BUTTON SEQUENCE

      Press and hold the PTT button while completing the following sequence of button presses VOL+, VOL+, VOL-, VOL-, VOL+, VOL+, VOL-, VOL-, VOL+, VOL+, VOL-, VOL-

      Release all buttons. This button press sequence should be performed within 15 seconds.

    3. The system will then perform the same start sequence as described above After this start sequence completes, cycle the power switch to OFF then ON (IG). Wait for the start sequence to complete The new Mayday battery is now registered to the Mayday ECU and DTC 6-1 should be cleared

      HINT.

      The Mayday battery registration can be done in any mode (Factory Mode, Demo Mode or active enrolled)

  67. MAYDAY BATTERY CONFIRMATION 
    1. After Mayday battery replacement and completion of the "MAYDAY BATTERY REGISTRATION BUTTON SEQUENCE", turn the power switch OFF and ON (IG), and wait for the start sequence described in the "MAYDAY BATTERY REGISTRATION". Then check that current DTC 6-1 is cleared
      NOTE: If the "MAYDAY BATTERY REGISTRATION BUTTON SEQUENCE" has not been completed correctly, current DTC 6-1 will continue to be detected even if the Mayday battery is replaced with a new one. In this case, check to be sure the old battery is removed and the new battery is installed. Then perform the "MAYDAY BATTERY REGISTRATION BUTTON SEQUENCE" again.
  68. INITIALIZE POWER WINDOW CONTROL SYSTEM (POWER WINDOW REGULATOR MOTOR (ALL DOORS)) 
    CAUTION: When the power window regulator motor is reinstalled or replaced, the power window control system must be initialized. Functions such as the AUTO UP/DOWN, jam protection and key-off do not operate if the initialization is not performed.

    HINT.

    When the battery is replaced, it is not necessary to initialize the power window regulator motor.

    NOTE:
    • When the power window regulator motor assembly is replaced, DTC B2313 is output. Clear the DTC after the initialization.
    • When performing initialization, do not perform any other procedures.
    • After a door glass or a door glass run has been replaced, the jam protection function may operate unexpectedly when the AUTO UP function is used, due to detection of the different operation learned value of the door glass movement speed. In such cases, the AUTO UP function can be resumed by repeating the following operation at least 5 times:
      1. Open the power window by fully pushing down the switch.
      2. Close the power window by fully pulling up the power window switch and holding it at the AUTO UP position.
    • If the initialization is not completed properly, the LIN communication system may have a malfunction.
    1. Initialization procedures when replacing the power window regulator motor with new one
      1. Connect the battery and turn the power switch ON (IG) (At this time, the LED on the power window regulator switch blinks to indicate that it is ready for initialization)
      2. Fully open the window by fully pushing the power window regulator switch, and hold the switch for 1 second or more after the window is fully opened.
      3. Fully close the power window by fully pulling the power window regulator switch, and hold the switch for 1 second or more after the window is fully closed to reset the glass position The LED on the power window regulator switch changes from blinking to illuminated to indicate that the initialization is complete.
    2. Initialization procedures when removing/installing the power window regulator motor assembly
      1. Connect the battery and turn the power switch ON (IG)
      2. Fully close the power window by fully pulling the power window regulator switch, and hold the switch for 6 seconds or more after the window is fully closed (If the power window does not move or stops halfway even when the switch is fully pulled, release the switch and fully pull it again.)
      3. Fully open the window by pushing down the power window regulator switch, and hold the switch for 1 second or more after the window is fully opened.
      4. Release the power window regulator switch. Then fully push and hold the switch 4 seconds or more.
      5. Fully close the power window by fully pulling the power window regulator switch, and hold the switch 1 second or more after the window is fully closed to reset the glass position the initialization is complete.
    3. Initialization procedures when the power window does not fully open
      1. Connect the battery and turn the power switch ON (IG)
      2. Fully close the power window by fully pulling the power window regulator switch, and hold the switch for 6 seconds or more after the window is fully closed (If the power window does not move or stops halfway even when the switch is fully pulled, release the switch and fully pull it again.)
      3. Fully open the window by pushing down the power window regulator switch, and hold the switch for 1 second or more after the window is fully opened.
      4. Release the power window regulator switch. Then fully push and hold the switch 4 seconds or more.
      5. Fully close the power window by fully pulling the power window regulator switch, and hold the switch 1 second or more after the window is fully closed to reset the glass position the initialization is complete
  69. INITIALIZE FRONT POWER SEAT CONTROL SYSTEM 
    NOTE: The position sensor initialization must be performed if one of the following occurs.
    • Front power seat switch (seat ECU) is replaced.
    • Front seat adjuster is replaced.
    • Initialization cancel operation is performed.
    • Power seat motor for the driver seat is operated when D/C CUT1 fuse or D MPX-B 1 fuse has an open circuit.
    • Power seat motor for the front passenger seat is operated when D/C CUT2 fuse or D MPX-B fuse has an open circuit.
    • Power seat motor inspection is performed.
    1. Initialization cancel operation for driver seat
      1. Turn the power switch ON (IG).
      2. Press the power seat switch front vertical switch downward 3 times.*1
      3. Within 10 seconds of the above operation, begin the following operation: perform the rearward reclining operation and upward lifter operation simultaneously for 10 seconds or more (buzzer sounds for 0.5 seconds). This will cancel the initialization.*2
        Fig 76: Identifying Power Driver Seat Switch Position
        G05770274Courtesy of © TOYOTA, LICENSE AGREEMENT TMS1002
    2. Initialization operation for driver seat
      1. Perform the initialization cancel operation.
      2. Use the slide operation to move the front power seat to the rearmost lock position.*1
        Fig 77: Identifying Power Driver Seat Switch Position
        G05770275Courtesy of © TOYOTA, LICENSE AGREEMENT TMS1002

        HINT:

        • While performing the slide operation, the buzzer sounds.
        • After the slide operation initialization is complete, the headrest and cushion extender initialization occurs automatically. At this time, the headrest will move to the uppermost position, and the cushion extender will move rearward.
      3. Use the reclining operation to move the seatback to the foremost lock position (buzzer sounds for 0.5 seconds).*2
      4. Operate the power seat switch and check that the head restraint moves to the lowermost position. *1
      5. Operate the power seat switch and check that the seat slides forward and rearward and that the beeping sound is not emitted.*2

        HINT:

        After performing all of the procedures above, if the buzzer sounds while performing a manual operation, the initialization was not completed properly. Repeat all of the above procedures.

        Fig 78: Identifying Power Driver Seat Switch Position
        G04952415Courtesy of © TOYOTA, LICENSE AGREEMENT TMS1002
    3. Initialization cancel operation for passenger seat
      1. Turn the power switch ON (IG).
      2. Press the power seat switch front vertical switch downward 3 times.*1
      3. Within 10 seconds of the above operation, begin the following operation: perform the rearward reclining operation and upward lifter operation simultaneously for 10 seconds or more (buzzer sounds for 0.5 seconds). This will cancel the initialization *2
        Fig 79: Identifying Power Passenger Seat Switch Position
        G05770277Courtesy of © TOYOTA, LICENSE AGREEMENT TMS1002
    4. Initialization operation for passenger seat

      HINT:

      *. for Ottoman

      1. Perform the initialization cancel operation.
      2. Use the slide operation to move the front power seat to the rearmost lock position *1

        HINT.

        • While performing the slide operation, the buzzer sounds.
        • After the slide operation initialization is complete, the headrest and lifter initialization occurs automatically. At this time, the headrest will move to the lowermost position, and the lifter will move either upward or downward.
      3. Use the reclining operation to move the seatback to the foremost lock position (buzzer sounds for 0.5 seconds) *2
        Fig 80: Identifying Power Passenger Seat Switch Position
        G05770278Courtesy of © TOYOTA, LICENSE AGREEMENT TMS1002
      4. Operate the power seat switch and check that the head restraint moves to the uppermost position.*1
      5. Operate the power seat switch and check that the seat slides forward and rearward and that the beeping sound is not emitted.*2

        HINT:

        • After performing all of the procedures above, if the buzzer sounds while performing a manual operation, perform the rear seat initialization*
        • After performing all of the procedures above, if the buzzer sounds while performing a manual operation, the initialization was not completed properly Repeat all of the above procedures.
          Fig 81: Identifying Power Passenger Seat Switch Position
          G05770366Courtesy of © TOYOTA, LICENSE AGREEMENT TMS1002
  70. REAR POWER SEAT INITIALIZATION 
    NOTE: The position sensor initialization must be performed if one of the following occurs.
    • Position control ECU is replaced.
    • Rear seat adjuster is replaced.
    • Initialization cancel operation is performed.
    • Power seat motor for the rear right side seat is operated when D/C CUT1 fuse or D MPX-B 1 fuse has an open circuit.
    • Power seat motor for the rear left side seat is operated when D/C CUT2 fuse or RR MPX-B 2 fuse has an open circuit.
    • Power seat motor inspection is performed.

    HINT:

    The initialization is only performed for the seat selected with the left / right selection switch

    1. Initialization cancel operation
      1. Turn the power switch ON (IG).
      2. Press the rear power seat switch upper lumbar switch rearward 3 times.
        Fig 82: Identifying Rear Power Seat Switch Position
        G04952505Courtesy of © TOYOTA, LICENSE AGREEMENT TMS1002
      3. Within 10 seconds of the above operation, begin the following operation: perform the downward headrest operation and forward slide operation simultaneously for 10 seconds or more. This will cancel the initialization (buzzer sounds for 0.5 seconds)
        Fig 83: Identifying Rear Power Seat Switch Position
        G04952506Courtesy of © TOYOTA, LICENSE AGREEMENT TMS1002
    2. Initialization operation

      HINT:

      *: for Ottoman

      1. Perform the initialization cancel operation.
      2. Use the slide operation to move the rear power seat to the rearmost lock position

        HINT:

        While performing the slide operation, the buzzer sounds

        Fig 84: Identifying Rear Power Seat Rearmost Lock Position
        G04952507Courtesy of © TOYOTA, LICENSE AGREEMENT TMS1002
      3. Use the reclining* operation to move the rear power seat to the rearmost lock position (buzzer sounds for 0.1 seconds).
        Fig 85: Identifying Rear Power Seat Rearmost Lock Position
        G04952508Courtesy of © TOYOTA, LICENSE AGREEMENT TMS1002
      4. Use the Ottoman* operation to move the rear power seat to the lowermost lock position (buzzer sounds for 0.1 seconds).
        Fig 86: Identifying Rear Power Seat Lowermost Lock Position
        G04952509Courtesy of © TOYOTA, LICENSE AGREEMENT TMS1002
      5. Use the upper lumbar operation to move the upper seatback to the rearmost lock position (buzzer sounds for 0.5 seconds). The initialization is complete.
      6. Operate the power seat switch and check that the seat slides forward and rearward and that the beeping sound is not emitted.

        HINT.

        Fig 87: Identifying Upper Seatback Rearmost Lock Position
        G04952510Courtesy of © TOYOTA, LICENSE AGREEMENT TMS1002
        • After performing all of the procedures above, if the buzzer sounds while performing a manual operation, perform the front power seat initialization for the front passenger seat*.
        • After performing all of the procedures above, if the buzzer sounds while performing a manual operation, the initialization was not completed properly. Repeat all of the above procedures.
  71. RESET POWER TRUNK LID SYSTEM 
    NOTE: Perform initialization of the power trunk lid system (power trunk lid control ECU initialization) if one of the following is performed: 1) The negative (-) battery cable is disconnected; 2) a wire harness, the luggage closer motor (power trunk lid control ECU) or luggage compartment door closer is replaced or removed/installed; or 3) the RR MPX-B1 fuse is replaced or removed/installed. If initialization is not performed, the power trunk lid system will not operate.
    1. Completely close the luggage compartment door by hand once.

      HINT:

      • It is not necessary to perform initialization if the negative (-) battery cable is disconnected while the luggage compartment door is closed.
      • If the power trunk lid system does not operate and/or the luggage compartment door does not open, disconnect the negative (-) battery cable. Then wait 10 seconds, reconnect the cable and perform initialization of the power trunk lid system again
  72. RESET REAR DOOR SUNSHADE SYSTEM 
    NOTE: The rear curtain position reset operation must be performed when one of the following occurs: 1) battery removal and installation; 2) ECU reset; or 3) jam protection related detachment.
    1. Turn the power switch ON (IG).
    2. Push the front or rear switch's rear door sunshade switch.

      HINT:

      The motor must be moved in the lowering direction

    3. Push the front or rear switch's rear door sunshade switch

      HINT:

      Make sure that the rear curtain raises.

  73. RESET REAR DOOR SUNSHADE POSITION AFTER DETACHMENT 
    NOTE:
    • If the curtain is operating and detaches as a result of the jam protection function, the motor must be operated in the raise direction in order to return it to normal.
    • If the motor is not returned to normal, the cover may not close properly during the lowering operation.
    1. After the rear curtain stops at the fully raised position, continue holding the switch for 5 seconds. Stopped → Raising → Stopped at fully raised position → 5 seconds.
  74. INITIALIZE SLIDING ROOF DRIVE GEAR 
    NOTE:
    • When the sliding roof glass is replaced or removed and installed, or the drive gear assembly is replaced, the sliding roof drive gear requires initialization (pulse sensor initial position setting), as the glass position cannot be determined. If initialization is not performed, the AUTO slide open and close / tilt up and down function may not operate, or the sliding roof may move in reverse or become misaligned.
    • During initialization, do not apply a physical shock, such as opening/closing a door or driving the vehicle at 5 km/h (3.10 mph) or more, to the vehicle and do not perform the following electrical operations:
      1. Starting the hybrid control system (cranking the engine)
      2. Turning the power switch from ON (IG) to OFF
      3. Operating the power window switches
      4. Operating the window defogger switch
      5. Operating the blower switch
      6. Locking/Unlocking the door
      7. Operating the headlight dimmer switch

    HINT

    When the cable is disconnected and reconnected to the negative (-) battery terminal or the drive gear connector is disconnected and reconnected, the sliding roof drive gear (pulse sensor initial position setting) initialization is not necessary

    1. Perform initialization according to the table below.
      SLIDING ROOF PROCEDURES

      Condition of Sliding Roof Proceed to
      AUTO slide open and close / tilt up and down function does not operate Procedure A
      Sliding roof moves in reverse direction during tilt down operation Procedure B
      Sliding roof moves in reverse direction during slide close operation Procedure C
      1. Procedure A
        1. Turn the power switch ON (IG).
        2. Close the sliding roof to the fully closed position.
        3. Press and hold the TILT UP switch to perform the following operations: tilt up → approximately 1 second pause → tilt down → slide open → slide close.
          NOTE: Make sure not to release the switch during the initialization. If the switch is released, perform the initialization again.
        4. The initialization is completed.
      2. Procedure B
        1. Turn the power switch ON (IG)
        2. Press the TILT UP switch until the sliding roof stops.

          HINT:

          If the glass becomes misaligned or does not fully tilt up, perform the following operations.

          1. Operate the SLIDE CLOSE switch until the sliding roof stops moving.
          2. Operate the TILT UP switch until the sliding roof stops moving, then proceed to the next step
        3. Release the switch
        4. Press the TILT UP switch for 10 seconds or more to perform the following operations: tilt up → approximately 1 second pause → tilt down → slide open → slide close.
          NOTE: Make sure not to release the switch during the initialization. If the switch is released, perform the initialization again.
        5. The initialization is completed.
      3. Procedure C
        1. Turn the power switch ON (IG)
        2. Press and hold the SLIDE CLOSE switch to perform the following operations. slide close → move in reverse direction → 10 second pause → slide close
          NOTE: Make sure not to release the switch during the initialization. If the switch is released, perform the initialization again.
        3. After the sliding roof stops in the fully closed position, release the switch.
        4. Perform procedure A.