LEMON Manuals: Even more car manuals for everyone
Home >> Lexus >> 2008 >> LS 460L >> Repair and Diagnosis (Single Page) >> Accessories & Equipment >> Communication Devices >> Can Communication - System Mode Diagnostics, Bus Line Diagnostics >> Skid Control ECU Communication Stop Mode >> Wiring Diagram

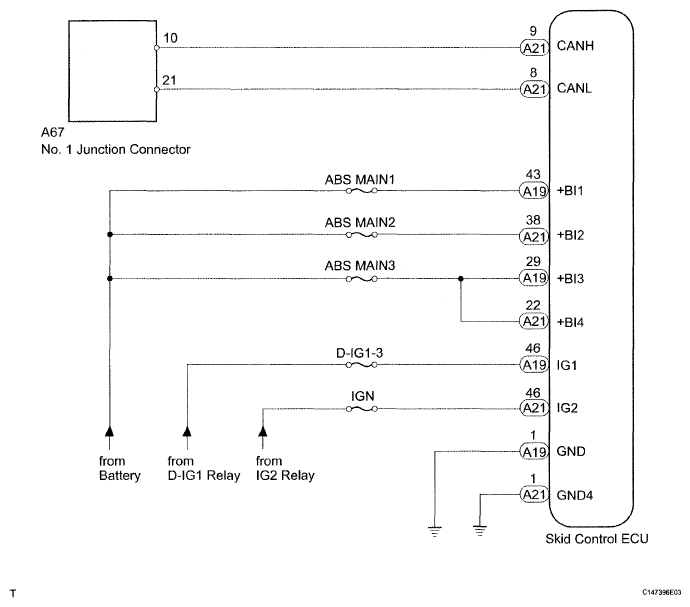
Skid Control ECU Communication Stop Mode: Wiring Diagram

Fig 1: Skid Control ECU Communication Stop Mode - Wiring Diagram
G04953625Courtesy of © TOYOTA, LICENSE AGREEMENT TMS1002