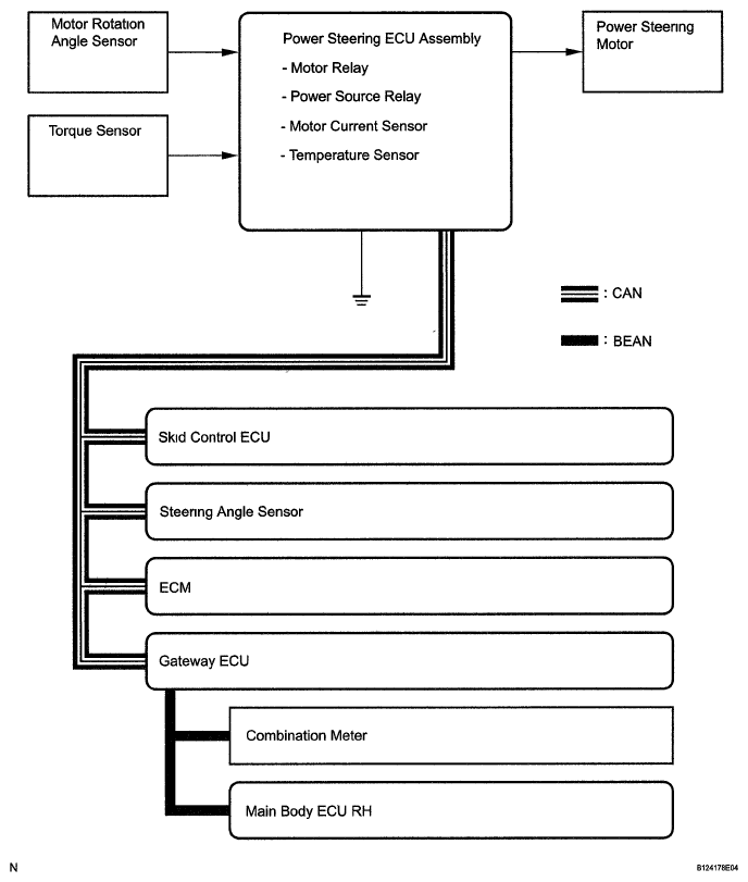
System Diagram
TRANSMITTING ECU
| Transmitting ECU (transmitter) | Receiving ECU | Signal | Communication Method |
|---|---|---|---|
| ECM | Power Steering ECU Assembly | T/M variation information signal | CAN |
| ECM | Power Steering ECU Assembly | Engine speed signal | CAN |
| ECM | Power Steering ECU Assembly | Ambient temperature signal | CAN |
| ECM | Power Steering ECU Assembly | Intake air temperature signal | CAN |
| ECM | Power Steering ECU Assembly | Engine variation information signal | CAN |
| ECM | Power Steering ECU Assembly | Vehicle destination information signal | CAN |
| ECM | Power Steering ECU Assembly | TC terminal condition | CAN |
| Skid Control ECU | Power Steering ECU Assembly | Output command value (to EPS) signal | CAN |
| Skid Control ECU | Power Steering ECU Assembly | Additional torque target signal | CAN |
| Skid Control ECU | Power Steering ECU Assembly | Vehicle speed (SP1) status signal | CAN |
| Skid Control ECU | Power Steering ECU Assembly | Target steering angle signal | CAN |
| Skid Control ECU | Power Steering ECU Assembly | Target steering angle and additional torque valid signal | CAN |
| Skid Control ECU | Power Steering ECU Assembly | Vehicle speed (SP1) signal | CAN |
| Skid Control ECU | Power Steering ECU Assembly | Test mode signal | CAN |
| Skid Control ECU | Power Steering ECU Assembly | VSC controlling signal | CAN |
| Skid Control ECU | Power Steering ECU Assembly | ABS controlling signal | CAN |
| Steering Angle Sensor | Power Steering ECU Assembly | Data continuity (valid/invalid) signal | CAN |
| Steering Angle Sensor | Power Steering ECU Assembly | +B open circuit signal | CAN |
| Steering Angle Sensor | Power Steering ECU Assembly | Sensor malfunction signal | CAN |
| Steering Angle Sensor | Power Steering ECU Assembly | Steering angle signal | CAN |
| Steering Angle Sensor | Power Steering ECU Assembly | Zero point memory (in sensor) valid/invalid signal | CAN |
| Steering Angle Sensor | Power Steering ECU Assembly | Zero point (stored m steering angle sensor) signal | CAN |
| Main body ECU RH | Power Steering ECU Assembly | Vehicle model signal | BEAN, CAN |
| Power Steering ECU Assembly | Skid Control ECU | EPS pinion angle invalid signal | CAN |
| Power Steering ECU Assembly | Skid Control ECU | EPS assisting current invalid signal | CAN |
| Power Steering ECU Assembly | Skid Control ECU | EPS torque sensor value invalid signal | CAN |
| Power Steering ECU Assembly | ECM | EPS idle up request signal | CAN |
| Power Steering ECU Assembly | Skid Control ECU | EPS torque sensor value signal | CAN |
| Power Steering ECU Assembly | Skid Control ECU | EPS pinion angle signal | CAN |
| Power Steering ECU Assembly | Skid Control ECU | EPS assisting current signal | CAN |
| Power Steering ECU Assembly | Combination Meter | EPS light ON request signal | BEAN, CAN |
| Power Steering ECU Assembly | Combination Meter | EPS diagnostic information signal | BEAN, CAN |