LEMON Manuals: Even more car manuals for everyone
Home >> Lexus >> 2008 >> IS F >> Repair and Diagnosis (Single Page) >> Brakes >> Brakes Control Systems >> Brake Control / Dynamic Control Systems >> Vehicle Stability Control System >> System Diagram

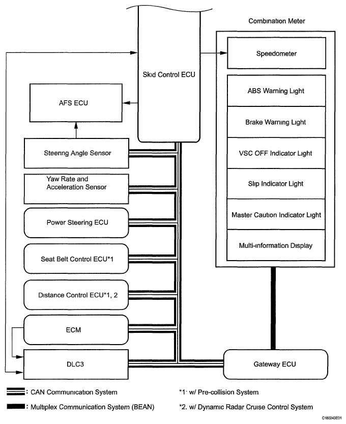
System Diagram

Fig 1: Brake Control / Dynamic Control System Diagram (1 Of 2)
G05752526Courtesy of © TOYOTA, LICENSE AGREEMENT TMS1002
Fig 2: Brake Control / Dynamic Control System Diagram (2 Of 2)
G05752527Courtesy of © TOYOTA, LICENSE AGREEMENT TMS1002
SIGNAL REFERENCE

Transmission ECU (Transmitter) Receiving ECU Signal Communication Method
Skid control ECU Yaw rate and acceleration sensor Yaw rate and acceleration request signal CAN communication system
Yaw rate and acceleration sensor Skid control ECU Yaw rate and acceleration signal CAN communication system
Skid control ECU Steering angle sensor Steering angle sensor request signal CAN communication system
Steering angle sensor Skid control ECU Steering angle sensor signal CAN communication system
Skid control ECU ECM
  • Wheel speed signal
  • VSC data signal
CAN communication system
ECM Skid control ECU
  • Shift position signal
  • Throttle position signal
  • Engine speed signal
  • Intake air temperature signal
  • Engine torque request signal
  • Hill-start assist control prohibit request signal
  • Accelerator pedal position signal
  • Sport mode total control signal
CAN communication system
Skid control ECU Gateway ECU
  • ABS warning light signal
  • Brake warning light signal
  • VSC OFF indicator light signal
  • Slip indicator light signal
  • Master caution indicator light signal
  • Multi-information display signal
CAN communication system
Skid control ECU Power steering ECU
  • Target steering angle signal
  • Target relative angle signal
CAN communication system
Power steering ECU Skid control ECU Electronic power steering cooperative control enabling signal CAN communication system
Skid control ECU Seat belt control ECU(1) Seat belt operation signal CAN communication system
Distance control ECU(1), (2) Skid control ECU Brake control request signal CAN communication system
(1) Models with pre-collision system
(2) Models with dynamic radar cruise control system