LEMON Manuals: Even more car manuals for everyone
Home >> Lexus >> 2008 >> IS 350 >> Repair and Diagnosis >> Engine Performance >> Engine Control Systems >> Engine Control System (2GR-FSE) - System And Component Testing, On-Vehicle Inspection, Removal, Inspection & Installation >> Fuel Pump Relay >> On-Vehicle Inspection

On-Vehicle Inspection

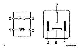
  1. INSPECT FUEL PUMP RELAY (Marking: F/PMP) 
    1. Remove the No. 2 relay block cover.
    2. Remove the fuel pump from the engine room No. 2 junction block.
      Fig 1: Identifying Terminals Of Fuel Pump Relay Terminals
      G05285813Courtesy of © TOYOTA, LICENSE AGREEMENT TMS1002
    3. Measure the fuel pump relay resistance.

      Standard resistance 

      TERMINALS RESISTANCE REFERENCE

      Tester Condition Specified Condition
      1 - 2 63 to 91 Ω
      3 - 5 Below 1 Ω
      3 - 5 10 kΩ or higher (when battery voltage is applied to terminals 1 and 2)
    4. Reinstall the fuel pump relay to the engine room No. 2 relay block.
    5. Reinstall the No. 2 junction block cover.