LEMON Manuals: Even more car manuals for everyone
Home >> Lexus >> 2008 >> ES 350 >> Repair and Diagnosis >> Engine Performance >> System >> Engine Control System - System & Component Testing, Removal, Inspection & Installation >> ACIS Control Circuit >> Wiring Diagram

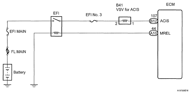
ACIS Control Circuit: Wiring Diagram

Fig 1: ACIS Control - Wiring Diagram
G05835591Courtesy of © TOYOTA, LICENSE AGREEMENT TMS1002