LEMON Manuals: Even more car manuals for everyone
Home >> Lexus >> 2008 >> ES 350 >> Repair and Diagnosis (Single Page) >> Engine Performance >> System >> Engine Control System - Diagnostic Codes (2 Of 4) >> DTC P0121 Throttle / Pedal Position Sensor / Switch "A" Circuit Range / Performance Problem >> Description

DTC P0121 Throttle / Pedal Position Sensor / Switch "A" Circuit Range / Performance Problem: Description

HINT:

This ETC (Electrical Throttle Control System) does not use a throttle cable.

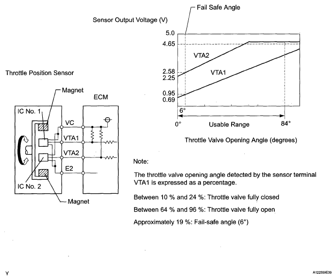
The Throttle Position (TP) sensor is mounted on the throttle body, and detects the opening angle of the throttle valve. This sensor is a non-contact type, and uses Hall-effect elements, in order to yield accurate signals, even in extreme driving conditions, such as at high speeds as well as very low speeds.

The TP sensor has two sensor circuits which each transmits a signal, VTA1 and VTA2. VTA1 is used to detect the throttle valve angle and VTA2 is used to detect malfunctions in VTA1. The sensor signal voltages vary between 0 V and 5 V in proportion to the throttle valve opening angle, and are transmitted to the VTA terminals of the ECM.

As the valve closes, the sensor output voltage decreases and as the valve opens, the sensor output voltage increases. The ECM calculates the throttle valve opening angle according to these signals and controls the throttle actuator in response to driver inputs. These signals are also used in calculations such as air-fuel ratio correction, power increase correction and fuel-cut control.

Fig 1: Throttle Pedal Position Sensor Output Voltage Graph
G05558674Courtesy of © TOYOTA, LICENSE AGREEMENT TMS1002

HINT:

This DTC relates to the Throttle Position (TP) sensor.

DTC DETECTION CONDITION CHART

DTC No. DTC Detection Condition Trouble Area
P0121 Difference between VTA1 and VTA2 voltages is less than 0 8 V, or more than 1 6 V for 2 seconds (1 trip detection logic) TP sensor (built into throttle body)