LEMON Manuals: Even more car manuals for everyone
Home >> Lexus >> 2007 >> SC 430 >> Repair and Diagnosis >> Engine Performance >> Ignition System >> Ignition >> Ignition System >> System Diagram

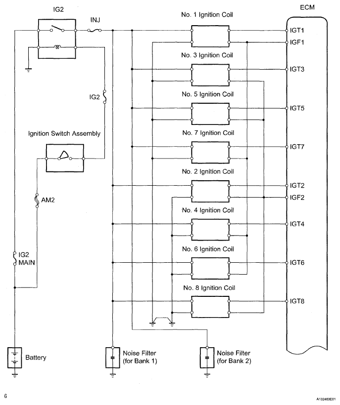
System Diagram

Fig 1: Ignition System Diagram (1 Of 2)
G05289418Courtesy of © TOYOTA, LICENSE AGREEMENT TMS1002
Fig 2: Ignition System Diagram (2 Of 2)
G05289419Courtesy of © TOYOTA, LICENSE AGREEMENT TMS1002