LEMON Manuals: Even more car manuals for everyone
Home >> Lexus >> 2007 >> SC 430 >> Repair and Diagnosis >> Engine Performance >> Engine Control System >> SFI System >> IACV Control Circuit >> Wiring Diagram

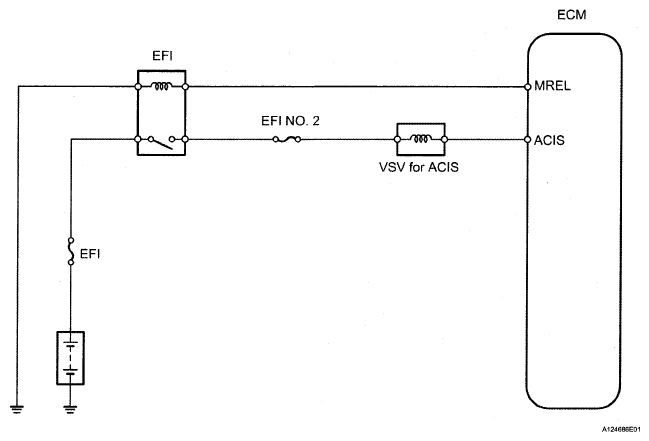
IACV Control Circuit: Wiring Diagram

Fig 1: IACV Control Circuit - Wiring Diagram
G05291558Courtesy of © TOYOTA, LICENSE AGREEMENT TMS1002